TOP
|
特許
|
意匠
|
商標
特許ウォッチ
Twitter
他の特許を見る
公開番号
2025144571
公報種別
公開特許公報(A)
公開日
2025-10-03
出願番号
2024043645
出願日
2024-03-19
発明の名称
波長可変レーザ装置及びその構成方法
出願人
日本電気株式会社
代理人
個人
主分類
H01S
5/14 20060101AFI20250925BHJP(基本的電気素子)
要約
【課題】簡易な構成にて波長可変レーザ装置の小型化を実現する。
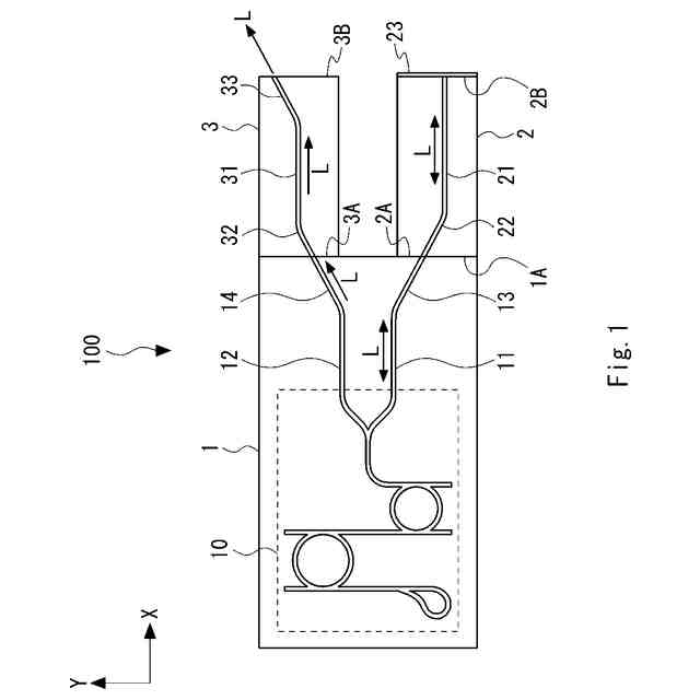
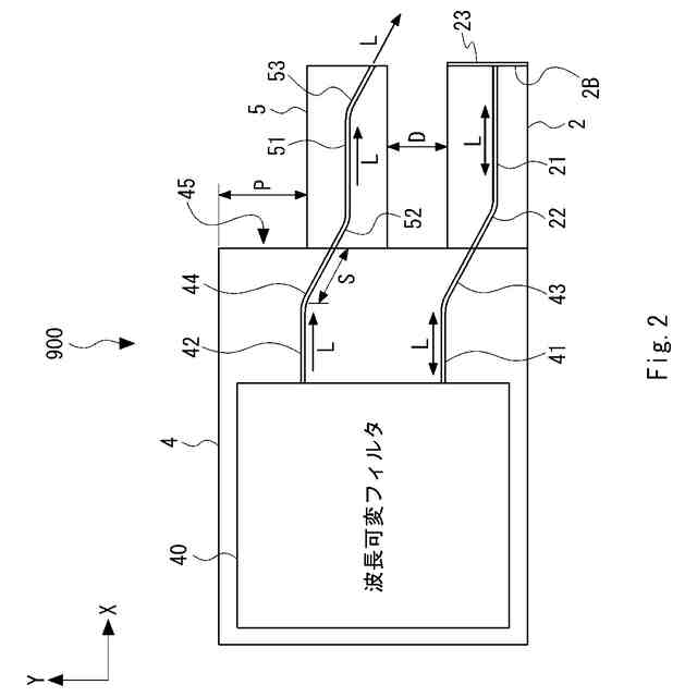
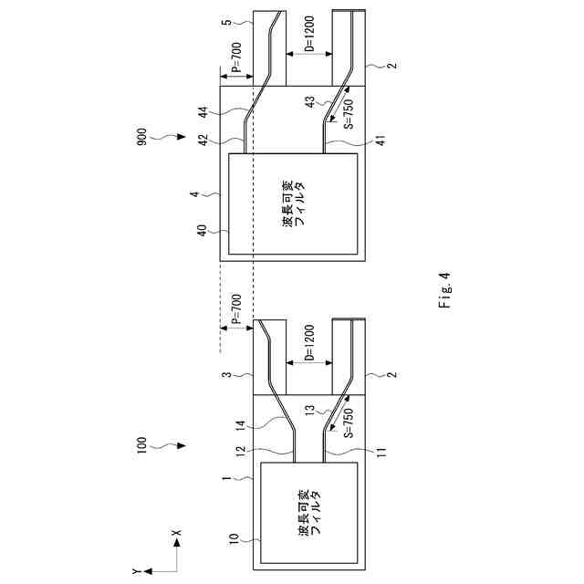
【解決手段】波長可変光共振器は、波長可変フィルタを有し、波長可変フィルタから第1の端面へ向けて互いに離隔するように第1の端面に対して傾斜して設けられた部分を含む第1及び第2の導波路を有する。第1の光増幅器は、第1の端面に面した第2の端面と、反射手段が設けられた第2の端面と対向する第3の端面と、の間に設けられ、第1の導波路と同軸となるように第2の端面に対して傾斜して第2の端面から延在する部分を含む、活性領域を含む第3の導波路を有する。第2の光増幅器は、波長可変フィルタによって所望の波長に調整されたレーザ光が、第1の端面に面した第4の端面を介して、第2の導波路と同軸となるように第4の端面に対して傾斜して第4の端面から延在する部分を含む第4の導波路に入力され、第4の導波路を伝搬するレーザ光を増幅する。
【選択図】図1
特許請求の範囲
【請求項1】
出力する光の波長を調整可能な波長可変フィルタを有し、前記波長可変フィルタから第1の端面へ向けて互いに離隔するように前記第1の端面に対して傾斜して設けられた部分を含む第1及び第2の導波路を有する波長可変光共振器と、
前記第1の端面に面した第2の端面と、反射手段が設けられた前記第2の端面と対向する第3の端面と、の間に設けられ、前記第1の導波路と同軸となるように前記第2の端面に対して傾斜して前記第2の端面から延在する部分を含む、活性領域を含む第3の導波路を有する第1の光増幅器と、
前記波長可変フィルタと前記反射手段との間に構成される共振器により発振した前記波長可変フィルタによって所望の波長に調整されたレーザ光が、前記第1の端面に面した第4の端面を介して、前記第2の導波路と同軸となるように前記第4の端面に対して傾斜して前記第4の端面から延在する部分を含む第4の導波路に入力され、前記第4の導波路を伝搬する前記レーザ光を増幅する第2の光増幅器と、を備える、
波長可変レーザ装置。
続きを表示(約 1,500 文字)
【請求項2】
前記第1の導波路は、前記第1の端面に対して前記端面と平行な第1の方向に傾斜し、
前記第2の導波路は、前記第1の方向と反対の第2の方向に傾斜している、
請求項1に記載の波長可変レーザ装置。
【請求項3】
前記第1の導波路と前記第2の導波路とは、前記第1の端面に垂直な軸を挟んで対称になるように配置される、
請求項2に記載の波長可変レーザ装置。
【請求項4】
前記第3の導波路の前記第2の端面に対して傾斜した前記部分と、前記第4の導波路の前記第4の端面に対して傾斜した前記部分とは、前記第1の端面に垂直な軸を挟んで対称になるように配置される、
請求項1又は2に記載の波長可変レーザ装置。
【請求項5】
前記第3の導波路は、前記第2の端面に対して傾斜した第1の部分と、前記第1の部分と前記第3の端面との間で前記第3の端面と垂直な方向に延在する第2の部分と、含む、
請求項1又は2に記載の波長可変レーザ装置。
【請求項6】
前記第4の導波路は、前記第4の端面に対して傾斜した第3の部分と、
前記第3の部分から前記第4の端面と垂直な方向に延在する第4の部分と、
前記第4の部分から前記第4の端面と対向する第5の端面へ向けて、前記第5の端面に対して傾斜して延在する第5の部分と、を含み、
前記第5の部分から前記第5の端面を介して、前記レーザ光が出射する、
請求項1又は2に記載の波長可変レーザ装置。
【請求項7】
前記第3の部分と前記第5の部分とは、前記第4の端面及び前記第5の端面に対して同じ方向に傾斜している、
請求項6に記載の波長可変レーザ装置。
【請求項8】
前記第1の導波路は、前記第1の端面に対して傾斜した第6の部分と、前記第6の部分と前記波長可変フィルタとの間で前記第1の端面と垂直な方向に延在する第7の部分と、を含み、
前記第2の導波路は、前記第1の端面に対して傾斜した第8の部分と、前記第8の部分と前記波長可変フィルタとの間で前記第1の端面と垂直な方向に延在する第9の部分と、を含む、
請求項1又は2に記載の波長可変レーザ装置。
【請求項9】
前記反射手段は、前記第3の導波路から入射した光を反射する全反射ミラーである、
請求項1又は2に記載の波長可変レーザ装置。
【請求項10】
出力する光の波長を調整可能な波長可変フィルタを有し、前記波長可変フィルタから第1の端面へ向けて互いに離隔するように前記第1の端面に対して傾斜して設けられた部分を含む第1及び第2の導波路を有する波長可変光共振器を設け、
前記第1の端面に面した第2の端面と、反射手段が設けられた前記第2の端面と対向する第3の端面と、の間に設けられ、前記第1の導波路と同軸となるように前記第2の端面に対して傾斜して前記第2の端面から延在する部分を含む、活性領域を含む第3の導波路を有する第1の光増幅器を設け、
前記波長可変フィルタと前記反射手段との間に構成される共振器により発振した前記波長可変フィルタによって所望の波長に調整されたレーザ光が、前記第1の端面に面した第4の端面を介して、前記第2の導波路と同軸となるように前記第4の端面に対して傾斜して前記第4の端面から延在する部分を含む第4の導波路に入力され、前記第4の導波路を伝搬する前記レーザ光を増幅する第2の光増幅器を設ける、
波長可変レーザ装置の構成方法。
発明の詳細な説明
【技術分野】
【0001】
本開示は、波長可変レーザ装置及びその構成方法に関する。
続きを表示(約 2,100 文字)
【背景技術】
【0002】
光通信においては、波長多重光信号による通信を行うにあたり、出力するレーザ光の波長を調整可能な波長可変レーザが用いられる。
【0003】
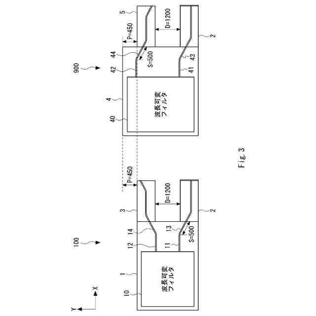
波長可変レーザは、外部共振器である波長可変フィルタチップと半導体光増幅器とを接続することで構成される。この場合、波長可変フィルタチップの導波路と半導体光増幅器の導波路とでは実効屈折率が異なるため、端面に対して垂直な導波路同士を接続すると反射が生じる。その結果、レーザ発振が不安定になる現象が生じる。そこで、反射の影響を抑制するため、特許文献1におけるように、反射の影響を最小化するように、端面に対して所定の角度だけ傾けた導波路同士を接続することが望ましい。
【0004】
また、波長可変レーザにおいては、レーザ発振の安定化と光出力の制御とをそれぞれ独立に行うことが求められる。そのため、非特許文献1におけるように、レーザ発振用の半導体光増幅器(SOA:Semiconductor Optical Amplifier)及び光出力用の半導体光増幅器(BOA: Booster Optical Amplifier)の2つの半導体光増幅器が、波長可変フィルタチップに接続される。この構成では、SOA、BOA及び波長可変フィルタチップが、導波方向に縦続接続されている。
【先行技術文献】
【特許文献】
【0005】
特開2023-108714号公報
【非特許文献】
【0006】
Naoki Kobayashi, et al., “Silicon Photonic Hybrid Ring-Filter External Cavity Wavelength Tunable Lasers”, Journal of Lightwave Technology, vol. 33, No. 6, March 15, 2015, pp. 1241-1246
【発明の概要】
【発明が解決しようとする課題】
【0007】
非特許文献1では、SOA、BOA及び波長可変フィルタチップが導波方向に縦続接続されるため、波長可変レーザの導波方向の寸法が長くなってしまう。そのため、波長可変レーザを小型化することが難しい。
【0008】
この問題を解消するため、波長可変フィルタチップの1つの端面に、SOAとBOAとを並べて配置する構成が考え得る。しかし、単にSOAとBOAとを同じ端面に並べて配置すると、SOA及びBOAの配列方向である端面と平行な方向の波長可変フィルタチップの寸法が大きくなってしまう。これにより、波長可変レーザ装置のSOA及びBOAの配列方向の寸法の小型化が制約されてしまう。
【課題を解決するための手段】
【0009】
本開示の一態様である波長可変レーザ装置は、出力する光の波長を調整可能な波長可変フィルタを有し、前記波長可変フィルタから第1の端面へ向けて互いに離隔するように前記第1の端面に対して傾斜して設けられた部分を含む第1及び第2の導波路を有する波長可変光共振器と、前記第1の端面に面した第2の端面と、反射手段が設けられた前記第2の端面と対向する第3の端面と、の間に設けられ、前記第1の導波路と同軸となるように前記第2の端面に対して傾斜して前記第2の端面から延在する部分を含む、活性領域を含む第3の導波路を有する第1の光増幅器と、前記波長可変フィルタと前記反射手段との間に構成される共振器により発振した前記波長可変フィルタによって所望の波長に調整されたレーザ光が、前記第1の端面に面した第4の端面を介して、前記第2の導波路と同軸となるように前記第4の端面に対して傾斜して前記第4の端面から延在する部分を含む第4の導波路に入力され、前記第4の導波路を伝搬する前記レーザ光を増幅する第2の光増幅器と、を備えるものである。
【0010】
本開示の一態様である波長可変レーザ装置の構成方法は、出力する光の波長を調整可能な波長可変フィルタを有し、前記波長可変フィルタから第1の端面へ向けて互いに離隔するように前記第1の端面に対して傾斜して設けられた部分を含む第1及び第2の導波路を有する波長可変光共振器を設け、前記第1の端面に面した第2の端面と、反射手段が設けられた前記第2の端面と対向する第3の端面と、の間に設けられ、前記第1の導波路と同軸となるように前記第2の端面に対して傾斜して前記第2の端面から延在する部分を含む、活性領域を含む第3の導波路を有する第1の光増幅器を設け、前記波長可変フィルタと前記反射手段との間に構成される共振器により発振した前記波長可変フィルタによって所望の波長に調整されたレーザ光が、前記第1の端面に面した第4の端面を介して、前記第2の導波路と同軸となるように前記第4の端面に対して傾斜して前記第4の端面から延在する部分を含む第4の導波路に入力され、前記第4の導波路を伝搬する前記レーザ光を増幅する第2の光増幅器を設けるものである。
【発明の効果】
(【0011】以降は省略されています)
この特許をJ-PlatPat(特許庁公式サイト)で参照する
関連特許
日本電気株式会社
送信装置および通信装置
今日
日本電気株式会社
通信装置および通信方法
今日
日本電気株式会社
分析方法および分析システム
1日前
日本電気株式会社
共振器及びそれを備えた導波回路
2日前
日本電気株式会社
推定装置、推定方法、及び、記録媒体
1日前
日本電気株式会社
波長可変レーザ装置及びその構成方法
今日
日本電気株式会社
注文端末、注文受付方法及びプログラム
今日
日本電気株式会社
通信装置、通信方法及び通信プログラム
1日前
日本電気株式会社
性能監視装置、性能監視方法、プログラム
今日
日本電気株式会社
通信システム、通信方法及び、プログラム
今日
日本電気株式会社
情報処理装置、情報処理方法、プログラム
2日前
日本電気株式会社
監視システム、監視方法、およびプログラム
1日前
日本電気株式会社
制御装置、車両、制御方法およびプログラム
1日前
日本電気株式会社
情報表示装置、情報表示方法及びプログラム
今日
日本電気株式会社
情報処理装置、情報処理方法及びプログラム
2日前
日本電気株式会社
部品挿入方法、制御装置、及び制御プログラム
今日
日本電気株式会社
情報処理装置、情報処理方法、及びプログラム
今日
日本電気株式会社
モデル学習装置、モデル学習方法、プログラム
1日前
日本電気株式会社
情報処理装置、分析方法、及び分析プログラム
2日前
日本電気株式会社
情報処理装置、情報処理方法、及びプログラム
今日
日本電気株式会社
情報処理システム、情報処理方法及びプログラム
1日前
日本電気株式会社
注文支援システム、注文支援方法及びプログラム
1日前
日本電気株式会社
暗号システム、暗号化方法、プログラム記録媒体
今日
日本電気株式会社
予兆検出システム、予兆検出方法及びプログラム
今日
日本電気株式会社
文書生成装置、文書生成方法、及び、プログラム
今日
日本電気株式会社
サーバ装置、サーバ装置の制御方法及びプログラム
今日
日本電気株式会社
通信システム、基地局装置、及び、通信システムの制御方法
今日
日本電気株式会社
サーバ、搬送体管理システム、搬送体管理方法及びプログラム
今日
日本電気株式会社
情報処理装置、情報処理システム、情報処理方法及び記録媒体
今日
日本電気株式会社
情報処理装置、情報処理システム、情報処理方法及び記録媒体
今日
日本電気株式会社
情報処理装置、要介護認定支援方法、及び要介護認定支援プログラム
1日前
日本電気株式会社
航路管理システム、航路設定装置、航路設定方法、およびプログラム
今日
日本電気株式会社
量子鍵配送システム、鍵管理装置、鍵管理方法、及び、制御プログラム
2日前
日本電気株式会社
マッチング支援装置、マッチング支援方法およびコンピュータプログラム
今日
日本電気株式会社
情報処理システム、情報処理装置、情報処理方法、及びコンピュータプログラム
今日
日本電気株式会社
装置、方法、およびプログラム
今日
続きを見る
他の特許を見る