TOP
|
特許
|
意匠
|
商標
特許ウォッチ
Twitter
他の特許を見る
10個以上の画像は省略されています。
公開番号
2025136881
公報種別
公開特許公報(A)
公開日
2025-09-19
出願番号
2024035797
出願日
2024-03-08
発明の名称
商品データ処理装置、及びプログラム
出願人
東芝テック株式会社
代理人
弁理士法人酒井国際特許事務所
主分類
G07G
1/01 20060101AFI20250911BHJP(チェック装置)
要約
【課題】顧客が自ら操作をする商品データ処理装置において、顧客に対して当該商品データ処理装置の使用を楽しむことができる操作体験を提供すること。
【解決手段】実施形態の商品データ処理装置は、制御手段と、取得手段と、音声出力手段と、出力手段とを備える。制御手段は、顧客の操作に基づいて少なくとも商品登録処理または会計処理のいずれかを実行する。取得手段は、顧客が購入する商品を識別する商品情報を取得する。音声出力手段は、商品情報の取得状況が規定の条件を満たさない場合は第1の音声、商品情報の取得状況が規定の条件を満たす場合は第1の音声とは異なる第2の音声を出力する。出力手段は、商品情報の取得状況が規定の条件を満たさない場合に規定の条件と現在の商品情報の取得状況との差分に関する情報を出力する、または、商品情報の取得状況が規定の条件を満たす場合に規定の条件を満たす商品に関する情報を出力する。
【選択図】図2
特許請求の範囲
【請求項1】
顧客の操作に基づいて少なくとも商品登録処理または会計処理のいずれかを実行する制御手段と、
前記顧客が購入する商品を識別する商品情報を取得する取得手段と、
前記商品情報の取得状況が規定の条件を満たさない場合は第1の音声、前記商品情報の取得状況が前記規定の条件を満たす場合は前記第1の音声とは異なる第2の音声を出力する音声出力手段と、
前記商品情報の取得状況が前記規定の条件を満たさない場合に前記規定の条件と現在の前記商品情報の取得状況との差分に関する情報を出力する、または、前記商品情報の取得状況が前記規定の条件を満たす場合に前記規定の条件を満たす商品に関する情報を出力する出力手段と、
を備える商品データ処理装置。
続きを表示(約 790 文字)
【請求項2】
前記規定の条件は、一取引において前記取得手段により前記商品情報が取得された商品の合計個数が規定の数であることである、
請求項1に記載の商品データ処理装置。
【請求項3】
前記規定の条件は、一取引において前記取得手段により前記商品情報が取得された商品の価格の合計が規定の値以上であることである、
請求項1に記載の商品データ処理装置。
【請求項4】
前記規定の条件は、前記取得手段により前記商品情報が取得された商品が規定の商品であることである、
請求項1に記載の商品データ処理装置。
【請求項5】
前記音声出力手段は、前記商品登録処理または前記会計処理の途中で、前記顧客による操作が規定の時間以上実行されない場合、前記第1の音声及び前記第2の音声とは異なる第3の音声を出力する、
請求項1から4のいずれか1項に記載の商品データ処理装置。
【請求項6】
顧客が購入する商品を識別する商品情報を取得する取得ステップと、
前記商品情報の取得状況が規定の条件を満たさない場合は第1の音声、前記商品情報の取得状況が前記規定の条件を満たす場合は前記第1の音声とは異なる第2の音声を出力する音声出力ステップと、
前記商品情報の取得状況が前記規定の条件を満たさない場合に前記規定の条件と現在の前記商品情報の取得状況との差分に関する情報を出力する、または、前記商品情報の取得状況が前記規定の条件を満たす場合に前記規定の条件を満たす商品に関する情報を出力する出力ステップと、
前記顧客の操作に基づいて少なくとも、前記商品情報が取得された商品に関する商品登録処理または会計処理のいずれかを実行する制御ステップと、
をコンピュータに実行させるためのプログラム。
発明の詳細な説明
【技術分野】
【0001】
本発明の実施形態は、商品データ処理装置、及びプログラムに関する。
続きを表示(約 2,300 文字)
【背景技術】
【0002】
近年、セルフPOS(Point Of Sales)端末のように顧客が自ら操作を行う商品データ処理装置の普及が進んでいる。このような商品データ処理装置により、店員業務の負荷軽減などの効果が生じている。
【0003】
しかしながら、顧客にとっては自ら操作をすることを要する商品データ処理装置の使用を億劫に感じる、またはこのような商品データ処理装置を使用するメリットが少ないと感じる可能性がある。顧客が自ら操作を行う商品データ処理装置の使用率の向上のため、このような商品データ処理装置を顧客が使用する動機づけの向上のニーズがある。
【発明の概要】
【発明が解決しようとする課題】
【0004】
本発明が解決しようとする課題は、顧客が自ら操作をする商品データ処理装置において、顧客に対して当該商品データ処理装置の使用を楽しむことができる操作体験を提供することができる商品データ処理装置、及びプログラムを提供することである。
【課題を解決するための手段】
【0005】
実施形態の商品データ処理装置は、制御手段と、取得手段と、音声出力手段と、出力手段とを備える。制御手段は、顧客の操作に基づいて少なくとも商品登録処理または会計処理のいずれかを実行する。取得手段は、顧客が購入する商品を識別する商品情報を取得する。音声出力手段は、商品情報の取得状況が規定の条件を満たさない場合は第1の音声、商品情報の取得状況が規定の条件を満たす場合は第1の音声とは異なる第2の音声を出力する。出力手段は、商品情報の取得状況が規定の条件を満たさない場合に規定の条件と現在の商品情報の取得状況との差分に関する情報を出力する、または、商品情報の取得状況が規定の条件を満たす場合に規定の条件を満たす商品に関する情報を出力する。
【図面の簡単な説明】
【0006】
図1は、第1の実施形態に係るセルフPOS端末の外観の一例を示す正面図である。
図2は、第1の実施形態に係るセルフPOS端末のハードウェア構成の一例を示す図である。
図3は、第1の実施形態に係るセルフPOS端末の機能構成の一例を示す図である。
図4は、第1の実施形態に係る商品登録画面の初期表示状態及び音声メッセージの一例を示す図である。
図5は、第1の実施形態に係る規定の条件が満たされていない場合における商品登録画面及び音声メッセージの一例を示す図である。
図6は、第1の実施形態に係る規定の条件が満たされた場合における商品登録画面及び音声メッセージの一例を示す図である。
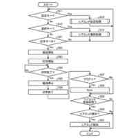
図7は、第1の実施形態に係る商品登録処理の流れの一例を示すフローチャートである。
図8は、第2の実施形態に係る規定の条件が満たされていない場合における商品登録画面及び音声メッセージの一例を示す図である。
図9は、第2の実施形態に係る規定の条件が満たされた場合における商品登録画面及び音声メッセージの一例を示す図である。
図10は、第2の実施形態に係る商品登録処理の流れの一例を示すフローチャートである。
図11は、第3の実施形態に係る規定の条件が満たされた場合における商品登録画面800及び音声メッセージの一例を示す図である。
図12は、第3の実施形態に係る商品マスタの構成の一例を示す図である。
図13は、第3の実施形態に係る商品登録処理の流れの一例を示すフローチャートである。
図14は、変形例1に係る商品マスタの構成の一例を示す図である。
図15は、変形例3に係る警告音声の出力の一例を示す図である。
図16は、変形例4に係る商品登録画面の一例を示す図である。
図17は、変形例5に係る商品登録処理のスタート画面の一例を示す図である。
図18は、変形例5に係る顧客がキャラクターまたは人物を選択可能な選択画面の一例を示す図である。
図19は、変形例5に係る選択されたキャラクターに対応する画像及び音声の出力の一例を示す図である。
【発明を実施するための形態】
【0007】
以下、図面を参照して、商品データ処理装置及びプログラムに関する実施形態について詳細に説明する。なお、以下に説明する実施形態によりこの発明が限定されるものではない。
【0008】
(第1の実施形態)
図1は、第1の実施形態に係るセルフPOS端末1の外観の一例を示す正面図である。セルフPOS端末1は、本実施形態に係る商品データ処理装置の一例である。セルフPOS(Point Of Sales)端末1は、顧客の操作に基づいて商品登録処理及び会計処理を実行するPOS端末である。
【0009】
図1に示すように、セルフPOS端末1は、例えば縦長の略直方体形状を有し、第1筐体2と第2筐体3とを備える。第1筐体2は、略直方体形状の下段側に位置し、入出金部4を内部に収納する。入出金部4は、後述する制御部の制御の下、顧客から預かった金銭を入金し、顧客に払い出す釣銭を出金する。
【0010】
第2筐体3は、略直方体形状の上段側に位置し、後述する制御部を内部に収納する。また、第2筐体3は、ユーザが操作するインタフェースとして、コード読取部5と、カード読取部6と、印字部7とを備える。
(【0011】以降は省略されています)
この特許をJ-PlatPat(特許庁公式サイト)で参照する
関連特許
東芝テック株式会社
プリンタ
2日前
東芝テック株式会社
通信装置
24日前
東芝テック株式会社
読取装置
24日前
東芝テック株式会社
商品登録装置
10日前
東芝テック株式会社
プリンタ装置
2日前
東芝テック株式会社
画像形成装置
4日前
東芝テック株式会社
プリンタ装置
2日前
東芝テック株式会社
情報処理システム
16日前
東芝テック株式会社
業務支援システム
24日前
東芝テック株式会社
情報処理システム
16日前
東芝テック株式会社
情報処理システム
16日前
東芝テック株式会社
接客支援システム
16日前
東芝テック株式会社
情報処理装置及びシステム
3日前
東芝テック株式会社
プリンタおよびプログラム
24日前
東芝テック株式会社
情報処理装置及びプログラム
16日前
東芝テック株式会社
情報処理装置及びプログラム
16日前
東芝テック株式会社
情報処理装置及びプログラム
16日前
東芝テック株式会社
情報端末及びそのプログラム
16日前
東芝テック株式会社
業務支援装置及びプログラム
24日前
東芝テック株式会社
業務支援装置及びプログラム
24日前
東芝テック株式会社
業務支援装置及びプログラム
24日前
東芝テック株式会社
業務支援装置及びプログラム
24日前
東芝テック株式会社
情報処理装置及びプログラム
2日前
東芝テック株式会社
信号入出力装置および障害通知方法
6日前
東芝テック株式会社
質問応答装置、方法及びプログラム
6日前
東芝テック株式会社
POS端末、切替方法及びプログラム
16日前
東芝テック株式会社
商品データ処理装置、及びプログラム
16日前
東芝テック株式会社
販売データ処理装置およびプログラム
24日前
東芝テック株式会社
商品データ処理装置、及びプログラム
16日前
東芝テック株式会社
読取装置、プログラムおよびシステム
6日前
東芝テック株式会社
取引処理装置及び情報処理プログラム
10日前
東芝テック株式会社
買物支援システム及び買物支援サーバ
10日前
東芝テック株式会社
商品登録装置、及び情報処理プログラム
2日前
東芝テック株式会社
データベース更新装置及びそのプログラム
16日前
東芝テック株式会社
商品販売データ処理装置及びそのプログラム
3日前
東芝テック株式会社
商品受渡システム、店員端末およびプログラム
10日前
続きを見る
他の特許を見る