TOP
|
特許
|
意匠
|
商標
特許ウォッチ
Twitter
他の特許を見る
10個以上の画像は省略されています。
公開番号
2025144269
公報種別
公開特許公報(A)
公開日
2025-10-02
出願番号
2024043967
出願日
2024-03-19
発明の名称
情報処理装置及びシステム
出願人
東芝テック株式会社
代理人
弁理士法人酒井国際特許事務所
主分類
G06Q
30/0241 20230101AFI20250925BHJP(計算;計数)
要約
【課題】広告作成業務の負荷を低減させることができる情報処理装置及びシステムを提供すること。
【解決手段】実施形態の情報処理装置は、取得手段と、生成手段と、出力手段とを備える。取得手段はユーザからの広告作成指示を取得する。生成手段は広告作成指示と、商品の入荷予定に関する情報とに基づいて、商品の画像を含む広告を生成する。出力手段は生成された広告を出力する。取得手段は、出力された広告に対するユーザの修正指示を取得する。生成手段は、取得された修正指示に基づいて広告を修正する。出力手段は、修正された広告を出力する。
【選択図】図6
特許請求の範囲
【請求項1】
ユーザからの広告作成指示を取得する取得手段と、
前記広告作成指示と、商品の入荷予定に関する情報とに基づいて、前記商品の画像を含む広告を生成する生成手段と、
生成された前記広告を出力する出力手段と、を備え、
前記取得手段は、出力された前記広告に対する前記ユーザの修正指示を取得し、
前記生成手段は、取得された前記修正指示に基づいて前記広告を修正し、
前記出力手段は、修正された前記広告を出力する、
情報処理装置。
続きを表示(約 860 文字)
【請求項2】
前記広告作成指示は、少なくとも作成対象の前記広告の目的に関する情報を含み、
前記生成手段は、過去の前記広告の効果に関する情報に基づいて、前記目的に応じた前記広告を生成する、
請求項1に記載の情報処理装置。
【請求項3】
前記広告作成指示及び前記修正指示はテキスト形式のプロンプトであり、
前記生成手段は、対話形式で前記ユーザへの質問を生成し、当該質問への前記ユーザからの回答に従って前記広告を修正する、
請求項1または2に記載の情報処理装置。
【請求項4】
前記生成手段は、前記広告に掲載する商品及び販促文の少なくともいずれかの候補を決定し、
前記出力手段は、前記生成手段により決定された前記候補を、前記広告を編集可能な画像編集画面に出力させる、
請求項1または2に記載の情報処理装置。
【請求項5】
情報処理装置とユーザ端末とを含み、
前記情報処理装置は、
ユーザからの広告作成指示を前記ユーザ端末から取得する取得手段と、
前記広告作成指示と商品の入荷予定に関する情報とに基づいて、前記商品の画像を含む広告を生成する生成手段と、
生成された前記広告を前記ユーザ端末へ出力する出力手段と、を備え、
前記ユーザ端末は、
前記ユーザからの前記広告作成指示の入力を受ける入力手段と、
前記広告作成指示を前記情報処理装置に送信する送信手段と、
前記情報処理装置によって生成された前記広告を表示部に表示させる表示制御手段と、を備え、
前記情報処理装置の前記取得手段は、出力された前記広告に対する前記ユーザの修正指示を前記ユーザ端末から取得し、
前記情報処理装置の前記生成手段は、取得された前記修正指示に基づいて前記広告を修正し、
前記情報処理装置の前記出力手段は、修正された前記広告を前記ユーザ端末へ出力する、
システム。
発明の詳細な説明
【技術分野】
【0001】
本発明の実施形態は、情報処理装置及びシステムに関する。
続きを表示(約 2,200 文字)
【背景技術】
【0002】
近年のペーパーレス化の促進に伴う電子チラシ、ESL(Electronic Shelf Label、電子棚札)、電子サイネージ広告等の増加、及びチラシ、及び、ポップ等の店内掲示物の印刷コストの低下等により、広告作成数が増加する傾向にある。
【0003】
従来、広告作成においては画像編集ソフトが使用されることが一般的であるが、広告作成数の増加に伴い、ユーザの広告作成業務の負荷が高まっていた。
【発明の概要】
【発明が解決しようとする課題】
【0004】
本発明が解決しようとする課題は、広告作成業務の負荷を低減させることができる情報処理装置及びシステムを提供することである。
【課題を解決するための手段】
【0005】
実施形態の情報処理装置は、取得手段と、生成手段と、出力手段とを備える。取得手段はユーザからの広告作成指示を取得する。生成手段は広告作成指示と、商品の入荷予定に関する情報とに基づいて、商品の画像を含む広告を生成する。出力手段は生成された広告を出力する。取得手段は、出力された広告に対するユーザの修正指示を取得する。生成手段は、取得された修正指示に基づいて広告を修正する。出力手段は、修正された広告を出力する。
【図面の簡単な説明】
【0006】
図1は、第1の実施形態に係る広告作成支援システムの概略構成の一例を示す図である。
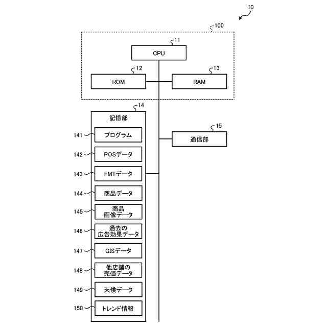
図2は、第1の実施形態に係る広告作成支援サーバのハードウェア構成の一例を示す図である。
図3は、第1の実施形態に係る商品データのデータ構成の一例を示す図である。
図4は、第1の実施形態に係る商品画像データのデータ構成の一例を示す図である。
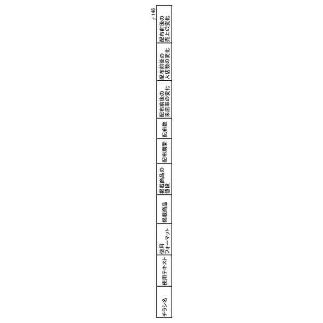
図5は、第1の実施形態に係る過去の広告効果データのデータ構成の一例を示す図である。
図6は、第1の実施形態に係る広告作成支援サーバの制御部によって実現される機能の一例を示す機能ブロック図である。
図7は、第1の実施形態に係る店舗端末のハードウェア構成の一例を示す図である。
図8は、第1の実施形態に係る店舗端末の制御部によって実現される機能の一例を示す機能ブロック図である。
図9は、第1の実施形態に係るユーザと広告作成支援システムとの相互のやり取りの一例を示す図である。
図10は、第1の実施形態に係るユーザと広告作成支援システムとの相互のやり取りの他の一例を示す図である。
図11は、第1の実施形態に係るユーザと広告作成支援システムとの相互のやり取りの他の一例を示す図である。
図12は、第1の実施形態に係るチラシの目的を追加する修正指示の一例を示す図である。
図13は、第1の実施形態に係る広告作成支援サーバで実行される広告作成支援の処理の流れの一例を示すフローチャートである。
図14は、第2の実施形態に係る広告作成支援サーバのハードウェア構成の一例を示す図である。
図15は、第2の実施形態に係るユーザと広告作成支援システムとの相互のやり取りの一例を示す図である。
図16は、第2の実施形態に係るユーザと広告作成支援システムとの相互のやり取りの他の一例を示す図である。
図17は、変形例1に係る画像編集画面の一例を示す図である。
【発明を実施するための形態】
【0007】
以下、添付図面を参照して、情報処理装置及びシステムの実施形態を説明する。なお、以下に説明する実施形態は、情報処理装置及びシステムの一実施形態であって、その構成や仕様等を限定するものではない。
【0008】
(第1の実施形態)
図1は、本実施形態に係る広告作成支援システム1の概略構成の一例を示す図である。広告作成支援システム1は、広告作成支援サーバ10及び店舗端末20を有する。広告作成支援システム1の各装置は、ネットワークNを介して通信可能に構成されている。広告作成支援システム1は、本実施形態におけるシステムの一例である。
【0009】
ネットワークNは、インターネット、VPN(virtual private network)、LAN(local area network)、公衆通信網、移動体通信網などを、単独又は適宜に組み合わせて用いることができる。ネットワークNとしては、一例として、インターネット及び移動体通信網が組み合わせて用いられる。なお、広告作成支援システムに含まれる装置の台数は、図示例に限らないものとする。
【0010】
広告作成支援サーバ10は、店舗端末20と連携して処理を行うことにより、ユーザによる広告作成作業を支援する。本実施形態の広告作成支援サーバ10は、例えば、ユーザによる広告作成指示に応じて広告のデザインを作成し、作成した広告に対するユーザの修正指示に応じて修正処理を実施する。本実施形態において広告作成支援サーバ10が作成生する広告は、一例として、紙媒体に印刷されるチラシである。広告作成支援サーバ10は、本実施形態における情報処理装置の一例である。
(【0011】以降は省略されています)
この特許をJ-PlatPat(特許庁公式サイト)で参照する
関連特許
東芝テック株式会社
プリンタ
2日前
東芝テック株式会社
プリンタ装置
2日前
東芝テック株式会社
画像形成装置
4日前
東芝テック株式会社
プリンタ装置
2日前
東芝テック株式会社
商品登録装置
10日前
東芝テック株式会社
情報処理装置及びシステム
3日前
東芝テック株式会社
情報処理装置及びプログラム
2日前
東芝テック株式会社
信号入出力装置および障害通知方法
6日前
東芝テック株式会社
質問応答装置、方法及びプログラム
6日前
東芝テック株式会社
読取装置、プログラムおよびシステム
6日前
東芝テック株式会社
買物支援システム及び買物支援サーバ
10日前
東芝テック株式会社
取引処理装置及び情報処理プログラム
10日前
東芝テック株式会社
商品登録装置、及び情報処理プログラム
2日前
東芝テック株式会社
商品販売データ処理装置及びそのプログラム
3日前
東芝テック株式会社
商品受渡システム、店員端末およびプログラム
10日前
東芝テック株式会社
商品販売支援システム、店員端末およびプログラム
10日前
東芝テック株式会社
情報処理装置、情報処理プログラム及び情報処理システム
2日前
東芝テック株式会社
画像形成装置
16日前
東芝テック株式会社
販売データ処理システム、販売データ処理装置およびプログラム
10日前
東芝テック株式会社
プリンタおよびプログラム
2日前
東芝テック株式会社
情報端末及びそのプログラム
5日前
東芝テック株式会社
ファームウェアパッケージ作成装置、ファームウェアパッケージ作成プログラム及びファームウェア更新システム
6日前
個人
裁判のAI化
2か月前
個人
情報処理システム
2か月前
個人
地球保全システム
4日前
個人
フラワーコートA
1か月前
個人
工程設計支援装置
1か月前
個人
検査システム
2か月前
個人
為替ポイント伊達夢貯
1か月前
個人
介護情報提供システム
2か月前
個人
冷凍食品輸出支援構造
1か月前
個人
表変換編集支援システム
24日前
個人
設計支援システム
2か月前
個人
設計支援システム
2か月前
個人
携帯情報端末装置
1か月前
キヤノン電子株式会社
携帯装置
2か月前
続きを見る
他の特許を見る