TOP
|
特許
|
意匠
|
商標
特許ウォッチ
Twitter
他の特許を見る
10個以上の画像は省略されています。
公開番号
2025136964
公報種別
公開特許公報(A)
公開日
2025-09-19
出願番号
2024035910
出願日
2024-03-08
発明の名称
情報処理装置及びプログラム
出願人
東芝テック株式会社
代理人
弁理士法人酒井国際特許事務所
主分類
G06Q
30/06 20230101AFI20250911BHJP(計算;計数)
要約
【課題】顧客に対する接客体験の向上を図ることができる情報処理装置及びプログラムを提供する。
【解決手段】実施形態の情報処理装置は、店舗に来店した顧客を特定する特定手段と、各顧客が過去に購入した購入商品に関する情報を記憶する記憶装置から、前記特定手段が特定した前記顧客の購入商品に関する情報を取得する取得手段と、前記取得手段が取得した前記購入商品に関する情報に基づき、前記店舗で販売する商品の中から前記顧客に提案する提案商品を導出する導出手段と、前記店舗に設けられた表示装置を介して、前記導出手段が導出した前記提案商品を選択可能な状態で前記顧客に提示する提示手段と、前記提案商品の中から商品の選択を受け付けると、選択された前記商品に関する情報を店員が携帯する端末に出力する出力手段と、を備える。
【選択図】図12
特許請求の範囲
【請求項1】
店舗に来店した顧客を特定する特定手段と、
各顧客が過去に購入した購入商品に関する情報を記憶する記憶装置から、前記特定手段が特定した前記顧客の購入商品に関する情報を取得する取得手段と、
前記取得手段が取得した前記購入商品に関する情報に基づき、前記店舗で販売する商品の中から前記顧客に提案する提案商品を導出する導出手段と、
前記店舗に設けられた表示装置を介して、前記導出手段が導出した前記提案商品を選択可能な状態で前記顧客に提示する提示手段と、
前記提案商品の中から商品の選択を受け付けると、選択された前記商品に関する情報を店員が携帯する端末に出力する出力手段と、
を備える情報処理装置。
続きを表示(約 800 文字)
【請求項2】
前記店舗に設けられた各試着室の状態を管理する管理手段を更に備え、
前記出力手段は、前記提案商品の中から商品の選択を受け付けると、選択された前記商品に関する情報と空室状態の試着室を指示した情報とを前記端末に出力する、
請求項1に記載の情報処理装置。
【請求項3】
前記管理手段は、前記出力手段が指示した前記試着室の状態を利用中に変更する、
請求項2に記載の情報処理装置。
【請求項4】
前記提示手段は、前記端末から前記試着室の準備が完了したことが通知されると、当該試着室の位置を示した情報を前記顧客に提示する、
請求項2に記載の情報処理装置。
【請求項5】
前記取得手段が取得した前記顧客の購入商品に関する情報に基づき、前記顧客の嗜好を表す嗜好情報を抽出する抽出手段を更に備え、
前記導出手段は、前記嗜好情報に基づいて、前記顧客に提案する商品を導出する、請求項1に記載の情報処理装置。
【請求項6】
情報処理装置のコンピュータを、
店舗に来店した顧客を特定する特定手段と、
各顧客が過去に購入した購入商品に関する情報を記憶する記憶装置から、前記特定手段が特定した前記顧客の購入商品に関する情報を取得する取得手段と、
前記取得手段が取得した前記購入商品に関する情報に基づき、前記店舗で販売する商品の中から前記顧客に提案する提案商品を導出する導出手段と、
前記店舗に設けられた表示装置を介して、前記導出手段が導出した前記提案商品を選択可能な状態で前記顧客に提示する提示手段と、
前記提案商品の中から商品の選択を受け付けると、選択された前記商品に関する情報を店員が携帯する端末に出力する出力手段と、
として機能させるためのプログラム。
発明の詳細な説明
【技術分野】
【0001】
本発明の実施形態は、情報処理装置及びプログラムに関する。
続きを表示(約 1,900 文字)
【背景技術】
【0002】
従来、アパレル店舗等の服飾を扱う小売店では、店員による接客が行われている。このような小売店では、店員が顧客の要望に応じて、顧客に適した服飾の組み合わせの提案を行っている(例えば、特許文献1)。言い換えるならば、顧客に対してパーソナライズされた接客体験の提供が行われている。
【0003】
しかしながら、店舗では、店員が顧客一人ひとりに対して十分な応対時間を確保することが困難な場合も多くある。このような場合、店舗ではパーソナライズされた接客体験を顧客に提供することができず、売上機会の損失の要因となる可能性があった。
【発明の概要】
【発明が解決しようとする課題】
【0004】
本発明が解決しようとする課題は、顧客に対する接客体験の向上を図ることができる情報処理装置及びプログラムを提供することである。
【課題を解決するための手段】
【0005】
実施形態の情報処理装置は、店舗に来店した顧客を特定する特定手段と、各顧客が過去に購入した購入商品に関する情報を記憶する記憶装置から、前記特定手段が特定した前記顧客の購入商品に関する情報を取得する取得手段と、前記取得手段が取得した前記購入商品に関する情報に基づき、前記店舗で販売する商品の中から前記顧客に提案する提案商品を導出する導出手段と、前記店舗に設けられた表示装置を介して、前記導出手段が導出した前記提案商品を選択可能な状態で前記顧客に提示する提示手段と、前記提案商品の中から商品の選択を受け付けると、選択された前記商品に関する情報を店員が携帯する端末に出力する出力手段と、を備える。
【図面の簡単な説明】
【0006】
図1は、実施形態に係る接客支援システムの概略構成を示す模式図である。
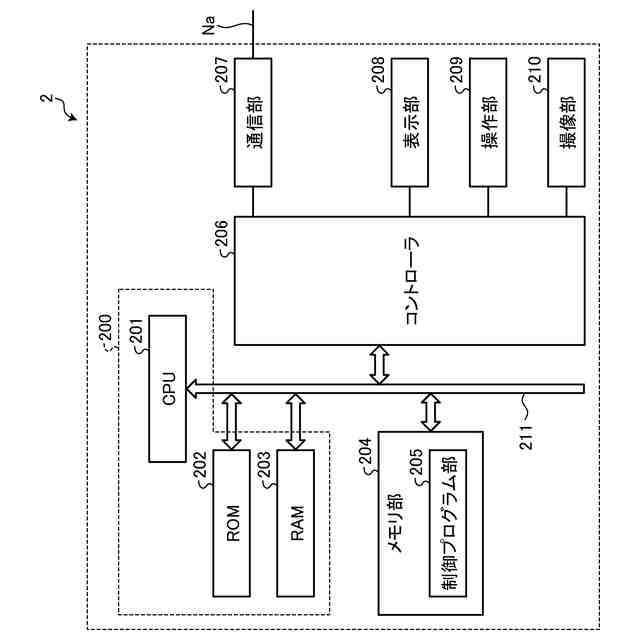
図2は、実施形態に係るミラーサイネージのハードウェア構成の一例を示すブロック図である。
図3は、実施形態に係る店舗サーバのハードウェア構成の一例を示すブロック図である。
図4は、実施形態に係る顧客情報DBのデータ構成の一例を示す図である。
図5は、実施形態に係る試着室管理DBのデータ構成の一例を示す図である。
図6は、実施形態に係る商品マスタのデータ構成の一例を示す図である。
図7は、実施形態に係るミラーサイネージの機能構成の一例を示すブロック図である。
図8は、実施形態に係るミラーサイネージに表示される画面の一例を示す図である。
図9は、実施形態に係るミラーサイネージに表示される画面の一例を示す図である。
図10は、実施形態に係るミラーサイネージに表示される画面の一例を示す図である。
図11は、実施形態に係る店舗サーバの機能構成の一例を示すブロック図である。
図12は、実施形態に係る接客支援システムの制御処理の一例を示すシーケンス図である。
【発明を実施するための形態】
【0007】
以下、図面を参照して、接客支援システム1の実施形態について説明する。以下に示す実施形態では、服飾品を販売するアパレル店(以下、店舗とも呼ぶ)に適用した例について説明するが、この実施形態に限定されるものではない。また、以下の実施形態によって本発明が限定されるものではなく、以下の実施形態における構成要素には、当業者が容易に想到できるもの、実質的に同一のもの、及びいわゆる均等の範囲のものが含まれる。さらに、以下の実施形態の要旨を逸脱しない範囲で構成要素の種々の省略、置換、変更および組み合わせを行うことができる。
【0008】
図1は、実施形態に係る接客支援システム1の概略構成を示す模式図である。接客支援システム1は、ミラーサイネージ2と、店舗サーバ3と、店員端末4と、Webサービスサーバ5とを有する。
【0009】
ミラーサイネージ2と店舗サーバ3とは、例えば、店舗等に設けられる。ミラーサイネージ2は、例えば、店舗の試着室、店舗の通路等に設置される。店舗サーバ3は、例えば店舗内又は店舗外のデータセンタ等に設けられる。
【0010】
ミラーサイネージ2と店舗サーバ3と店員端末4とは、LAN(Local Area Network)等のネットワークNaを介して互いに通信可能に接続されている。また、店舗サーバ3は、インターネット等のネットワークNbを介して、Webサービスサーバ5と通信可能に接続されている。なお、ネットワークNa、Nbに接続される各装置の台数は図示例に限定されないものとする。
(【0011】以降は省略されています)
この特許をJ-PlatPat(特許庁公式サイト)で参照する
関連特許
東芝テック株式会社
プリンタ
1日前
東芝テック株式会社
会計装置
2日前
東芝テック株式会社
プリンタ
6日前
東芝テック株式会社
プリンタ
1日前
東芝テック株式会社
プリンタ装置
6日前
東芝テック株式会社
プリンタ装置
6日前
東芝テック株式会社
画像形成装置
8日前
東芝テック株式会社
プリンタ装置
1日前
東芝テック株式会社
プリンタ装置
1日前
東芝テック株式会社
チェックアウトシステム
1日前
東芝テック株式会社
プリンタ及びプログラム
今日
東芝テック株式会社
情報処理装置及びシステム
7日前
東芝テック株式会社
販売時点における行動検出
1日前
東芝テック株式会社
プリンタ装置及びプログラム
1日前
東芝テック株式会社
情報処理装置及びプログラム
6日前
東芝テック株式会社
取引処理装置及びプログラム
2日前
東芝テック株式会社
取引処理装置及びプログラム
2日前
東芝テック株式会社
商品登録機器及び情報処理プログラム
1日前
東芝テック株式会社
収納代行処理装置及びそのプログラム
2日前
東芝テック株式会社
販売時点における物体分類および識別
1日前
東芝テック株式会社
販売時点情報管理アイテム予測及び検証
2日前
東芝テック株式会社
商品登録装置、及び情報処理プログラム
6日前
東芝テック株式会社
商品販売データ処理装置及びそのプログラム
7日前
東芝テック株式会社
レシート管理サーバ及びレシート管理システム
今日
東芝テック株式会社
レシート管理サーバ及びレシート管理システム
今日
東芝テック株式会社
取引処理システム、取引処理装置及びそのプログラム
1日前
東芝テック株式会社
情報処理装置、情報処理プログラム及び情報処理システム
6日前
東芝テック株式会社
ゲート装置、情報処理プログラム及びチェックアウトシステム
1日前
東芝テック株式会社
プリンタおよびプログラム
6日前
東芝テック株式会社
情報端末及びそのプログラム
9日前
東芝テック株式会社
トナーカートリッジ梱包用ブランク
3日前
東芝テック株式会社
データ処理装置及びデータ処理方法
2日前
個人
工程設計支援装置
1か月前
個人
地球保全システム
8日前
個人
フラワーコートA
2か月前
個人
為替ポイント伊達夢貯
1か月前
続きを見る
他の特許を見る