TOP
|
特許
|
意匠
|
商標
特許ウォッチ
Twitter
他の特許を見る
10個以上の画像は省略されています。
公開番号
2025143076
公報種別
公開特許公報(A)
公開日
2025-10-01
出願番号
2024042800
出願日
2024-03-18
発明の名称
画像形成装置
出願人
東芝テック株式会社
代理人
弁理士法人鈴榮特許綜合事務所
主分類
G03G
15/02 20060101AFI20250924BHJP(写真;映画;光波以外の波を使用する類似技術;電子写真;ホログラフイ)
要約
【課題】撓みによって帯電ローラと軸受の接触抵抗が大きくなる不具合を抑制することができる画像形成装置を提供すること。
【解決手段】画像形成装置は、像担持体と、帯電ローラと、軸受と、押圧手段と、を有する。帯電ローラは、像担持体の表面に転接して表面を帯電させる。軸受は、底面と、2つの突起を備える。底面は、帯電ローラの軸に沿った所定長さの線接触により像担持体と反対側から軸に接触する。2つの突起は、軸と直交し且つ像担持体と帯電ローラが並ぶ方向と交差する方向の両側から軸に向けて突出し、その突出方向の先端に軸との間にガタを有して対向する頂部を有する。押圧手段は、軸受を並ぶ方向に押圧して帯電ローラを像担持体の表面に押し付ける。
【選択図】図4
特許請求の範囲
【請求項1】
像担持体と、
前記像担持体の表面に転接して前記表面を帯電させる帯電ローラと、
前記帯電ローラの軸に沿った所定長さの線接触により前記像担持体と反対側から前記軸に接触する底面、及び前記軸と直交し且つ前記像担持体と前記帯電ローラが並ぶ方向と交差する方向の両側から前記軸に向けて突出し、その突出方向の先端に前記軸との間にガタを有して対向する頂部を有する2つの突起を備える軸受と、
前記軸受を前記並ぶ方向に押圧して前記帯電ローラを前記像担持体の表面に押し付ける押圧手段と、
を有する画像形成装置。
続きを表示(約 320 文字)
【請求項2】
前記突起は、前記並ぶ方向に直線状に延びた前記頂部を有する、
請求項1に記載の画像形成装置。
【請求項3】
前記底面は、前記軸に沿って所定の幅を有する平面である、
請求項1に記載の画像形成装置。
【請求項4】
前記押圧手段は、前記軸が前記底面に接する直線上にある幅方向の中心点及び前記軸の中心線を通る前記並ぶ方向の直線上に力点を置いて前記軸受を前記像担持体に向けて押圧する、
請求項3に記載の画像形成装置。
【請求項5】
前記突起は、力点を置いた前記直線に対して線対称且つ平行に延びた直線状の前記頂部を有する、
請求項4に記載の画像形成装置。
発明の詳細な説明
【技術分野】
【0001】
本発明の実施形態は、ワークプレイスに設置する複写機やプリンタなどの画像形成装置に関する。
続きを表示(約 1,900 文字)
【背景技術】
【0002】
複写機やプリンタなどの画像形成装置は、感光体ドラムの表面を所定の電位に帯電させる帯電装置、感光体ドラムの表面に静電潜像を形成する露光装置、感光体ドラムの表面に形成した静電潜像にトナーを供給して現像する現像装置、用紙を感光体ドラムの表面に搬送する搬送装置、感光体ドラムの表面に形成したトナー像を用紙に転写する転写装置、用紙に転写したトナー像を定着させる定着装置などを備える。
【0003】
帯電装置は、例えば、感光体ドラムの表面に転接する帯電ローラと、帯電ローラの表面に転接するクリーニングローラを備える。また、帯電装置は、例えば、帯電ローラの軸の両端及びクリーニングローラの軸の両端を回転可能に保持する軸受と、両端を軸受により保持した組立体を収容するケーシングと、2つの軸受を感光体ドラムの表面に向けて押圧する押圧バネを備える。ケーシングは、2つの軸受を感光体ドラムの表面に向けて移動可能に取り付ける。押圧バネは、ケーシングと2つの軸受の間にあり、2つの軸受を感光体ドラムに向けて押圧する。
【先行技術文献】
【特許文献】
【0004】
特開2009-80304号公報
【発明の概要】
【発明が解決しようとする課題】
【0005】
ケーシングは、感光体ドラムと略同じ長さであり、樹脂により成形すると撓みを生じる場合がある。ケーシングが撓むと、軸受が帯電ローラの軸に対して傾斜して、軸との間の接触抵抗が大きくなって、帯電ローラが正常に回転できなくなる場合がある。また、この場合、帯電ローラが接触している感光体ドラムに対して不所望な負荷が与えられてしまうことになる。
【0006】
本発明が解決しようとする課題は、撓みによって帯電ローラと軸受の接触抵抗が大きくなる不具合を抑制することができる画像形成装置を提供することである。
【課題を解決するための手段】
【0007】
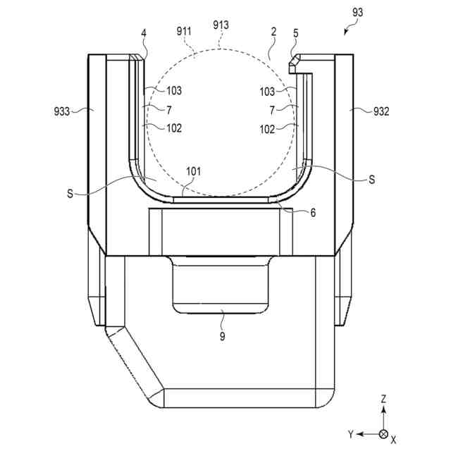
実施形態の画像形成装置は、像担持体と、帯電ローラと、軸受と、押圧手段と、を有する。帯電ローラは、像担持体の表面に転接して表面を帯電させる。軸受は、底面と、2つの突起を備える。底面は、帯電ローラの軸に沿った所定長さの線接触により像担持体と反対側から軸に接触する。2つの突起は、軸と直交し且つ像担持体と帯電ローラが並ぶ方向と交差する方向の両側から軸に向けて突出し、その突出方向の先端に軸との間にガタを有して対向する頂部を有する。押圧手段は、軸受を並ぶ方向に押圧して帯電ローラを像担持体の表面に押し付ける。
【図面の簡単な説明】
【0008】
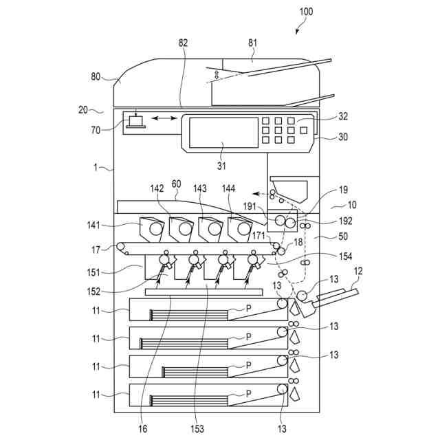
図1は、実施形態に係る画像形成装置を示す概略図である。
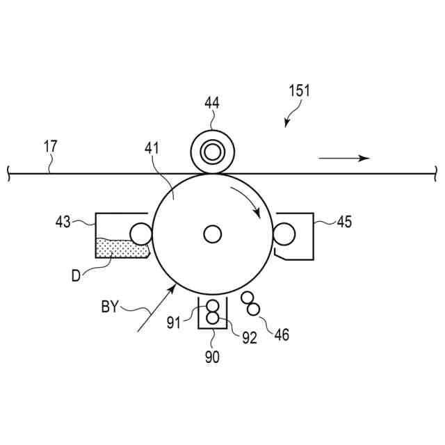
図2は、図1の画像形成装置の黄色用の画像形成部を示す概略図である。
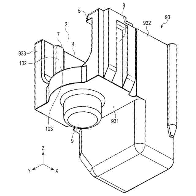
図3は、図2の画像形成部の帯電装置を示す分解斜視図である。
図4は、図3の帯電装置のリア側の軸受ブッシュを拡大して示す斜視図である。
図5は、図4の軸受ブッシュを上方(矢印F5方向)から見た平面図である。
図6は、図4の軸受ブッシュを矢印F6方向から見た斜視図である。
図7は、図4の軸受ブッシュを矢印F7方向から見た斜視図である。
図8は、図4の軸受ブッシュを後方(矢印F8方向)から見た背面図である。
図9は、変形例に係る軸受ブッシュを示す斜視図である。
図10は、図9の軸受ブッシュを後方(矢印F10方向)から見た背面図である。
【発明を実施するための形態】
【0009】
以下、図面を参照して、一実施形態に係る画像形成装置100(以下、単に、装置100と称する)について説明する。なお、以下の実施形態の説明に用いる各図面は、各部の縮尺を適宜変更している場合がある。また、以下の実施形態の説明に用いる各図面は、説明を分かり易くするため、構成を省略して示している場合がある。
【0010】
装置100は、例えば、MFP(multifunction peripheral)である。装置100は、印刷機能、スキャン機能、コピー機能、消色機能、ファクシミリ機能などを備える。印刷機能は、用紙Pに画像を形成する機能である。スキャン機能は、画像が形成された原稿などから画像を読み取る機能である。コピー機能は、例えば、スキャン機能を用いて原稿などから読み取った画像を、印刷機能を用いて用紙Pに印刷する機能である。消色機能は、用紙P上に消色可能なトナーで形成した画像を消色する機能である。
(【0011】以降は省略されています)
この特許をJ-PlatPat(特許庁公式サイト)で参照する
関連特許
東芝テック株式会社
プリンタ
今日
東芝テック株式会社
プリンタ装置
今日
東芝テック株式会社
プリンタ装置
今日
東芝テック株式会社
画像形成装置
2日前
東芝テック株式会社
情報処理装置及びシステム
1日前
東芝テック株式会社
情報処理装置及びプログラム
今日
東芝テック株式会社
信号入出力装置および障害通知方法
4日前
東芝テック株式会社
質問応答装置、方法及びプログラム
4日前
東芝テック株式会社
読取装置、プログラムおよびシステム
4日前
東芝テック株式会社
商品登録装置、及び情報処理プログラム
今日
東芝テック株式会社
商品販売データ処理装置及びそのプログラム
1日前
東芝テック株式会社
情報処理装置、情報処理プログラム及び情報処理システム
今日
東芝テック株式会社
プリンタおよびプログラム
今日
東芝テック株式会社
情報端末及びそのプログラム
3日前
東芝テック株式会社
ファームウェアパッケージ作成装置、ファームウェアパッケージ作成プログラム及びファームウェア更新システム
4日前
株式会社シグマ
絞りユニット
15日前
キヤノン株式会社
撮像装置
14日前
キヤノン株式会社
撮像装置
8日前
平和精機工業株式会社
雲台
1か月前
キヤノン株式会社
撮像装置
28日前
株式会社リコー
画像形成装置
4日前
株式会社リコー
画像形成装置
2か月前
株式会社リコー
画像形成装置
2か月前
株式会社リコー
画像形成装置
22日前
株式会社リコー
画像形成装置
1か月前
株式会社リコー
画像形成装置
1か月前
株式会社リコー
画像形成装置
1か月前
株式会社リコー
画像形成装置
2か月前
キヤノン株式会社
画像形成装置
2か月前
キヤノン株式会社
画像形成装置
1か月前
キヤノン株式会社
画像形成装置
2か月前
キヤノン株式会社
トナー
1か月前
キヤノン株式会社
画像形成装置
1か月前
キヤノン株式会社
画像形成装置
1か月前
シャープ株式会社
画像形成装置
1か月前
キヤノン株式会社
画像形成装置
2か月前
続きを見る
他の特許を見る