TOP
|
特許
|
意匠
|
商標
特許ウォッチ
Twitter
他の特許を見る
10個以上の画像は省略されています。
公開番号
2025133142
公報種別
公開特許公報(A)
公開日
2025-09-11
出願番号
2024030899
出願日
2024-03-01
発明の名称
販売データ処理装置およびプログラム
出願人
東芝テック株式会社
代理人
弁理士法人酒井国際特許事務所
主分類
G07G
1/12 20060101AFI20250904BHJP(チェック装置)
要約
【課題】本発明が解決しようとする課題は、一日の正確な売上データを集計可能な販売データ処理装置およびプログラム提供することである。
【解決手段】実施形態の販売データ処理装置は、24時間営業の店舗に設置された販売データ処理装置であって、前記店舗で販売される販売対象の会計処理を行う会計処理手段と、前記販売対象の売上データに係る精算処理を実行する精算処理手段と、第1営業時間と、前記第1営業時間に次ぐ第2営業時間の切替時刻を経過したかを判断する切替判断手段と、前記切替判断手段が前記切替時刻が経過したと判断し、かつ前記精算処理手段による前記第1営業時間に係る前記精算処理が行われていない場合には、前記第1営業時間に係る前記精算処理が行われるまで前記第2営業時間に係る前記会計処理を禁止する、処理制御手段と、を備える。
【選択図】図12
特許請求の範囲
【請求項1】
24時間営業の店舗に設置された販売データ処理装置であって、
前記店舗で販売される販売対象の会計処理を行う会計処理手段と、
前記販売対象の売上データに係る精算処理を実行する精算処理手段と、
第1営業時間と、前記第1営業時間に次ぐ第2営業時間の切替時刻を経過したかを判断する切替判断手段と、
前記切替判断手段が前記切替時刻が経過したと判断し、かつ前記精算処理手段による前記第1営業時間に係る前記精算処理が行われていない場合には、前記第1営業時間に係る前記精算処理が行われるまで前記第2営業時間に係る前記会計処理を禁止する、処理制御手段と、
を備えた販売データ処理装置。
続きを表示(約 1,400 文字)
【請求項2】
前記処理制御手段は、前記切替判断手段が前記切替時刻が経過したと判断し、かつ前記精算処理手段による前記第1営業時間に係る前記精算処理が行われている場合には、前記第2営業時間に係る前記会計処理を可能とする、
請求項1に記載の販売データ処理装置。
【請求項3】
前記第1営業時間および前記第2営業時間は、いずれも24時間である、
請求項1に記載の販売データ処理装置。
【請求項4】
前記店舗は、24時間営業のカラオケ店であって、
前記処理制御手段は、前記切替判断手段が前記切替時刻が経過したと判断し、かつ前記精算処理手段による前記第1営業時間に係る前記精算処理が行われていない場合には、前記第1営業時間に係る前記精算処理が行われるまで前記第2営業時間に係る入店処理を禁止する、
請求項1乃至3のいずれか一に記載の販売データ処理装置。
【請求項5】
前記切替時刻は、任意に設定可能である、
請求項1乃至3のいずれか一に記載の販売データ処理装置。
【請求項6】
24時間営業の店舗に設置された販売データ処理装置であって、
前記店舗に客が入店する入店時刻を含む情報を記憶する入店処理を行う入店処理手段と、
販売対象の売上データに係る精算処理を実行する精算処理手段と、
第1営業時間と、前記第1営業時間に次ぐ第2営業時間の切替時刻を経過したかを判断する切替判断手段と、
前記切替判断手段が前記切替時刻が経過したと判断し、かつ前記精算処理手段による前記第1営業時間に係る前記精算処理が行われていない場合には、前記第1営業時間に係る前記精算処理が行われるまで前記第2営業時間に係る前記入店処理を禁止する、処理制御手段と、
を備えた販売データ処理装置。
【請求項7】
24時間営業の店舗に設置された販売データ処理装置としてのコンピュータを、
前記店舗で販売される販売対象の会計処理を行う会計処理手段と、
前記販売対象の売上データに係る精算処理を実行する精算処理手段と、
第1営業時間と、前記第1営業時間に次ぐ第2営業時間の切替時刻を経過したかを判断する切替判断手段と、
前記切替判断手段が前記切替時刻が経過したと判断し、かつ前記精算処理手段による前記第1営業時間に係る前記精算処理が行われていない場合には、前記第1営業時間に係る前記精算処理が行われるまで前記第2営業時間に係る前記会計処理を禁止する、処理制御手段と、
して機能させることが可能なプログラム。
【請求項8】
24時間営業の店舗に設置された販売データ処理装置としてのコンピュータを、
前記店舗に客が入店する入店時刻を含む情報を記憶する入店処理を行う入店処理手段と、
販売対象の売上データに係る精算処理を実行する精算処理手段と、
第1営業時間と、前記第1営業時間に次ぐ第2営業時間の切替時刻を経過したかを判断する切替判断手段と、
前記切替判断手段が前記切替時刻が経過したと判断し、かつ前記精算処理手段による前記第1営業時間に係る前記精算処理が行われていない場合には、前記第1営業時間に係る前記精算処理が行われるまで前記第2営業時間に係る前記入店処理を禁止する、処理制御手段と、
して機能させることが可能なプログラム。
発明の詳細な説明
【技術分野】
【0001】
本発明の実施形態は、販売データ処理装置およびプログラムに関する。
続きを表示(約 2,200 文字)
【背景技術】
【0002】
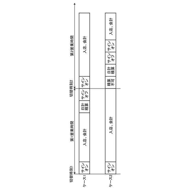
例えばショッピングセンター、量販店、百貨店、コンビニエンスストア等の店舗において、POS(Point of Sales)を使用して販売された商品の合計金額を示す売上データを集計している。POS端末は、店舗の閉店時に日計精算を行うことで、店舗の開店(POS端末がサインオンされて)から閉店(POS端末がサインオフされる)までの営業時間の売上データを集計する。
【0003】
ところで最近は、コンビニエンスストアやカラオケ店等で、24時間営業の店舗がある。このような24時間営業の店舗では、開店および閉店のタイミングがないため、一日の開始と終了の時刻(一日の営業切替時刻)を定め、店員は、当該切替時刻にPOS端末を操作して日計精算を行っていた。
【0004】
しかしながら、例えば店舗の繁忙時と重なる等の理由で所定の時刻に日計計算の操作を忘れ、その後に思い出して日計精算を行うことがあった。そのため、24時間営業の店舗では、日によって営業時間が異なり(営業時間が一定しないことにより)、一日の正確な売上データを集計することができなかった。
【発明の概要】
【発明が解決しようとする課題】
【0005】
本発明が解決しようとする課題は、一日の正確な売上データを集計可能な販売データ処理装置およびプログラム提供することである。
【課題を解決するための手段】
【0006】
実施形態の販売データ処理装置は、24時間営業の店舗に設置された販売データ処理装置であって、前記店舗で販売される販売対象の会計処理を行う会計処理手段と、前記販売対象の売上データに係る精算処理を実行する精算処理手段と、第1営業時間と、前記第1営業時間に次ぐ第2営業時間の切替時刻を経過したかを判断する切替判断手段と、前記切替判断手段が前記切替時刻が経過したと判断し、かつ前記精算処理手段による前記第1営業時間に係る前記精算処理が行われていない場合には、前記第1営業時間に係る前記精算処理が行われるまで前記第2営業時間に係る前記会計処理を禁止する、処理制御手段と、を備える。
【図面の簡単な説明】
【0007】
図1は、実施形態に係るシステムを示す図である。
図2は、日次処理についての説明図である。
図3は、POS端末のハードウェア構成を示すブロック図である。
図4は、会計情報部のメモリ構成を示すメモリマップである。
図5は、紙幣釣銭機のハードウェア構成を示すブロック図である。
図6は、在高情報部のメモリ構成を示すメモリマップである。
図7は、サーバのハードウェア構成を示すブロック図である。
図8は、各装置の主な処理と装置間のデータの流れを示すシーケンス図である。
図9は、POS端末、紙幣釣銭機、サーバの機能構成を示す機能ブロック図である。
図10は、POS端末の制御処理の流れを示すフローチャートである。
図11は、POS端末における入店処理の流れを示すフローチャートである。
図12は、POS端末における会計処理の流れを示すフローチャートである。
図13は、紙幣釣銭機の制御処理の流れを示すフローチャートである。
図14は、サーバの制御処理の流れを示すフローチャートである。
図15は、在高情報の表示例を示す図である。
【発明を実施するための形態】
【0008】
以下、本発明の実施形態について図面を参照して説明する。実施形態では、24時間営業のカラオケ店を店舗の一例として説明する。なお、以下に説明する実施形態によりこの発明が限定されるものではない。
【0009】
図1は、実施形態にかかるシステムを示す図である。図1に示すように、システム10は店舗Tに設置されている。店舗Tは、複数の部屋(カラオケボックス)を備えた24時間営業のカラオケ店である。カラオケ店は、各部屋にカラオケ機器が設置されている。カラオケ店では、複数種類の部屋を用意しており、例えば部屋の広さによって単価(部屋のい1時間当たりの料金)が異なる。また、部屋を利用する利用時間によって利用代金が異なる。このように、カラオケ店では、利用する部屋の種類と利用時間によって異なる利用代金が発生するため、利用代金の算出の対象となる部屋や利用時間がカラオケ店にとっての商品であり、実施形態における販売対象である。
【0010】
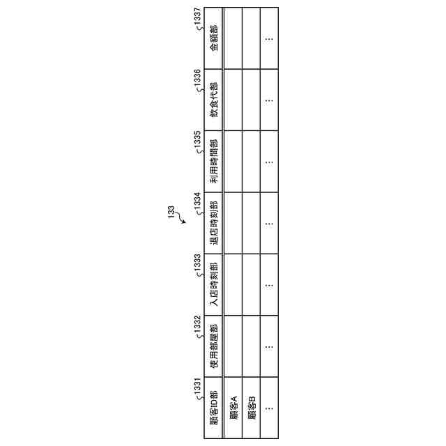
システム10は、POS(Point of Sales)端末1、紙幣釣銭機3、硬貨釣銭機5、サーバ7を有する。店舗Tのフロントには、1台または複数台のPOS端末1が設置されている(実施形態では2台)。POS端末1は、入店処理、会計処理、精算処理、等を行う。入店処理とは、顧客が入店した入店時刻(POS端末1がカラオケの利用を受け付けた時刻)、利用する部屋の種類(部屋番号)、利用予定時間等を入力して、顧客別に記憶する。入店処理は、利用する部屋番号の部屋が使用されたことを示す情報を使用部屋部132(図3を参照)に記憶する処理を含む。
(【0011】以降は省略されています)
この特許をJ-PlatPat(特許庁公式サイト)で参照する
関連特許
東芝テック株式会社
プリンタ
3日前
東芝テック株式会社
プリンタ
3日前
東芝テック株式会社
プリンタ装置
3日前
東芝テック株式会社
プリンタ装置
3日前
東芝テック株式会社
プリンタ及びプログラム
2日前
東芝テック株式会社
チェックアウトシステム
3日前
東芝テック株式会社
販売時点における行動検出
3日前
東芝テック株式会社
プリンタ装置及びプログラム
3日前
東芝テック株式会社
販売時点における物体分類および識別
3日前
東芝テック株式会社
商品登録機器及び情報処理プログラム
3日前
東芝テック株式会社
レシート管理サーバ及びレシート管理システム
2日前
東芝テック株式会社
レシート管理サーバ及びレシート管理システム
2日前
東芝テック株式会社
取引処理システム、取引処理装置及びそのプログラム
3日前
東芝テック株式会社
ゲート装置、情報処理プログラム及びチェックアウトシステム
3日前
東芝テック株式会社
データ処理装置及びデータ処理方法
4日前
株式会社イシダ
商品処理装置
10日前
株式会社バンダイ
物品供給装置
3か月前
株式会社バンダイ
物品供給装置
3か月前
株式会社バンダイ
物品供給装置
3か月前
株式会社バンダイ
物品供給装置
3か月前
富士電機株式会社
通貨識別装置
2か月前
沖電気工業株式会社
施錠開閉装置
3日前
沖電気工業株式会社
媒体処理装置
1か月前
沖電気工業株式会社
媒体処理装置
1か月前
沖電気工業株式会社
媒体処理装置
1か月前
沖電気工業株式会社
紙幣処理装置
1か月前
富士電機株式会社
自動販売機
1か月前
株式会社ライト
情報処理装置
1か月前
株式会社ライト
情報処理装置
1か月前
株式会社ライト
情報処理装置
2か月前
富士電機株式会社
金銭処理装置
2か月前
株式会社デンソー
車載器
8日前
グローリー株式会社
物品投出装置
1か月前
グローリー株式会社
硬貨処理装置
3か月前
日本金銭機械株式会社
硬貨処理装置
12日前
日本金銭機械株式会社
硬貨処理装置
12日前
続きを見る
他の特許を見る