TOP
|
特許
|
意匠
|
商標
特許ウォッチ
Twitter
他の特許を見る
10個以上の画像は省略されています。
公開番号
2025138422
公報種別
公開特許公報(A)
公開日
2025-09-25
出願番号
2024037512
出願日
2024-03-11
発明の名称
商品受渡システム、店員端末およびプログラム
出願人
東芝テック株式会社
代理人
弁理士法人酒井国際特許事務所
主分類
G06Q
10/083 20240101AFI20250917BHJP(計算;計数)
要約
【課題】顧客や店員が、注文商品の状況を容易に確認することができる商品受渡システム、店員端末およびプログラムを提供する。
【解決手段】商品受渡システムは、店員が所持する店員端末と、店員端末と通信可能に接続されて、顧客が所持する顧客端末から注文された商品に係る注文情報と当該商品の受取方法に係る受取情報とを取得する注文情報取得部(第1の注文情報取得部)と、店員端末に対して、注文情報と受取情報とを表示可能に出力する注文情報出力部と、店員端末から、注文された商品の準備状態に係るステータス情報を取得して更新するステータス情報更新部と、更新したステータス情報を、顧客端末に表示可能に出力するステータス情報出力部と、を有する販売管理装置と、を備える。
【選択図】図9
特許請求の範囲
【請求項1】
店員が所持する店員端末と、
前記店員端末と通信可能に接続されて、
顧客が所持する顧客端末から注文された商品に係る注文情報と当該商品の受取方法に係る受取情報とを取得する第1の注文情報取得部と、
前記店員端末に対して、前記注文情報と前記受取情報とを表示可能に出力する注文情報出力部と、
前記店員端末から、注文された前記商品の準備状態に係るステータス情報を取得して更新するステータス情報更新部と、
更新した前記ステータス情報を、前記顧客端末に表示可能に出力するステータス情報出力部と、を有する販売管理装置と、を備える、
商品受渡システム。
続きを表示(約 1,000 文字)
【請求項2】
前記商品受渡システムは、
前記商品を一時的に保管するロッカーを管理するロッカー管理装置を、更に備え、
前記販売管理装置は、前記顧客がロッカー受取を選択した場合に、前記商品が保管されたロッカーを開錠する開錠コードを発行して、発行された前記開錠コードを、前記顧客端末に出力する、
請求項1に記載の商品受渡システム。
【請求項3】
前記販売管理装置は、注文された前記商品を特定可能な注文番号に関連付いた開錠コードを発行する、
請求項2に記載の商品受渡システム。
【請求項4】
前記販売管理装置は、顧客が、注文した商品のロッカー受取を指定した場合であって、前記商品がロッカーに保管されたことを条件として、前記ステータス情報を、ロッカー預入済であることを示す情報に更新して、更新したステータス情報と前記開錠コードとを関連付けて、前記顧客端末に出力する、
請求項3に記載の商品受渡システム。
【請求項5】
顧客が注文した商品の受け渡しを管理する販売管理装置から、顧客が注文した商品に係る注文情報と当該商品の受取方法に係る受取情報とを取得する第2の注文情報取得部と、
前記第2の注文情報取得部が取得した前記注文情報と前記受取情報とを表示する注文情報表示部と、
前記商品の準備状態に係るステータス情報を更新するステータス情報更新部と、
前記ステータス情報更新部が更新したステータス情報を、前記販売管理装置に出力するステータス情報出力部と、を備える、
店員端末。
【請求項6】
店員が所持する店員端末と、前記店員端末と通信可能に接続される販売管理装置と、を制御するコンピュータを、
顧客が所持する顧客端末から注文された商品に係る注文情報と当該商品の受取方法に係る受取情報とを取得する第1の注文情報取得部と、
前記店員端末に対して、前記注文情報と前記受取情報とを表示可能に出力する注文情報出力部と、
前記店員端末から、注文された前記商品の準備状態に係るステータス情報を取得して更新するステータス情報更新部と、
更新した前記ステータス情報を、前記顧客端末に表示可能に出力するステータス情報出力部と、して機能させる、
プログラム。
発明の詳細な説明
【技術分野】
【0001】
本発明の実施形態は、商品受渡システム、店員端末およびプログラムに関する。
続きを表示(約 2,500 文字)
【背景技術】
【0002】
従来、顧客が注文した商品を、ロッカーで受け取ることができる商品販売システムが提案されている(例えば特許文献1)。
【0003】
しかしながら、従来の技術では、顧客が、自身が注文した商品の現在の準備状況(ステータス)を確認することについて言及していない。更に、店員が、顧客から注文された商品の現在の準備状況(ステータス)を確認することについて言及していない。したがって、顧客や店員は、注文商品のステータスを知るために、例えば、運用サーバから発せられる通知を待たざるを得なかった。そのため、顧客や店員が、注文商品の現在の準備状況を手軽に確認できることが望まれていた。
【発明の概要】
【発明が解決しようとする課題】
【0004】
本発明が解決しようとする課題は、顧客や店員が、注文商品の状況を容易に確認することができる商品受渡システム、店員端末およびプログラムを提供することである。
【課題を解決するための手段】
【0005】
実施形態の商品受渡システムは、店員が所持する店員端末と、店員端末と通信可能に接続される販売管理装置と、を備える。販売管理装置は、第1の注文情報取得部と、注文情報出力部と、ステータス情報取得部と、ステータス情報出力部と、を有する。第1の注文情報取得部は、顧客が所持する顧客端末から注文された、商品に係る情報と商品の受取方法に係る情報とを取得する。注文情報出力部は、店員端末に対して、商品に係る情報と受取方法に係る情報とを表示可能に出力する。ステータス情報取得部は、店員端末から、注文された商品の準備状態に係るステータス情報を取得する。ステータス情報出力部は、取得したステータス情報を、顧客端末に表示可能に出力する。
【0006】
また、実施形態の店員端末は、第2の注文情報取得部と、注文情報表示部と、ステータス情報更新部と、ステータス情報出力部と、を備える。第2の注文情報取得部は、顧客が注文した商品の受け渡しを管理する販売管理装置から、顧客が注文した商品に係る情報と当該商品の受取方法に係る情報とを取得する。注文情報表示部は、第2の注文情報取得部が取得した情報を表示する。ステータス情報更新部は、商品の準備状態に係るステータス情報を更新する。ステータス情報出力部は、ステータス情報更新部が更新したステータス情報を、販売管理装置に出力する。
【図面の簡単な説明】
【0007】
図1は、実施形態に係る商品受渡システムの概略構成の一例を示すシステム構成図である。
図2は、商品受渡システムが備える注文管理装置のハードウェア構成の一例を示すハードウェアブロック図である。
図3は、注文管理装置が記憶する注文管理ファイル、および販売管理装置が記憶する販売管理ファイルの共通部分のデータ構造の一例を示す図である。
図4は、商品受渡システムが備える販売管理装置のハードウェア構成の一例を示すハードウェアブロック図である。
図5は、商品受渡システムが備える店員端末のハードウェア構成の一例を示すハードウェアブロック図である。
図6は、商品受渡システムが備えるロッカー管理装置のハードウェア構成の一例を示すハードウェアブロック図である。
図7は、ロッカー管理装置が記憶するロッカー使用状態管理ファイルのデータ構造の一例を示す図である。
図8は、商品受渡システムを構成する装置間における代表的な情報の流れの一例を示す図である。
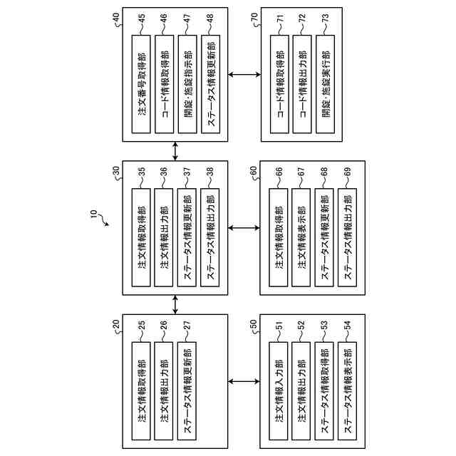
図9は、商品受渡システムの機能構成の一例を示す機能ブロック図である。
図10は、商品受渡システムが、注文を受けた商品のロッカー受取の準備ができた旨を顧客端末に通知するまでの処理の流れの一例を示すシーケンス図である。
図11は、顧客がロッカーから商品を受け取る際に、商品受渡システムが行う処理の流れの一例を示すシーケンス図である。
図12は、店員が、ロッカー受取の注文を受けた商品をロッカーに預け入れる際に、店員端末に表示される画面の一例を示す図である。
図13は、注文された商品の取置が完了した際に、店員端末に表示されるステータスの更新を行う画面の一例を示す図である。
図14は、顧客端末に通知される来店通知とコード情報の一例を示す図である。
【発明を実施するための形態】
【0008】
以下、添付図面を参照して、本願発明の実施形態について説明する。以下に示す実施形態では、本願発明を商品受渡システム10に適用した例について説明する。
【0009】
(持出監視システムの概略構成)
図1を用いて、商品受渡システム10の概略構成を説明する。図1は実施形態に係る商品受渡システムの概略構成の一例を示すシステム構成図である。図1に示すように、商品受渡システム10は、注文管理装置20と、販売管理装置30と、ロッカー管理装置40と、顧客端末50と、店員端末60と、ロッカー70と、を備える。注文管理装置20と、販売管理装置30と、ロッカー管理装置40と、は例えばインターネット等の通信網によって、互いに通信可能に接続されている。また、顧客端末50と注文管理装置20とは通信可能に接続されて、店員端末60と販売管理装置30とは通信可能に接続されて、ロッカー70とロッカー管理装置40とは通信可能に接続されている。
【0010】
顧客は、顧客端末50と注文管理装置20とを接続することによって、顧客端末50の上で、欲しい商品を閲覧することができるとともに、商品の注文や決済を行うことができる。また、顧客は顧客端末50から注文管理装置20に対して、注文した商品の受取方法を指定することができる。なお、商品の決済は、店舗に設けられる図示しない商品販売データ処理装置(以下、POS端末ともいう)で行われてもよい。
(【0011】以降は省略されています)
この特許をJ-PlatPat(特許庁公式サイト)で参照する
関連特許
東芝テック株式会社
プリンタ
3日前
東芝テック株式会社
プリンタ装置
3日前
東芝テック株式会社
プリンタ装置
3日前
東芝テック株式会社
画像形成装置
5日前
東芝テック株式会社
情報処理装置及びシステム
4日前
東芝テック株式会社
情報処理装置及びプログラム
3日前
東芝テック株式会社
商品登録装置、及び情報処理プログラム
3日前
東芝テック株式会社
商品販売データ処理装置及びそのプログラム
4日前
東芝テック株式会社
情報処理装置、情報処理プログラム及び情報処理システム
3日前
東芝テック株式会社
プリンタおよびプログラム
3日前
東芝テック株式会社
トナーカートリッジ梱包用ブランク
今日
個人
裁判のAI化
2か月前
個人
地球保全システム
5日前
個人
情報処理システム
2か月前
個人
工程設計支援装置
1か月前
個人
フラワーコートA
2か月前
個人
介護情報提供システム
2か月前
個人
冷凍食品輸出支援構造
1か月前
個人
為替ポイント伊達夢貯
1か月前
個人
携帯情報端末装置
1か月前
個人
設計支援システム
2か月前
個人
表変換編集支援システム
25日前
個人
設計支援システム
2か月前
個人
知財出願支援AIシステム
1か月前
株式会社サタケ
籾摺・調製設備
2か月前
個人
結婚相手紹介支援システム
1か月前
個人
パスワード管理支援システム
25日前
株式会社カクシン
支援装置
2か月前
個人
行動時間管理システム
27日前
個人
AIによる情報の売買の仲介
1か月前
個人
システム及びプログラム
18日前
個人
パスポートレス入出国システム
1か月前
個人
食品レシピ生成システム
4日前
個人
備蓄品の管理方法
2か月前
日本精機株式会社
施工管理システム
1か月前
株式会社キーエンス
受発注システム
4日前
続きを見る
他の特許を見る