TOP
|
特許
|
意匠
|
商標
特許ウォッチ
Twitter
他の特許を見る
10個以上の画像は省略されています。
公開番号
2025138090
公報種別
公開特許公報(A)
公開日
2025-09-25
出願番号
2024036885
出願日
2024-03-11
発明の名称
画像読取装置
出願人
セイコーエプソン株式会社
代理人
個人
,
個人
,
個人
主分類
H04N
1/00 20060101AFI20250917BHJP(電気通信技術)
要約
【課題】ブラシ部80の繊維体82間に隙間が生じ、読取面41において清掃されない領域が発生してしまう問題を改善すること。
【解決手段】画像読取装置1は、搬送経路2を搬送方向Fに搬送される媒体3に対して対向する位置に読取面41を有する読取部5と、読取面41を払拭可能なブラシ部80と、ブラシ部80を移動する移動部81と、を備える。ブラシ部80は、複数の繊維体82が配列され、各繊維体82の長手方向83が読取面41に対して斜行する状態で配置され、移動部81は、ブラシ部80を移動して読取面41を払拭する。
【選択図】図5
特許請求の範囲
【請求項1】
搬送経路を搬送方向に搬送される媒体に対して対向する位置に読取面を有する読取部と、
前記読取面を払拭可能なブラシ部と、
前記ブラシ部を移動する移動部と、を備え、
前記ブラシ部は、複数の繊維体が配列され、各前記繊維体の長手方向が前記読取面に対して斜行する状態で配置され、
前記移動部は、前記ブラシ部を移動して前記読取面を払拭する、
ことを特徴とする画像読取装置。
続きを表示(約 930 文字)
【請求項2】
請求項1に記載の画像読取装置であって、
前記移動部は、前記搬送経路を挟んで前記読取部と対向して配置され、軸回りに回転可能な回転部材を有し、
前記ブラシ部は、前記軸の延在方向に沿って前記回転部材に前記複数の繊維体が配列するように配置され、
前記軸は、前記読取面と平行に配置され、
各前記繊維体は、前記軸に対して傾斜する、
ことを特徴とする画像読取装置。
【請求項3】
請求項1に記載の画像読取装置であって、
前記移動部は、前記搬送経路を挟んで前記読取部と対向して配置され、軸回りに回転可能な回転部材を有し、
前記ブラシ部は、前記軸の延在方向に沿って前記回転部材に前記複数の繊維体が配列するように配置され、
前記軸は、前記読取面と垂直な方向において前記読取面に対して傾斜して配置され、
各前記繊維体の長手方向は、前記軸に対して垂直である、ことを特徴とする画像読取装置。
【請求項4】
請求項2に記載の画像読取装置であって、
前記軸は、前記搬送方向に対して傾斜して配置される、
ことを特徴とする画像読取装置。
【請求項5】
請求項2に記載の画像読取装置であって、
前記軸は、前記搬送方向に前記媒体を送るように回転し、
前記読取面の前記搬送方向における下流側に、前記ブラシ部の払拭により除去された異物を収容する収容容器を備えている、
ことを特徴とする画像読取装置。
【請求項6】
請求項1に記載の画像読取装置であって、
前記ブラシ部は、前記搬送方向と交差する方向に移動可能であり、
前記移動部は、前記ブラシ部を前記搬送方向と交差する方向における前記搬送経路の一端側から他端側に移動して前記読取面を払拭する、
ことを特徴とする画像読取装置。
【請求項7】
請求項6に記載の画像読取装置であって、
前記読取面の前記他端側に、前記ブラシ部の払拭により除去された異物を収容する収容容器を備えている、
ことを特徴とする画像読取装置。
発明の詳細な説明
【技術分野】
【0001】
本発明は、画像読取装置に関する。
続きを表示(約 1,800 文字)
【背景技術】
【0002】
この種の装置の一例として、特許文献1に記載の画像読取装置が挙げられる。特許文献1には、以下のことが記載されている。
ローラー部材に清掃ブラシが設けられ、前記ローラー部材を回転させることで前記清掃ブラシを読取ガラス面上に接触させ、前記読取ガラス面の異物を除去する。
【先行技術文献】
【特許文献】
【0003】
特開2010-4097号公報
【発明の概要】
【発明が解決しようとする課題】
【0004】
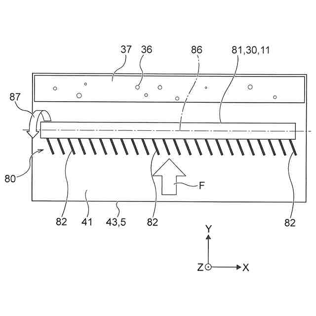
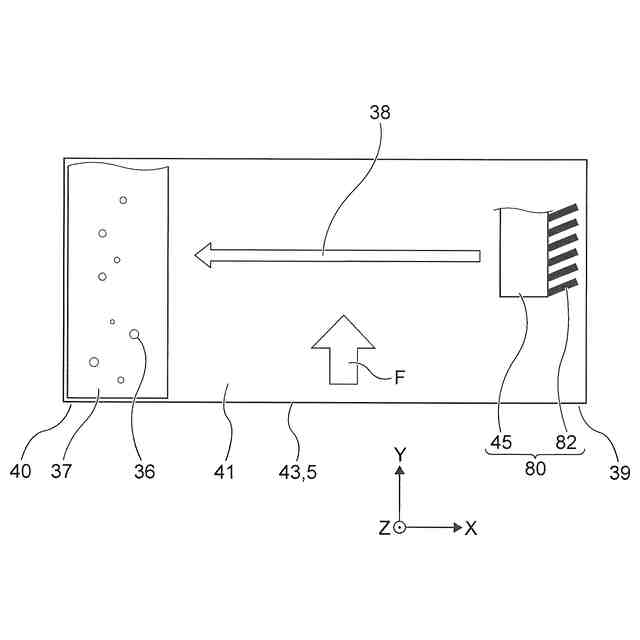
特許文献1に記載されている画像読取装置は、前記読取ガラス面に対して前記清掃ブラシが垂直方向に延在しており、前記ローラー部材を回転させた場合、前記読取ガラス面に対して、前記清掃ブラシを構成する各繊維体が互いに回転方向に平行に移動する。このため、前記繊維体間に隙間が生じ、前記読取ガラス面において清掃されない領域が発生してしまう、という問題がある。
【課題を解決するための手段】
【0005】
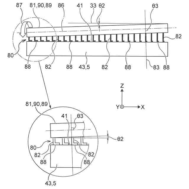
上記課題を解決するため、本発明に係る画像読取装置は、搬送経路を搬送方向に搬送される媒体に対して対向する位置に読取面を有する読取部と、前記読取面を払拭可能なブラシ部と、前記ブラシ部を移動する移動部と、を備え、前記ブラシ部は、複数の繊維体が配列され、各前記繊維体の長手方向が前記読取面に対して斜行する状態で配置され、前記移動部は、前記ブラシ部を移動して前記読取面を払拭することを特徴とする。
【図面の簡単な説明】
【0006】
実施形態1に係る画像読取装置の外観斜視図。
実施形態1に係る画像読取装置の側断面の模式図。
図2の要部拡大側断面図。
図3の要部の斜視図で、一部拡大図を含む。
実施形態1の要部模式図。
実施形態2の要部模式図。
実施形態3の要部模式図。
実施形態4の要部模式図。
実施形態5の要部模式図。
【発明を実施するための形態】
【0007】
以下、本発明について先ず概略的に説明する。
本発明の第1の態様に係る画像読取装置は、搬送経路を搬送方向に搬送される媒体に対して対向する位置に読取面を有する読取部と、前記読取面を払拭可能なブラシ部と、前記ブラシ部を移動する移動部と、を備え、前記ブラシ部は、複数の繊維体が配列され、各前記繊維体の長手方向が前記読取面に対して斜行する状態で配置され、前記移動部は、前記ブラシ部を移動して前記読取面を払拭することを特徴とする。
【0008】
ここで、「各前記繊維体の長手方向が前記読取面に対して斜行する状態で配置され」における「繊維体の長手方向」とは、本願明細書においては、前記繊維体が全て真っ直ぐな直線状のものであるとした場合における直線の方向を意味する。前記繊維体が真っ直ぐな直線状ではなく曲がっているものについては、前記繊維体を伸ばす方向に引っ張って直線状のものにした状態での直線の方向である。
また、「斜行する状態で配置され」とは、本願明細書においては、前記繊維体の全てが厳密に同じ角度で斜行していることは要しない意味で使われている。
【0009】
本態様によれば、前記ブラシ部は、各前記繊維体の長手方向が前記読取面に対して斜行する状態で配置され、前記移動部は、前記ブラシ部を移動して前記読取面を払拭する。即ち、各前記繊維体の長手方向が前記読取面に対して斜行する状態で配置されているので、前記斜行しない従来の構造に比して、各前記繊維体の前記読取面に接触する接触領域が大きくなる。これにより、前記読取面の清掃効率を向上することができる。また各前記繊維体の前記斜行によって、前記接触領域がオーバーラップする状態になり易く、この点からも前記読取面の清掃効率を向上することができる。
【0010】
本発明の第2の態様に係る画像読取装置は、第1の態様に従属する態様であって、前記移動部は、前記搬送経路を挟んで前記読取部と対向して配置され、軸回りに回転可能な回転部材を有し、前記ブラシ部は、前記軸の延在方向に沿って前記回転部材に前記複数の繊維体が配列するように配置され、前記軸は、前記読取面と平行に配置され、各前記繊維体は、前記軸に対して傾斜することを特徴とする。
(【0011】以降は省略されています)
この特許をJ-PlatPat(特許庁公式サイト)で参照する
関連特許
WHISMR合同会社
収音装置
27日前
アイホン株式会社
電気機器
21日前
キヤノン株式会社
撮像装置
1か月前
個人
ワイヤレスイヤホン対応耳掛け
19日前
株式会社リコー
画像形成装置
1か月前
株式会社リコー
画像形成装置
1か月前
株式会社リコー
画像形成装置
2か月前
キヤノン電子株式会社
画像読取装置
28日前
キヤノン株式会社
撮像システム
21日前
ブラザー工業株式会社
読取装置
1か月前
有限会社フィデリックス
マイクロフォン
5日前
大日本印刷株式会社
写真撮影装置
20日前
国立大学法人電気通信大学
小型光学装置
1か月前
株式会社小糸製作所
画像照射装置
1か月前
株式会社松平商会
携帯機器カバー
1か月前
沖電気工業株式会社
画像形成装置
1日前
株式会社JVCケンウッド
通信システム
5日前
キヤノン電子株式会社
シート材搬送装置
1か月前
パテントフレア株式会社
超高速電波通信
1か月前
沖電気工業株式会社
画像形成装置
9日前
日本無線株式会社
無線通信システム
1か月前
株式会社JVCケンウッド
スピーカ
28日前
日本無線株式会社
無線通信システム
1か月前
個人
回動アームを構築する関節モジュール
1日前
株式会社リコー
画像形成装置
1か月前
日本無線株式会社
無線通信システム
1か月前
日本無線株式会社
無線通信システム
13日前
日本無線株式会社
無線通信システム
1か月前
株式会社大林組
監視システム
1か月前
株式会社国際電気
遠隔監視システム
1か月前
株式会社デンソー
装置及び方法
28日前
日本信号株式会社
可視光通信システム
9日前
洋也株式会社
電子機器
1日前
日本放送協会
広視野角撮像装置
9日前
日本放送協会
広視野角撮像装置
9日前
株式会社村田製作所
高周波回路
1か月前
続きを見る
他の特許を見る