TOP
|
特許
|
意匠
|
商標
特許ウォッチ
Twitter
他の特許を見る
公開番号
2025138452
公報種別
公開特許公報(A)
公開日
2025-09-25
出願番号
2024037555
出願日
2024-03-11
発明の名称
半導体装置
出願人
株式会社豊田中央研究所
,
株式会社デンソー
代理人
弁理士法人 快友国際特許事務所
主分類
H10D
30/66 20250101AFI20250917BHJP()
要約
【課題】チャネル面積の減少を抑えながら、バイポーラ劣化現象も抑えることができる半導体装置を提供する。
【解決手段】半導体装置は、第1導電型のドリフト領域と、ドリフト領域に接する第2導電型のボディ領域と、ボディ領域によってドリフト領域から隔てられている第1導電型のソース領域と、ボディ領域のうちドリフト領域とソース領域の隔てる部分に対向する絶縁ゲートと、ボディ領域の一部を間に置いて絶縁ゲートから離れて配置されており、一端がソース領域に接しており、他端がドリフト領域に接している第1導電型のピラー領域と、を備えている。ソース領域のバンドギャップがピラー領域のバンドギャップよりも狭い。
【選択図】図1
特許請求の範囲
【請求項1】
第1導電型のドリフト領域と、
前記ドリフト領域に接する第2導電型のボディ領域と、
前記ボディ領域に接しており、前記ボディ領域によって前記ドリフト領域から隔てられている第1導電型のソース領域と、
前記ボディ領域のうち前記ドリフト領域と前記ソース領域を隔てる部分に対向する絶縁ゲートと、
前記ボディ領域の一部を間に置いて前記絶縁ゲートから離れて配置されており、一端が前記ソース領域に接しており、他端が前記ドリフト領域に接している第1導電型のピラー領域と、を備えており、
前記ソース領域のバンドギャップ幅が前記ピラー領域のバンドギャップ幅よりも狭い、半導体装置。
続きを表示(約 360 文字)
【請求項2】
前記ドリフト領域と前記ボディ領域と前記ピラー領域が炭化珪素であり、
前記ソース領域が多結晶シリコンである、請求項1に記載の半導体装置。
【請求項3】
前記ピラー領域の不純物濃度は、前記ドリフト領域の不純物濃度よりも高い、請求項1に記載の半導体装置。
【請求項4】
前記ピラー領域は、前記ソース領域に接する部分の不純物濃度が他の部分の不純物濃度よりも低い、請求項1~3のいずれか一項に記載の半導体装置。
【請求項5】
前記ピラー領域は、
低濃度ピラー部分と、
前記低濃度ピラー部分よりも不純物濃度が高い高濃度ピラー部分と、を有しており、
前記低濃度ピラー部分が前記ソース領域に接している、請求項4に記載の半導体装置。
発明の詳細な説明
【技術分野】
【0001】
本明細書が開示する技術は、半導体装置に関する。
続きを表示(約 2,000 文字)
【背景技術】
【0002】
炭化珪素の半導体基板を用いて製造された半導体装置は、半導体基板内に多くの転位が存在することで知られている。逆導通時に半導体装置に内蔵するpnダイオードが動作すると、半導体基板内に存在する転位において電子と正孔が再結合する。この再結合により転位が成長し、半導体装置の特性が劣化(即ち、バイポーラ劣化現象)することがある。
【0003】
特許文献1は、pnダイオードの動作を抑えるために、ヘテロ接合ダイオードを半導体基板内に作り込む技術を開示する。ヘテロ接合ダイオードはユニポーラで動作する。このため、逆導通時にヘテロ接合ダイオードが動作することにより、pnダイオードによる正孔注入が抑えられ、バイポーラ劣化現象が抑えられる。
【先行技術文献】
【特許文献】
【0004】
特開2022-9745号公報
【発明の概要】
【発明が解決しようとする課題】
【0005】
特許文献1に開示される半導体装置は、繰り返し設けられているゲート電極のうち一部のゲート電極をヘテロ接合ダイオードのアノードに置き換えた構成を備えている。このような構成の半導体装置では、チャネル面積が減少し、オン抵抗が増大するという問題がある。本明細書は、チャネル面積の減少を抑えながら、バイポーラ劣化現象も抑えることができる半導体装置を提供する。
【課題を解決するための手段】
【0006】
本明細書が開示する半導体装置の一実施形態は、第1導電型のドリフト領域と、ドリフト領域に接する第2導電型のボディ領域と、ボディ領域に接しており、ボディ領域によってドリフト領域から隔てられている第1導電型のソース領域と、ボディ領域のうちドリフト領域とソース領域を隔てる部分に対向する絶縁ゲートと、ボディ領域の一部を間に置いて絶縁ゲートから離れて配置されており、一端がソース領域に接しており、他端がドリフト領域に接している第1導電型のピラー領域と、を備えていてもよい。ソース領域のバンドギャップ幅がピラー領域のバンドギャップ幅よりも狭い。
【0007】
上記半導体装置では、ソース領域とピラー領域によってヘテロ接合ダイオードが構成されている。逆導通時にヘテロ接合ダイオードが動作することにより、内蔵するpnダイオードの動作が抑えられるので、バイポーラ劣化現象が抑えられる。また、ピラー領域がボディ領域の一部を間に置いて絶縁ゲート部から離れて配置されているので、そのボディ領域の一部がチャネルとして機能することができる。このため、上記半導体装置では、ピラー領域が設けられていても、チャネル面積の減少が抑えられる。上記半導体装置では、チャネル面積の減少を抑えながら、バイポーラ劣化現象も抑えることができる。
【図面の簡単な説明】
【0008】
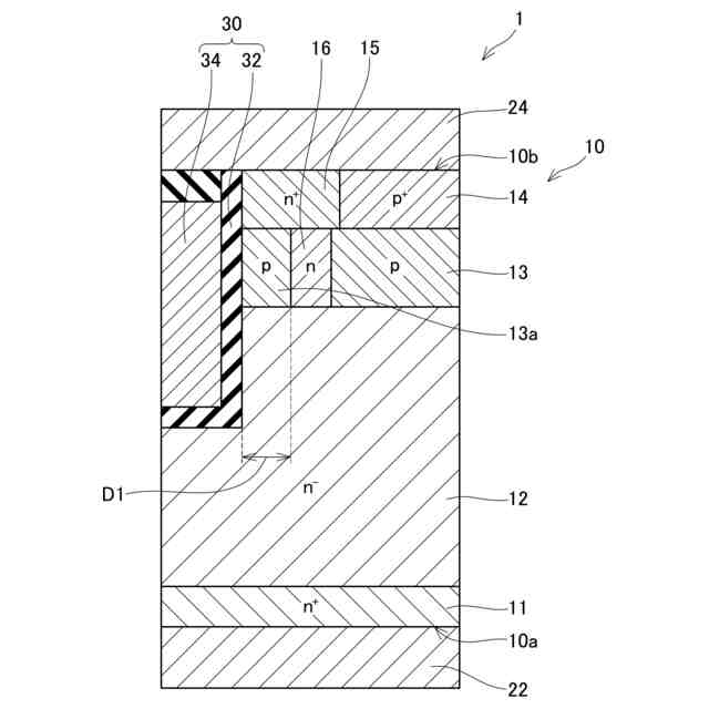
第1実施形態の半導体装置のハーフセルの要部断面図を模式的に示す。
(A)半導体基板の深さ方向に沿ったソース領域とピラー領域のn型不純物の濃度分布の一例を示す。(B)上記(A)の濃度分布のときのソース領域とピラー領域のバンドギャップ図を示す。
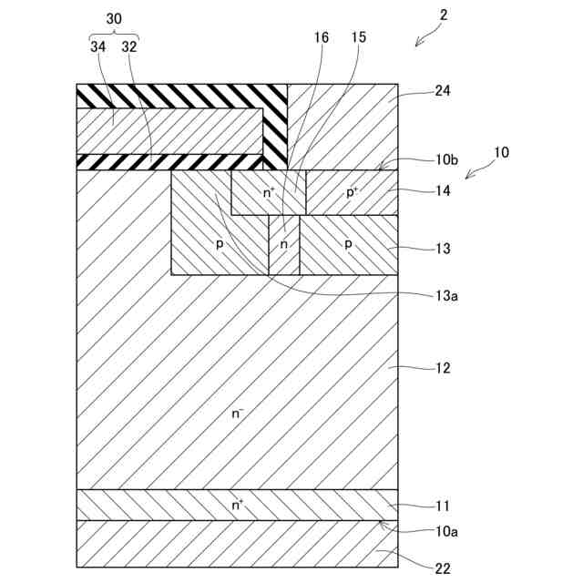
第1実施形態の変形例の半導体装置の要部断面図を模式的に示す。
第2実施形態の半導体装置の要部断面図を模式的に示す。
【発明を実施するための形態】
【0009】
(第1実施形態)
図1に、第1実施形態の半導体装置1を示す。半導体装置1は、MOSFET(Metal Oxide Semiconductor Field Effect Transistor)と称される種類の半導体装置であり、第1主面10aと第2主面10bを有する半導体基板10と、半導体基板10の第1主面10aを被覆しているドレイン電極22と、半導体基板10の第2主面10bを被覆しているソース電極24と、半導体基板10の上層部に設けられているトレンチ型の絶縁ゲート30と、を備えている。ここで、第1主面10aと第2主面10bは、半導体基板10の表面のうち平行な関係で延びている一対の面であり、半導体基板10の厚み方向(この例では、紙面上下方向)に直交する面である。
【0010】
半導体基板10は、n
+
型のドレイン領域11と、n
-
型のドリフト領域12と、p型のボディ領域13と、p
+
型のコンタクト領域14と、n
+
型のソース領域15と、n型のピラー領域16と、を有している。半導体基板10の材料は、多結晶シリコンであるソース領域15を除いて炭化珪素(SiC)で構成されている。なお、後述するように、コンタクト領域14も多結晶シリコンによって構成されていてもよい。
(【0011】以降は省略されています)
この特許をJ-PlatPat(特許庁公式サイト)で参照する
関連特許
株式会社豊田中央研究所
回転角度又は位置の検出装置
1日前
株式会社豊田中央研究所
推定モデル生成装置、推定モデル生成方法、推定モデル生成プログラム、推定装置、推定方法、及び推定プログラム
1日前
個人
半導体装置
今日
東レ株式会社
太陽電池モジュール
今日
エイブリック株式会社
半導体装置
6日前
富士電機株式会社
半導体装置
27日前
富士電機株式会社
半導体装置
9日前
ローム株式会社
半導体装置
1日前
AGC株式会社
太陽電池モジュール
12日前
三菱電機株式会社
半導体装置
1か月前
国立大学法人 和歌山大学
光検出器
1か月前
日亜化学工業株式会社
発光装置
27日前
日亜化学工業株式会社
発光素子
7日前
ミツミ電機株式会社
半導体装置
6日前
キヤノン株式会社
有機発光素子
19日前
株式会社半導体エネルギー研究所
半導体装置
1か月前
株式会社半導体エネルギー研究所
半導体装置
1か月前
株式会社半導体エネルギー研究所
半導体装置
28日前
株式会社半導体エネルギー研究所
発光デバイス
1か月前
サンケン電気株式会社
半導体装置
5日前
ローム株式会社
TVSダイオード
7日前
住友電気工業株式会社
半導体装置
19日前
ローム株式会社
窒化物半導体装置
1か月前
TDK株式会社
光検知装置
6日前
デクセリアルズ株式会社
受光装置
5日前
ローム株式会社
半導体装置
7日前
ローム株式会社
TVSダイオード
7日前
株式会社東芝
熱電変換装置
7日前
住友電気工業株式会社
半導体装置
19日前
ローム株式会社
窒化物半導体装置
27日前
株式会社カネカ
太陽光発電システム
28日前
沖電気工業株式会社
発光装置及び表示装置
今日
株式会社カネカ
太陽電池モジュール
7日前
日亜化学工業株式会社
発光素子
1か月前
三菱電機株式会社
半導体装置
13日前
キオクシア株式会社
記憶装置
5日前
続きを見る
他の特許を見る