TOP
|
特許
|
意匠
|
商標
特許ウォッチ
Twitter
他の特許を見る
公開番号
2025138583
公報種別
公開特許公報(A)
公開日
2025-09-25
出願番号
2025028443,2024037664
出願日
2025-02-25,2024-03-11
発明の名称
情報処理システム
出願人
フリー株式会社
代理人
個人
主分類
G06Q
10/0631 20230101AFI20250917BHJP(計算;計数)
要約
【課題】 複数の業務アプリケーションを用いる場合において、マスターデータとして、ユーザ情報を統合させた信頼性の高い統合ユーザ情報を保有することができ、ユーザ情報の管理にかかる作業負担を軽減させることができる。
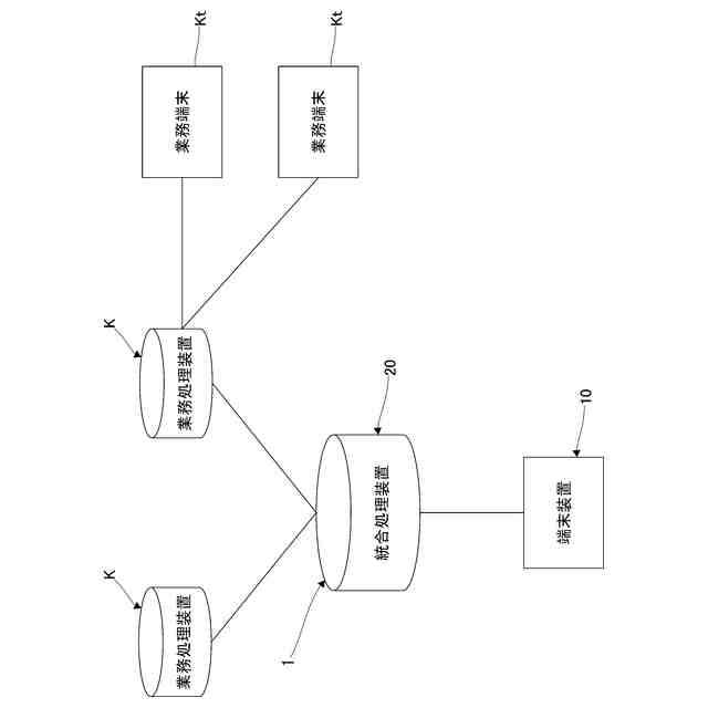
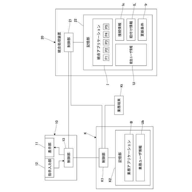
【解決手段】 情報処理システム1は、業務ユーザ情報Ubに設けられた業務項目に応じて統合項目が設けられた統合ユーザ情報Uiと、業務情報によって統合項目に格納された統合情報を更新するための更新条件Irと、業務ユーザ情報Ubに設けられた業務項目に格納された業務情報に変更があったとき、更新条件Irに基づいて、統合ユーザ情報Uiに設けられた統合項目に格納された統合情報を、業務情報によって更新する更新部P5とを有する。
【選択図】図2
特許請求の範囲
【請求項1】
業務アプリケーションが用いる業務ユーザ情報に設けられた業務項目に応じて統合項目が設けられた統合ユーザ情報と、
業務情報によって前記統合項目に格納された統合情報を更新するための更新条件と、
前記業務ユーザ情報に設けられた前記業務項目に格納された前記業務情報に変更があったとき、前記更新条件に基づいて、前記統合ユーザ情報に設けられた前記統合項目に格納された前記統合情報を、前記業務情報によって更新する更新部と、
を有する、情報処理システム。
続きを表示(約 1,300 文字)
【請求項2】
前記更新条件は、前記業務項目に定められた優先度情報に基づく優先条件であり、
前記更新部は、複数の前記業務アプリケーションの業務ユーザ情報の業務項目が前記統合項目に競合設定されているとき、前記業務アプリケーション、前記業務ユーザ情報、又は、前記業務項目の少なくともいずれか一つに対応した優先度に基づいて、更新業務項目を決定し、前記更新業務項目に格納された前記業務情報によって前記統合項目に格納された前記統合情報を更新する、
請求項1に記載の情報処理システム。
【請求項3】
前記更新部は、前記業務アプリケーションから前記業務項目に格納された前記業務情報の変更通知を受信すると、前記変更通知に基づいて、前記統合項目に格納された前記統合情報を更新する、請求項1に記載の情報処理システム。
【請求項4】
統合アプリケーションが前記業務ユーザ情報の書込み権限を有しているとき、前記更新部は、前記統合情報の変更を検出すると、前記業務アプリケーションに前記統合情報によって前記業務情報を更新する、請求項1に記載の情報処理システム。
【請求項5】
前記更新部は、前記統合項目が未入力であり、前記業務項目が入力された情報を有しているとき、前記業務情報によって前記統合情報を更新する、請求項1に記載の情報処理システム。
【請求項6】
前記更新部は、前記業務情報を所定変換規則に基づいて変換し、変換した前記業務情報によって前記統合情報を更新する、請求項1に記載の情報処理システム。
【請求項7】
前記更新条件は、前記統合ユーザ情報に格納されたユーザのユーザ属性に応じて前記更新業務項目を決定可能な条件である、請求項2に記載の情報処理システム。
【請求項8】
前記業務ユーザ情報及び前記統合ユーザ情報の各々は、人事に関する情報である、請求項1に記載の情報処理システム。
【請求項9】
業務アプリケーションが用いる業務ユーザ情報に設けられた業務項目に応じて統合項目が設けられた統合ユーザ情報と、
業務情報によって前記統合項目に格納された統合情報を更新するための更新条件と、
を用意し、
更新部により、前記業務ユーザ情報に設けられた前記業務項目に格納された前記業務情報に変更があったとき、前記更新条件に基づいて、前記統合ユーザ情報に設けられた前記統合項目に格納された前記統合情報を、前記業務情報によって更新する、
情報処理方法。
【請求項10】
業務アプリケーションが用いる業務ユーザ情報に設けられた業務項目に応じて統合項目が設けられた統合ユーザ情報と、
業務情報によって前記統合項目に格納された統合情報を更新するための更新条件と、
を用意し、
前記業務ユーザ情報に設けられた前記業務項目に格納された前記業務情報に変更があったとき、前記更新条件に基づいて、前記統合ユーザ情報に設けられた前記統合項目に格納された前記統合情報を、前記業務情報によって更新する更新部のコードを、
コンピュータに実行させる情報処理プログラム。
発明の詳細な説明
【技術分野】
【0001】
本発明は、ユーザ情報を管理する情報処理システム、情報処理方法及び情報処理プログラムに関する。
続きを表示(約 1,800 文字)
【背景技術】
【0002】
従来、企業等の組織の業務を効率化できるように、記憶装置に記憶された人事情報等のユーザ情報を活用して各種のサービスを提供する業務アプリケーションがある。
【0003】
例えば、特開2021-5310号公報には、第1のユーザ又は第2のユーザの装置が保持する表計算ソフトへ入力され、入力された情報は、ユーザの操作に応じて当該表計算ソフトが実行するスクリプトによって人事評価支援装置へ送信され、出力制御部は、複数の第1のユーザの評価に関する情報を一覧表示する集計用一覧表を第2のユーザの装置に出力し、第1のユーザの評価に関する情報を表計算ソフトの所定の表示位置にマッピングして表示させ、データ登録部は、第2のユーザが表計算ソフトを介して入力する複数の第1のユーザの評価を表す情報をまとめて取得し、記憶装置に登録する人事評価支援装置が開示される。
【0004】
近年、業務アプリケーションは、多様化しており、組織では、業務や部門等に応じ、複数の業務アプリケーションを導入することがある。
【先行技術文献】
【特許文献】
【0005】
特開2021-5310号公報
【発明の概要】
【発明が解決しようとする課題】
【0006】
しかしながら、従来の情報処理システムでは、複数の業務アプリケーションを用いる場合、組織の従業者に、新規加入や、退職、転勤、職位の変更等の異動があると、人事情報等を含むユーザ情報を、複数の業務アプリケーションの各々について変更しなければならず、管理者の作業負担が大きい。また、業務アプリケーションの各々が保有するユーザ情報のデータ項目は必ずしも同じではなく、ユーザ情報の各々を互いに整合させることが難しくなることもある。さらに、業務アプリケーションの数の増加に伴って業務アプリケーションが用いるユーザ情報の数が増加すると、入力漏れや入力誤り等を生じさせる可能性が高くなり、ユーザ情報の信頼性が低下する懸念もある。
【0007】
そこで、本発明の実施形態は、複数の業務アプリケーションを用いる場合において、マスターデータとして、ユーザ情報を統合させた信頼性の高い統合ユーザ情報を保有することができ、ユーザ情報の管理にかかる作業負担を軽減させることができる、情報処理システム、情報処理方法及び情報処理プログラムを提供することを目的とする。
【課題を解決するための手段】
【0008】
実施形態の情報処理システムは、業務アプリケーションが用いる業務ユーザ情報に設けられた業務項目に応じて統合項目が設けられた統合ユーザ情報と、業務情報によって前記統合項目に格納された統合情報を更新するための更新条件と、前記業務ユーザ情報に設けられた前記業務項目に格納された前記業務情報に変更があったとき、前記更新条件に基づいて、前記統合ユーザ情報に設けられた前記統合項目に格納された前記統合情報を、前記業務情報によって更新する更新部とを有する。
【0009】
実施形態の情報処理方法は、業務アプリケーションが用いる業務ユーザ情報に設けられた業務項目に応じて統合項目が設けられた統合ユーザ情報と、業務情報によって前記統合項目に格納された統合情報を更新するための更新条件と、を用意し、更新部により、前記業務ユーザ情報に設けられた前記業務項目に格納された前記業務情報に変更があったとき、前記更新条件に基づいて、前記統合ユーザ情報に設けられた前記統合項目に格納された前記統合情報を、前記業務情報によって更新する。
【0010】
実施形態の情報処理プログラムは、業務アプリケーションが用いる業務ユーザ情報に設けられた業務項目に応じて統合項目が設けられた統合ユーザ情報と、業務情報によって前記統合項目に格納された統合情報を更新するための更新条件と、を用意し、前記業務ユーザ情報に設けられた前記業務項目に格納された前記業務情報に変更があったとき、前記更新条件に基づいて、前記統合ユーザ情報に設けられた前記統合項目に格納された前記統合情報を、前記業務情報によって更新する更新部のコードをコンピュータに実行させる。
【発明の効果】
(【0011】以降は省略されています)
この特許をJ-PlatPat(特許庁公式サイト)で参照する
関連特許
フリー株式会社
情報処理システム
12日前
パナソニックエイジフリー株式会社
便器
29日前
フリー株式会社
プログラム、情報処理装置及び方法
29日前
フリー株式会社
情報処理システム、情報処理方法、及び、情報処理プログラム
11日前
フリー株式会社
情報処理システム、情報処理方法、及び、情報処理プログラム
19日前
フリー株式会社
情報処理システム、情報処理方法、及び、情報処理プログラム
29日前
フリー株式会社
情報処理システム
12日前
フリー株式会社
プログラム、情報処理装置及び方法
29日前
フリー株式会社
情報処理システム、情報処理方法、及び、情報処理プログラム
11日前
フリー株式会社
情報処理システム、情報処理方法、及び、情報処理プログラム
19日前
フリー株式会社
情報処理システム、情報処理方法、及び、情報処理プログラム
29日前
個人
ネットワークシステム、デバイスおよび処理方法
1か月前
個人
工程設計支援装置
1か月前
個人
フラワーコートA
2か月前
個人
地球保全システム
6日前
個人
為替ポイント伊達夢貯
1か月前
個人
冷凍食品輸出支援構造
1か月前
個人
介護情報提供システム
2か月前
個人
表変換編集支援システム
26日前
個人
携帯情報端末装置
1か月前
個人
知財出願支援AIシステム
1か月前
個人
結婚相手紹介支援システム
1か月前
個人
知的財産出願支援システム
今日
個人
行動時間管理システム
28日前
個人
AIによる情報の売買の仲介
1か月前
個人
パスワード管理支援システム
26日前
個人
システム及びプログラム
19日前
個人
食品レシピ生成システム
5日前
株式会社キーエンス
受発注システム
5日前
日本精機株式会社
施工管理システム
1か月前
株式会社キーエンス
受発注システム
5日前
株式会社キーエンス
受発注システム
5日前
個人
パスポートレス入出国システム
1か月前
株式会社アジラ
進入判定装置
1か月前
個人
海外支援型農作物活用システム
18日前
個人
AIキャラクター制御システム
26日前
続きを見る
他の特許を見る