TOP
|
特許
|
意匠
|
商標
特許ウォッチ
Twitter
他の特許を見る
公開番号
2025130670
公報種別
公開特許公報(A)
公開日
2025-09-08
出願番号
2024177272,2024027933
出願日
2024-10-09,2024-02-27
発明の名称
情報処理システム、情報処理方法、及び、情報処理プログラム
出願人
フリー株式会社
代理人
個人
主分類
G06Q
40/12 20230101AFI20250901BHJP(計算;計数)
要約
【課題】 ユーザが、より簡便かつ確実に、給与や報酬の支払額の計算に必要な情報の入力漏れや入力誤りがないか、確かめることができる、情報処理システムを提供する。
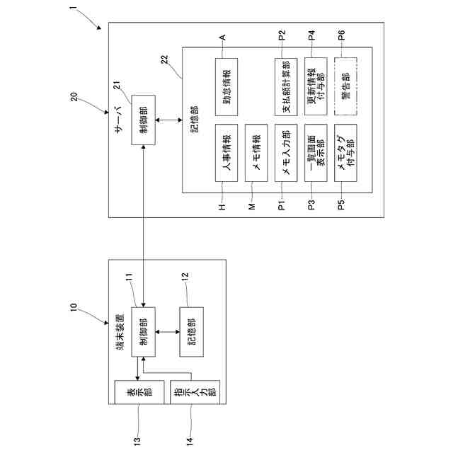
【解決手段】 情報処理システム1は、メモ入力部P1、一覧画面表示部P3、及び、メモタグ付与部P5を有する。一覧画面表示部P3は、支払対象者の今回計算対象期間における今回支払額、今回計算対象期間よりも前の前回以前計算対象期間における前回以前支払額、及び、前回以前支払額と今回支払額の差額を一覧画面Gに一覧表示する。メモタグ付与部P5は、今回計算対象期間において、支払対象者に対応付けられたメモ情報Mを取得し、一覧画面Gに表示された支払対象者に、メモ情報Mに応じたメモタグMtを付与する。
【選択図】図2
特許請求の範囲
【請求項1】
給与又は報酬の少なくとも一方の支払額に関する支払対象者に生じたイベントを記録するためのメモ情報の指示入力をユーザから受け付け、指示入力された前記メモ情報を前記支払対象者に対応付けて記憶部に記憶させるメモ入力部と、
前記支払対象者の今回計算対象期間における今回支払額、前記今回計算対象期間よりも前の前回以前計算対象期間における前回以前支払額、及び、前記前回以前支払額と前記今回支払額の差額を一覧画面に一覧表示する一覧画面表示部と、
前記今回計算対象期間において、前記支払対象者に対応付けられた前記メモ情報を取得し、前記一覧画面に表示された前記支払対象者に、前記メモ情報に応じたメモタグを付与するメモタグ付与部と、
を有する情報処理システム。
続きを表示(約 1,600 文字)
【請求項2】
更新情報付与部を有し、
前記更新情報付与部は、前記支払対象者について、人事情報及び/又は勤怠情報の中から前記今回計算対象期間における更新情報を検出し、前記一覧画面における前記支払対象者に前記更新情報を示す更新アイコンを付与する、
請求項1に記載の情報処理システム。
【請求項3】
支払額計算部を有し、
前記支払額計算部は、前記人事情報及び/又は前記勤怠情報に基づいて、所定支払額計算処理によって前記今回支払額を算出する、
請求項2に記載の情報処理システム。
【請求項4】
前記一覧画面表示部は、前記一覧画面に、前記支払対象者の各々についての名前、雇用形態、前記前回以前支払額、前記今回支払額、前記差額、前記更新アイコン、及び、前記メモタグを一覧表示する、請求項2に記載の情報処理システム。
【請求項5】
前記一覧画面表示部は、前記更新アイコン及び前記メモタグのいずれも表示されないとき、変更がないことを示す表示を行う、請求項2に記載の情報処理システム。
【請求項6】
前記支払額計算部は、前記人事情報及び前記勤怠情報にデータ項目を有しない個別増減額の指示入力を受け付け、前記個別増減額を含めて給与の支払額を算出する、請求項3に記載の情報処理システム。
【請求項7】
前記一覧画面表示部は、前記支払対象者の各々について、前記前回以前支払額、前記今回支払額、前記差額、更新情報、及び、前記メモタグを表示する、請求項1に記載の情報処理システム。
【請求項8】
警告部を有し、
前記警告部は、前記支払対象者について、前記更新アイコン及び/又は前記メモタグが表示されているにもかかわらず、前記前回以前支払額と前記今回支払額の差額が生じていない場合、若しくは、前記更新アイコン及び前記メモタグのいずれも表示されていないにもかかわらず、前記前回以前支払額と前記今回支払額の差額が生じている場合に、前記一覧画面に警告表示を行う、
請求項2に記載の情報処理システム。
【請求項9】
メモ入力部により、給与又は報酬の少なくとも一方の支払額に関する支払対象者に生じたイベントを記録するためのメモ情報の指示入力をユーザから受け付け、指示入力された前記メモ情報を前記支払対象者に対応付けて記憶部に記憶させ、
一覧画面表示部により、前記支払対象者の今回計算対象期間における今回支払額、前記今回計算対象期間よりも前の前回以前計算対象期間における前回以前支払額、及び、前記前回以前支払額と前記今回支払額の差額を一覧画面に一覧表示し、
メモタグ付与部により、前記今回計算対象期間において、前記支払対象者に対応付けられた前記メモ情報を取得し、前記一覧画面に表示された前記支払対象者に、前記メモ情報に応じたメモタグを付与する、
情報処理方法。
【請求項10】
給与又は報酬の少なくとも一方の支払額に関する支払対象者に生じたイベントを記録するためのメモ情報の指示入力をユーザから受け付け、指示入力された前記メモ情報を前記支払対象者に対応付けて記憶部に記憶させるメモ入力部のコードと、
前記支払対象者の今回計算対象期間における今回支払額、前記今回計算対象期間よりも前の前回以前計算対象期間における前回以前支払額、及び、前記前回以前支払額と前記今回支払額の差額を一覧画面に一覧表示する一覧画面表示部のコードと、
前記今回計算対象期間において、前記支払対象者に対応付けられた前記メモ情報を取得し、前記一覧画面に表示された前記支払対象者に、前記メモ情報に応じたメモタグを付与するメモタグ付与部のコードと、
をコンピュータに実行させる情報処理プログラム。
発明の詳細な説明
【技術分野】
【0001】
本発明は、情報処理システム、情報処理方法、及び、情報処理プログラムに関する。
続きを表示(約 2,000 文字)
【背景技術】
【0002】
従来、企業等の組織の給与や報酬を管理する情報処理システムがある。情報処理システムは、給与等の支払額に間違いが生じないように、給与等の支払額の計算を行い、その計算の結果をユーザが確かめるための機能を備えることがある。例えば、特開2019-56994号公報には、給与計算に関する項目についての今回の計算結果である今回計算結果と今回より前の計算結果である前回以前計算結果との間で差異がある差異項目を検出し、差異項目についての今回計算結果および前回以前計算結果をオペレータが識別可能な態様で、今回計算結果と前回以前計算結果とを表示する計算結果表示装置が開示される。
【0003】
一般に、給与等の支払額は、例えば、支払対象者である従業員等の残業、早退、遅刻、欠勤等の勤怠や、引っ越し、結婚や出産による扶養家族の数の変更等のイベントに応じて変更されることがある。
【先行技術文献】
【特許文献】
【0004】
特開2019-56994号公報
【発明の概要】
【発明が解決しようとする課題】
【0005】
しかしながら、従来の情報処理システムでは、勤怠やイベントに応じた支払額の変更が多くなると、今回計算結果と前回以前計算結果を表示するだけでは、計算に必要な情報の入力漏れや、入力誤りに気付くことができない可能性が増大する。
【0006】
そこで、本発明の実施形態は、ユーザが、より簡便かつ確実に、給与や報酬の支払額の計算に必要な情報の入力漏れや入力誤りがないか、確かめることができる、情報処理システム、情報処理方法、及び、情報処理プログラムを提供することを目的とする。
【課題を解決するための手段】
【0007】
実施形態に係る情報処理システムは、メモ入力部、一覧画面表示部、及び、メモタグ付与部を有する。前記メモ入力部は、給与又は報酬の少なくとも一方の支払額に関する支払対象者に生じたイベントを記録するためのメモ情報の指示入力をユーザから受け付け、指示入力された前記メモ情報を前記支払対象者に対応付けて記憶部に記憶させる。前記一覧画面表示部は、前記支払対象者の今回計算対象期間における今回支払額、前記今回計算対象期間よりも前の前回以前計算対象期間における前回以前支払額、及び、前記前回以前支払額と前記今回支払額の差額を一覧画面に一覧表示する。前記メモタグ付与部は、前記今回計算対象期間において、前記支払対象者に対応付けられた前記メモ情報を取得し、前記一覧画面に表示された前記支払対象者に、前記メモ情報に応じたメモタグを付与する。
【0008】
実施形態に係る情報処理方法は、メモ入力部により、給与又は報酬の少なくとも一方の支払額に関する支払対象者に生じたイベントを記録するためのメモ情報の指示入力をユーザから受け付け、指示入力された前記メモ情報を前記支払対象者に対応付けて記憶部に記憶させ、一覧画面表示部により、前記支払対象者の今回計算対象期間における今回支払額、前記今回計算対象期間よりも前の前回以前計算対象期間における前回以前支払額、及び、前記前回以前支払額と前記今回支払額の差額を一覧画面に一覧表示し、メモタグ付与部により、前記今回計算対象期間において、前記支払対象者に対応付けられた前記メモ情報を取得し、前記一覧画面に表示された前記支払対象者に、前記メモ情報に応じたメモタグを付与する。
【0009】
実施形態に係る情報処理プログラムは、メモ入力部のコード、一覧画面表示部のコード、及び、メモタグ付与部のコードを有する。前記メモ入力部のコードは、給与又は報酬の少なくとも一方の支払額に関する支払対象者に生じたイベントを記録するためのメモ情報の指示入力をユーザから受け付け、指示入力された前記メモ情報を前記支払対象者に対応付けて記憶部に記憶させる。前記一覧画面表示部のコードは、前記支払対象者の今回計算対象期間における今回支払額、前記今回計算対象期間よりも前の前回以前計算対象期間における前回以前支払額、及び、前記前回以前支払額と前記今回支払額の差額を一覧画面に一覧表示する。前記メモタグ付与部のコードは、前記今回計算対象期間において、前記支払対象者に対応付けられた前記メモ情報を取得し、前記一覧画面に表示された前記支払対象者に、前記メモ情報に応じたメモタグを付与する。
【発明の効果】
【0010】
本発明の実施形態によれば、ユーザが、より簡便かつ確実に、給与や報酬の支払額の計算に必要な情報の入力漏れや入力誤りがないか、確かめることができる、情報処理システム、情報処理方法、及び、情報処理プログラムを提供することができる。
【図面の簡単な説明】
(【0011】以降は省略されています)
この特許をJ-PlatPat(特許庁公式サイト)で参照する
関連特許
個人
工程設計支援装置
1か月前
個人
地球保全システム
9日前
個人
フラワーコートA
2か月前
個人
介護情報提供システム
2か月前
個人
為替ポイント伊達夢貯
1か月前
個人
冷凍食品輸出支援構造
1か月前
個人
残土処理システム
2日前
個人
携帯情報端末装置
1か月前
個人
表変換編集支援システム
29日前
個人
設計支援システム
2か月前
個人
設計支援システム
2か月前
個人
知財出願支援AIシステム
1か月前
個人
結婚相手紹介支援システム
1か月前
個人
知的財産出願支援システム
3日前
個人
AIによる情報の売買の仲介
1か月前
個人
行動時間管理システム
1か月前
個人
パスワード管理支援システム
29日前
個人
食品レシピ生成システム
8日前
株式会社キーエンス
受発注システム
8日前
個人
アンケート支援システム
2か月前
日本精機株式会社
施工管理システム
1か月前
個人
AIキャラクター制御システム
29日前
個人
システム及びプログラム
22日前
株式会社アジラ
進入判定装置
1か月前
株式会社キーエンス
受発注システム
8日前
株式会社キーエンス
受発注システム
8日前
個人
海外支援型農作物活用システム
21日前
個人
パスポートレス入出国システム
1か月前
大同特殊鋼株式会社
疵判定方法
15日前
大阪瓦斯株式会社
住宅設備機器
1か月前
個人
音声対話型帳票生成支援システム
29日前
個人
食事受注会計処理システム
1か月前
個人
SaaS型勤務調整支援システム
29日前
キヤノン株式会社
表示システム
8日前
個人
ジェスチャーパッドのガイド部材
2か月前
個人
冷凍加工連携型農場運用システム
1か月前
続きを見る
他の特許を見る