TOP
|
特許
|
意匠
|
商標
特許ウォッチ
Twitter
他の特許を見る
公開番号
2025139747
公報種別
公開特許公報(A)
公開日
2025-09-29
出願番号
2024038754
出願日
2024-03-13
発明の名称
波長可変干渉フィルター
出願人
セイコーエプソン株式会社
代理人
個人
,
個人
,
個人
主分類
G02B
26/00 20060101AFI20250919BHJP(光学)
要約
【課題】ダイアフラム部の耐衝撃性が高く信頼性に優れた波長可変干渉フィルターを提供すること。
【解決手段】波長可変干渉フィルターは、第1反射膜を有する第1基板と、前記第1反射膜と対向する第2反射膜を有する第2基板と、を備え、前記第2基板は、前記第2反射膜が配置された可動部を囲う円環状の溝を含むダイアフラム部と、前記第2反射膜を囲う円環状の第2電極とを有し、前記第1基板は、前記第2電極と向い合う第1電極を有し、前記第1電極と前記第2電極との間に電圧を印加することにより、前記第1反射膜と前記第2反射膜とのギャップを変更してなり、前記第2反射膜を形成する多層膜が、前記ダイアフラム部を覆って形成されており、前記多層膜は、多層間の電気的導通を取る導通構造を含み、前記導通構造は、前記第2反射膜の中心対称に配置された導通部を含む。
【選択図】図6
特許請求の範囲
【請求項1】
第1反射膜を有する第1基板と、
前記第1反射膜と対向する第2反射膜を有する第2基板と、を備え、
前記第2基板は、前記第2反射膜が配置された可動部を囲う円環状の溝を含むダイアフラム部と、前記第2反射膜を囲う円環状の第2電極とを有し、
前記第1基板は、前記第2電極と向い合う第1電極を有し、
前記第1電極と前記第2電極との間に電圧を印加することにより、前記第1反射膜と前記第2反射膜とのギャップを変更する波長可変干渉フィルターであって、
前記第2反射膜を形成する多層膜が、前記ダイアフラム部を覆って形成されており、
前記多層膜は、多層間の電気的導通を取る導通構造を含み、
前記導通構造は、前記第2反射膜の中心対称に配置された導通部を含む、
波長可変干渉フィルター。
続きを表示(約 400 文字)
【請求項2】
前記導通部は、前記可動部から放射状に前記ダイアフラム部に渡る配線パターンを含む、
請求項1に記載の波長可変干渉フィルター。
【請求項3】
前記第2基板の前記第2反射膜および前記第2電極は、同電位である、
請求項1に記載の波長可変干渉フィルター。
【請求項4】
前記多層膜の端面は、電気的導通を取るための導電性材料で覆われる、
請求項1に記載の波長可変干渉フィルター。
【請求項5】
前記導電性材料は、前記多層膜を構成する光学膜の1層である、
請求項4に記載の波長可変干渉フィルター。
【請求項6】
前記導通部は、前記第2反射膜を囲う円環状の円環パターンを含み、
前記放射状の前記配線パターンは、前記円環パターンから引き出される、
請求項2に記載の波長可変干渉フィルター。
発明の詳細な説明
【技術分野】
【0001】
本発明は、波長可変干渉フィルターに関する。
続きを表示(約 1,900 文字)
【背景技術】
【0002】
従来、互いに対向する一対の反射ミラーと、静電アクチュエーターとを有し、一対の反射ミラー間の距離を変化させることで、測定対象の光から所定波長の光を選択して射出させる波長可変干渉フィルターが知られている。反射ミラーとしては、低屈折率材料と高屈折率材料を積層した多層膜の反射ミラーが用いられていたが、高屈折率材料が導電材料であることに起因して、多層膜内に浮遊電極ができ、電荷が溜まることで静電アクチュエーターの駆動を阻害する要因となっていた。
【0003】
この点を鑑み、例えば、特許文献1では、電荷蓄積を防ぐために、反射ミラーの端面に電気配線を接続することにより電気導通を取り電荷を逃がすことが開示されている。
【0004】
また、一対の反射ミラー間の距離は、ダイアフラム部を備えた可動基板側の反射ミラーが、固定基板側の反射ミラーに対して進退することにより調整される。このダイアフラム部は、反射ミラーが配置された可動部を囲う円環状の溝による薄肉部により構成されているが、厚さが薄く構造的に弱い部分であった。
【先行技術文献】
【特許文献】
【0005】
特開2015-212752号公報
【発明の概要】
【発明が解決しようとする課題】
【0006】
しかしながら、特許文献1には、改善の余地があった。詳しくは、特許文献1には、ダイアフラム部の強度改善に関する記載も示唆も見当たらない。
つまり、ダイアフラム部の耐衝撃性が高く信頼性に優れた波長可変干渉フィルターが求められていた。
【課題を解決するための手段】
【0007】
本願の一態様に係る波長可変干渉フィルターは、第1反射膜を有する第1基板と、前記第1反射膜と対向する第2反射膜を有する第2基板と、を備え、前記第2基板は、前記第2反射膜が配置された可動部を囲う円環状の溝を含むダイアフラム部と、前記第2反射膜を囲う円環状の第2電極とを有し、前記第1基板は、前記第2電極と向い合う第1電極を有し、前記第1電極と前記第2電極との間に電圧を印加することにより、前記第1反射膜と前記第2反射膜とのギャップを変更してなり、前記第2反射膜を形成する多層膜が、前記ダイアフラム部を覆って形成されており、前記多層膜は、多層間の電気的導通を取る導通構造を含み、前記導通構造は、前記第2反射膜の中心対称に配置された導通部を含む。
【図面の簡単な説明】
【0008】
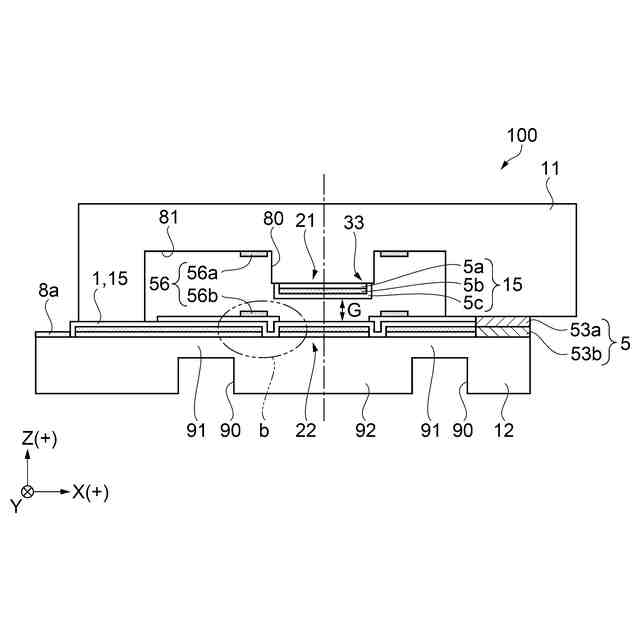
実施形態1に係る光学デバイスの平面図。
光学デバイスの断面図。
波長可変干渉フィルターの平面図。
波長可変干渉フィルターの断面図。
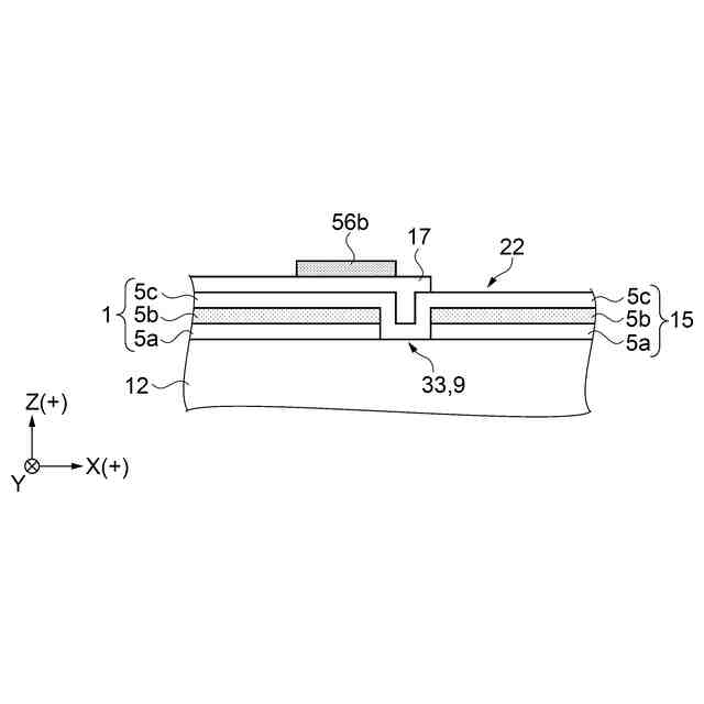
図4のb部の拡大図。
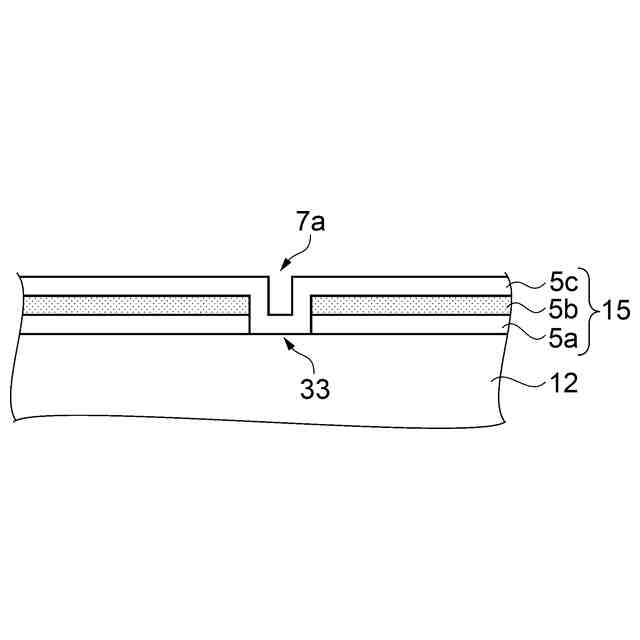
多層膜の平面態様を示す平面図。
図6のc-c断面における断面図。
多層膜の配置態様に応じたダイアフラム部の変形量を示すグラフ図。
本実施形態の多層膜によるシミュレーション結果を示す斜視図。
比較例の多層膜によるシミュレーション結果を示す斜視図。
実施形態2に係る分光カメラの概略構成図。
【発明を実施するための形態】
【0009】
実施形態1
***光学デバイスの構成***
図1は、光学デバイスの平面図である。図2は、光学デバイスの断面図である。
本実施形態に係る光学デバイス200、および、波長可変干渉フィルター100の構成について、図1、図2を用いて説明する。各図には、互いに直交する3軸であるX軸、Y軸およびZ軸を図示している。本実施形態では、長方形状をなした光学デバイス200の長辺の延在方向をXプラス方向としている。X軸に沿った方向を「X方向」、Y軸に沿った方向を「Y方向」、Z軸に沿った方向を「Z方向」という。例えば、Y方向とは、Y方向プラス側とY方向マイナス側との両方の方向をいう。また、Z方向プラス側を「上」、Z方向マイナス側を「下」とも言う。また、以下の各図においては、説明を分かりやすくするため、実際とは異なる寸法や尺度で記載している場合がある。
【0010】
光学デバイス200は、入射した検査対象光から、所定の目的波長の光を取り出して射出させる装置であり、筐体60と、筐体60の内部に収納される波長可変干渉フィルター100を備えた光学フィルターデバイスである。光学デバイス200は、例えば、測色センサー等の光学モジュールや、測色装置やガス分析装置等の電子機器に好適に適用し得る。
(【0011】以降は省略されています)
この特許をJ-PlatPat(特許庁公式サイト)で参照する
関連特許
キヤノン株式会社
映像表示装置
11日前
インターマン株式会社
立体映像表示装置
11日前
個人
透過型及び反射型顕微鏡
11日前
キヤノン株式会社
画像表示装置
19日前
東レ株式会社
プラスチック光ファイバ
21日前
レーザーテック株式会社
検査装置及び検査方法
1日前
キヤノン株式会社
表示装置
4日前
キヤノン株式会社
光学系及び撮像装置
5日前
東レ株式会社
先端に凸面を有する光ファイバ
11日前
株式会社小糸製作所
画像生成装置
20日前
日東電工株式会社
光学積層体
12日前
株式会社小糸製作所
画像投影装置
12日前
株式会社小糸製作所
画像投影装置
11日前
KDDI株式会社
光増幅器
11日前
KDDI株式会社
光増幅器
11日前
セイコーエプソン株式会社
虚像表示装置
1日前
レーザーテック株式会社
波長変換装置及び波長変換方法
5日前
遠視界科技股分有限公司
高視野角拡大装置
13日前
株式会社キーエンス
観察装置
21日前
株式会社フォトニックラティス
透過型光学顕微鏡
5日前
キヤノン株式会社
映像表示装置
1日前
TOPPANホールディングス株式会社
調光シート
13日前
TOPPANホールディングス株式会社
調光シート
13日前
大日本印刷株式会社
レンズアレイ及び表示装置
21日前
日本碍子株式会社
導波素子の製造方法
4日前
富士フイルム株式会社
レンズ装置
1日前
国立大学法人徳島大学
マイクロ光共振器、及び光周波数コム発生装置
11日前
国立大学法人徳島大学
マイクロ光共振器、及び光周波数コム発生装置
11日前
国立大学法人徳島大学
マイクロ光共振器、及び光周波数コム発生装置
11日前
国立大学法人徳島大学
マイクロ光共振器、及び光周波数コム発生装置
11日前
住友化学株式会社
粘着剤付き偏光板及び表示装置
21日前
株式会社ニコン
光学系、光学機器及び光学系の製造方法
12日前
日東電工株式会社
偏光フィルム
19日前
株式会社ニコン
光学系、光学機器及び光学系の製造方法
12日前
セイコーエプソン株式会社
虚像表示装置及び光学ユニット
1日前
キヤノン株式会社
光学系及びそれを有する撮像装置
1日前
続きを見る
他の特許を見る