TOP
|
特許
|
意匠
|
商標
特許ウォッチ
Twitter
他の特許を見る
10個以上の画像は省略されています。
公開番号
2025140975
公報種別
公開特許公報(A)
公開日
2025-09-29
出願番号
2024040652
出願日
2024-03-15
発明の名称
虚像表示装置及び光学ユニット
出願人
セイコーエプソン株式会社
代理人
個人
,
個人
主分類
G02B
27/02 20060101AFI20250919BHJP(光学)
要約
【課題】虚像表示装置の光の利用効率及び画質を向上させること。
【解決手段】虚像表示装置100Aは、映像光MLを射出する表示パネル11aと、表示パネル11aからの映像光MLをコリメートし波長毎に焦点距離が異なる偏光回折レンズ21と、波長に対応する複数の導光部材51,52,53と、を備え、複数の導光部材51,52,53は、映像光MLを導光する導光板51a,52a,53aと、導光板51a,52a,53aに映像光MLを入射させる入力回折光学素子DIと、導光板51a,52a,53aから映像光MLを射出させる出力回折光学素子DOとをそれぞれ有する。
【選択図】図4
特許請求の範囲
【請求項1】
映像光を射出する表示パネルと、
前記表示パネルからの前記映像光をコリメートし波長毎に焦点距離が異なる偏光回折レンズと、
前記波長に対応する複数の導光部材と、
を備え、
前記複数の導光部材は、前記映像光を導光する導光板と、前記導光板に前記映像光を入射させる入力回折光学素子と、前記導光板から前記映像光を射出させる出力回折光学素子とをそれぞれ有する、
虚像表示装置。
続きを表示(約 1,300 文字)
【請求項2】
前記偏光回折レンズの前記波長に対応する射出瞳は、前記波長に対応する前記入力回折光学素子の位置に設定される、
請求項1に記載の虚像表示装置。
【請求項3】
前記波長に対応する前記入力回折光学素子のサイズは、前記偏光回折レンズの前記波長に対応する射出瞳のサイズと一致するように設定される、
請求項1に記載の虚像表示装置。
【請求項4】
前記映像光は、波長域が異なる第1映像光、第2映像光、及び第3映像光を含み、
前記第1映像光は、赤の波長域を有し、
前記第2映像光は、緑の波長域を有し、
前記第3映像光は、青の波長域を有し、
前記偏光回折レンズは、前記第1映像光、前記第2映像光、及び前記第3映像光の順で焦点距離が長くなる、
請求項1に記載の虚像表示装置。
【請求項5】
前記映像光は、波長域が異なる第1映像光、第2映像光、及び第3映像光を含み、
前記複数の導光部材は、前記第1映像光を回折する第1導光部材と、前記第2映像光を回折する第2導光部材と、前記第2映像光を回折する第3導光部材とを有する、
請求項1に記載の虚像表示装置。
【請求項6】
前記映像光は、波長域が異なる第1映像光、第2映像光、及び第3映像光を含み、
前記第1映像光は、赤の波長域を有し、
前記第2映像光は、緑の波長域を有し、
前記第3映像光は、青の波長域を有し、
前記偏光回折レンズ側から順に、前記第1導光部材と、前記第2導光部材と、前記第3導光部材とが配列される、
請求項1に記載の虚像表示装置。
【請求項7】
前記映像光は、波長域が異なる第1映像光、第2映像光、及び第3映像光を含み、
前記第1映像光を射出する前記表示パネルである第1表示パネルと、
前記第1映像光とは波長域が異なる前記第2映像光を射出する第2表示パネルと、
前記第1映像光及び前記第2映像光とは波長域が異なる前記第3映像光を射出する第3表示パネルと、
前記第1映像光、前記第2映像光、及び前記第3映像光を合成するクロスダイクロイックプリズムと、を備える、
請求項1に記載の虚像表示装置。
【請求項8】
前記クロスダイクロイックプリズムと、前記第1表示パネル、前記第2表示パネル、及び前記第3表示パネルとの間に光学レンズを有する、
請求項7の記載の虚像表示装置。
【請求項9】
映像光を射出する表示パネルと、
前記表示パネルからの前記映像光をコリメートし波長毎に焦点距離が異なる偏光回折レンズと、
前記波長に対応する複数の導光部材と、
を備え、
前記複数の導光部材は、前記映像光を導光する導光板と、前記導光板に前記映像光を入射させる入力回折光学素子と、前記導光板から前記映像光を射出させる出力回折光学素子とをそれぞれ有する、
光学ユニット。
発明の詳細な説明
【技術分野】
【0001】
本発明は、虚像の観察を可能にする虚像表示装置及び光学ユニットに関する。
続きを表示(約 2,000 文字)
【背景技術】
【0002】
虚像表示装置として、映像光を射出する映像投影部と、映像投影部で射出された映像光を装着者の眼まで伝搬させる導光板とを備えるものがある(特許文献1)。導光板は、入射光を回折する光回折部を有する。光回折部では、導光板の入射面に対する角度が異なる複数のホログラムが形成されており、ある平行光線を入射したときに複数のホログラムによって異なる波長を回折する。
【先行技術文献】
【特許文献】
【0003】
特開2021-33047号公報
【発明の概要】
【発明が解決しようとする課題】
【0004】
特許文献1の装置では、映像投影部から射出されるRGBの光を導光板に入射させると、映像投影部を構成する同一のレンズの作用によりRGB全ての波長について瞳の位置が略同じとなる。導光板がRGBの光に対応するように複数枚で構成される場合、RGBの光の利用効率が変わるため、色むらが生じて画質が劣化するという問題がある。
【課題を解決するための手段】
【0005】
本発明の一側面における虚像表示装置又は光学ユニットは、映像光を射出する表示パネルと、表示パネルからの映像光をコリメートし波長毎に焦点距離が異なる偏光回折レンズと、波長に対応する複数の導光部材と、を備え、複数の導光部材は、映像光を導光する導光板と、導光板に映像光を入射させる入力回折光学素子と、導光板から映像光を射出させる出力回折光学素子とをそれぞれ有する。
【図面の簡単な説明】
【0006】
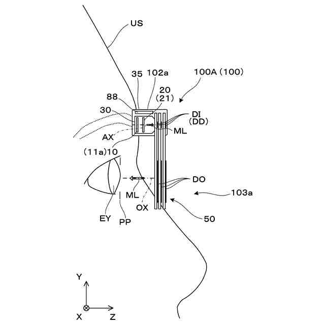
第1実施形態であるHMDの装着状態を説明する斜視図である。
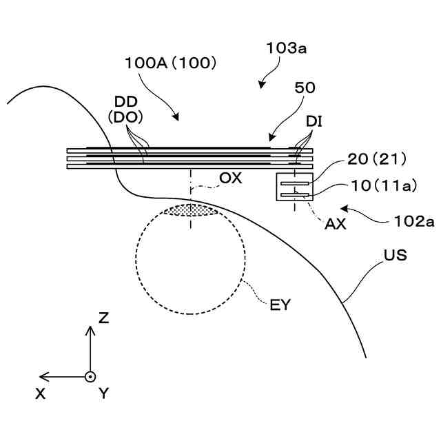
虚像表示装置を構成する光学系の配置等を説明する側面図である。
虚像表示装置を構成する光学系の配置等を説明する平面図である。
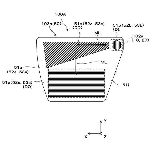
虚像表示装置を構成する光学系を説明する断面図である。
第1導光光学系を主に説明する背面図である。
第2実施形態における光学系を説明する概念図である。
第3実施形態における光学系を説明する概念図である。
第4実施形態における光学系を説明する概念図である。
第5実施形態における光学系を説明する概念図である。
【発明を実施するための形態】
【0007】
〔第1実施形態〕
以下、図1~5を参照して、本発明に係る虚像表示装置の第1実施形態について説明する。
【0008】
図1は、頭部装着型表示装置(以下、ヘッドマウントディスプレイ又はHMDとも称する。)200の装着状態を説明する図である。HMD200は、これを装着する観察者又は装着者USに虚像としての映像を認識させる。図1等において、X、Y、及びZは、直交座標系であり、+X方向は、HMD200を装着した観察者又は装着者USの両眼EYの並ぶ横方向に対応し、+Y方向は、装着者USにとっての両眼EYの並ぶ横方向に直交する上方向に相当し、+Z方向は、装着者USにとっての前方向又は正面方向に相当する。±Y方向は、鉛直軸又は鉛直方向に平行になっている。
【0009】
HMD200は、右眼用の第1虚像表示装置100Aと、左眼用の第2虚像表示装置100Bと、虚像表示装置100A,100Bを支持するテンプル状の一対の支持装置100Cと、情報端末であるユーザー端末90とを備える。第1虚像表示装置100Aは、単独でHMDとして機能し、上部に配置される第1表示駆動部102aと、メガネレンズ状で眼前を覆う第1導光光学系103aとで構成される。第2虚像表示装置100Bも同様に、単独でHMDとして機能し、上部に配置される第2表示駆動部102bと、メガネレンズ状で眼前を覆う第2導光光学系103bとで構成される。第1虚像表示装置100Aと、第2虚像表示装置100Bとを組み合わせたHMD200は、広義の虚像表示装置でもある。支持装置100Cは、装着者USの頭部に装着される装着部材であり、外観上一体化されている表示駆動部102a,102bを介して一対の導光光学系103a,103bの上端側を支持している。一対の表示駆動部102a,102bを組み合わせたものを駆動装置102と呼ぶ。第1虚像表示装置100Aと第2虚像表示装置100Bとは、光学的に左右反転させたものであり、第2虚像表示装置100Bについては、詳細な説明を省略する。
【0010】
図2は、第1虚像表示装置100Aの第1表示駆動部102aと第1導光光学系103aとを具体的に説明する概念的な側面図である。図3は、第1表示駆動部102aと第1導光光学系103aとを具体的に説明する概念的な平面図である。
(【0011】以降は省略されています)
この特許をJ-PlatPat(特許庁公式サイト)で参照する
関連特許
セイコーエプソン株式会社
印刷装置
今日
セイコーエプソン株式会社
印刷装置
今日
セイコーエプソン株式会社
電子制御式機械時計
今日
セイコーエプソン株式会社
インクジェットインク組成物
2日前
セイコーエプソン株式会社
制御方法およびロボットシステム
2日前
セイコーエプソン株式会社
ヘッドユニット、及び液体吐出装置
今日
セイコーエプソン株式会社
ヘッドユニット、及び液体吐出装置
2日前
セイコーエプソン株式会社
プリントヘッド、及び液体吐出装置
2日前
セイコーエプソン株式会社
表示装置および表示装置の制御方法
2日前
セイコーエプソン株式会社
プログラムの更新方法及び情報処理システム
2日前
セイコーエプソン株式会社
情報管理システム、管理装置、プログラム、及びサーバー
今日
セイコーエプソン株式会社
情報管理システム、管理装置、プログラム、及びサーバー
今日
セイコーエプソン株式会社
シート再生システム、シート再生システムの制御方法、及び、サーバー
今日
カンタツ株式会社
光学系
23日前
日本精機株式会社
表示装置
28日前
日本精機株式会社
表示装置
28日前
日本精機株式会社
表示装置
1か月前
株式会社シグマ
高倍率ズームレンズ
1か月前
キヤノン株式会社
映像表示装置
12日前
住友化学株式会社
偏光板
1か月前
アイカ工業株式会社
反射防止フィルム
23日前
インターマン株式会社
立体映像表示装置
12日前
瀚宇彩晶股ふん有限公司
表示パネル
1か月前
日本精機株式会社
ヘッドアップディスプレイ
28日前
沖電気工業株式会社
光導波路素子
28日前
沖電気工業株式会社
光導波路素子
28日前
沖電気工業株式会社
光導波路素子
28日前
個人
透過型及び反射型顕微鏡
12日前
キヤノン株式会社
画像表示装置
20日前
東レ株式会社
プラスチック光ファイバ
22日前
キヤノン株式会社
レンズ装置および撮像装置
今日
レーザーテック株式会社
検査装置及び検査方法
2日前
キヤノン株式会社
表示装置
5日前
株式会社小糸製作所
画像生成装置
21日前
キヤノン株式会社
光学系及び撮像装置
6日前
AGC株式会社
光学素子
1か月前
続きを見る
他の特許を見る