TOP
|
特許
|
意匠
|
商標
特許ウォッチ
Twitter
他の特許を見る
10個以上の画像は省略されています。
公開番号
2025140976
公報種別
公開特許公報(A)
公開日
2025-09-29
出願番号
2024040653
出願日
2024-03-15
発明の名称
光学系及びそれを有する撮像装置
出願人
キヤノン株式会社
代理人
個人
,
個人
,
個人
主分類
G02B
13/00 20060101AFI20250919BHJP(光学)
要約
【課題】小型でありながら深い被写界深度を有する光学系を提供すること。
【解決手段】光学系は、少なくとも一つのレンズユニットと回折光学素子とを有する光学系であって、少なくとも一つのレンズユニットの夫々は、フォーカシングに際して不動であり、光学系の波長850nmにおける焦点距離、光学系の波長950nmにおける焦点距離を各々適切に設定すること。
【選択図】 図1
特許請求の範囲
【請求項1】
少なくとも一つのレンズユニットと回折光学素子とを有する光学系であって、
前記少なくとも一つのレンズユニットの夫々は、フォーカシングに際して不動であり、
前記光学系の波長850nmにおける焦点距離をf85、前記光学系の波長950nmにおける焦点距離をf95とするとき、
0.004<|(f85-f95)/(f85+f95)|<0.200
なる条件式を満足することを特徴とする光学系。
続きを表示(約 980 文字)
【請求項2】
開口絞りを更に有し、
前記回折光学素子から前記開口絞りまでの光軸上の距離をLd、前記光学系の設計波長における焦点距離をfとするとき、
0.05<Ld/f<0.80
なる条件式を満足することを特徴とする請求項1に記載の光学系。
【請求項3】
前記回折光学素子の回折による焦点距離をfdo、前記光学系の焦点距離をfとするとき、
1.0<|fdo/f|<15.0
なる条件式を満足することを特徴とする請求項1又は2に記載の光学系。
【請求項4】
前記回折光学素子の回折による焦点距離をfdoとするとき、
0.0010<(f85―f95)/fdo<0.0400
なる条件式を満足することを特徴とする請求項1又は2に記載の光学系。
【請求項5】
前記回折光学素子から像面までの光軸上の距離をLds、前記光学系の焦点距離をfとするとき、
1.0<Lds/f<4.0
なる条件式を満足することを特徴とする請求項1又は2に記載の光学系。
【請求項6】
前記少なくとも一つのレンズユニットは、基板と該基板上に配置されたレンズとを備えるレンズユニットを含むことを特徴とする請求項1又は2に記載の光学系。
【請求項7】
前記レンズは、負レンズであることを特徴とする請求項6に記載の光学系。
【請求項8】
前記負レンズの焦点距離をfn、前記光学系の焦点距離をfとするとき、
-3.0<fn/f<-0.2
なる条件式を満足することを特徴とする請求項7に記載の光学系。
【請求項9】
前記回折光学素子の回折面は、少なくとも一部が空気に面した面上に形成されていることを特徴とする請求項1又は2に記載の光学系。
【請求項10】
前記回折光学素子の回折格子の格子高さをd(μm)、前記光学系の使用波長範囲の中間値をλm(μm)、前記回折格子を形成する材料の波長λmにおける屈折率をNmとするとき、
0.7<(Nm-1)×d/λm<1.3
なる条件式を満足することを特徴とする請求項1又は2に記載の光学系。
(【請求項11】以降は省略されています)
発明の詳細な説明
【技術分野】
【0001】
本発明は、撮像装置に用いられる光学系に関し、例えば内視鏡やヘッドマウントディスプレイ等に好適なものである。
続きを表示(約 1,700 文字)
【背景技術】
【0002】
特許文献1,2には、内視鏡やヘッドマウントディスプレイ(HMD)に用いられる小型な光学系を製造する方法が記載されている。
【先行技術文献】
【特許文献】
【0003】
米国特許第9798115号明細書
特許5434457号公報
【発明の概要】
【発明が解決しようとする課題】
【0004】
小型化を重視した光学系においては、フォーカス機構を設けることが困難であるため、設計上の物体距離から被写体がずれるとデフォーカスによる結像性能の劣化が生じやすい。
【0005】
本発明は、小型でありながら深い被写界深度を有する光学系を提供することを目的とする。
【課題を解決するための手段】
【0006】
本発明の一側面としての光学系は、少なくとも一つのレンズユニットと回折光学素子とを有する光学系であって、少なくとも一つのレンズユニットの夫々は、フォーカシングに際して不動であり、光学系の波長850nmにおける焦点距離をf85、光学系の波長950nmにおける焦点距離をf95とするとき、
0.004<|(f85-f95)/(f85+f95)|<0.200
なる条件式を満足することを特徴とする。
【発明の効果】
【0007】
本発明によれば、小型でありながら深い被写界深度を有する光学系を提供することができる。
【図面の簡単な説明】
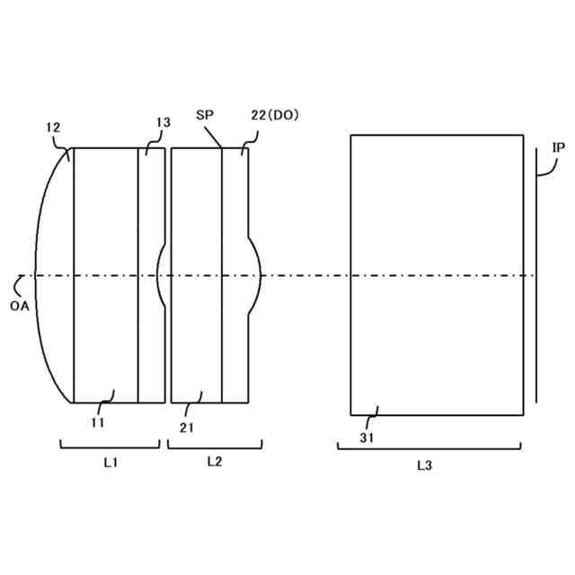
【0008】
実施例1の光学系の断面図である。
実施例1の光学系の収差図である。
実施例1の光学系の横収差図である。
実施例1の回折光学素子の回折効率を示す図である。
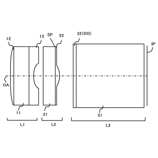
実施例2の光学系の断面図である。
実施例2の光学系の収差図である。
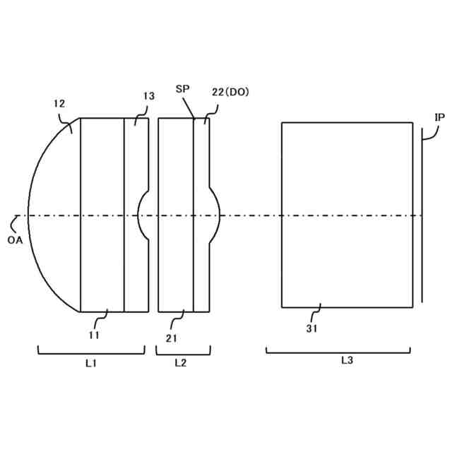
実施例3の光学系の断面図である。
実施例3の光学系の収差図である。
実施例4の光学系の断面図である。
実施例4の光学系の収差図である。
実施例4の回折光学素子の回折効率を示す図である。
実施例5の光学系の断面図である。
実施例5の光学系の収差図である。
電子機器の要部概略図である。
撮像装置の要部概略図である。
【発明を実施するための形態】
【0009】
以下、本発明の実施例について、図面を参照しながら詳細に説明する。各図において、同一の部材については同一の参照番号を付し、重複する説明は省略する。
【0010】
各実施例では、ウェハレベルオプティクスと呼ばれる技術を用いて得られる光学系について説明する。ウェハレベルオプティクスとは、半導体製造技術を利用してウェハ上に多数のレンズを作成し、複数のウェハ(平面基板)を重ね合わせて接着した後、切断し、多数の光学系を一度に製造する技術(ウェハプロセス)である。ウェハレベルオプティクスを用いて製造された光学系はウェハレベルレンズと呼ばれ、ウェハレベルレンズを撮像光学系として用いた撮像装置はウェハレベルカメラと呼ばれる。各実施例の光学系は、ビューファインダーやHMD等の観察光学系と共に用いられる、視線検出用の光学系等に用いられる。また、携帯電話、スマートフォン、及びウェアラブル端末等の電子機器の組み込み用カメラや、内視鏡の対物光学系等にも用いられる。なお、各実施例の光学系はウェハレベルレンズであるが、本発明はこれに限定されない。 図1、図5、図7、図9、図12は、実施例1乃至5の光学系(ウェハレベルレンズ)の断面図である。各断面図において、左方が物体側(前方)、右方が像側(後方)である。SPは開口絞りであり、IPは像面である。像面IPには、撮像装置におけるCCDセンサやCMOSセンサ等の撮像素子(イメージセンサ)の撮像面や、銀塩フィルムカメラのフィルム面に相当する感光面が配置される。
(【0011】以降は省略されています)
この特許をJ-PlatPat(特許庁公式サイト)で参照する
関連特許
キヤノン株式会社
トナー
29日前
キヤノン株式会社
定着装置
12日前
キヤノン株式会社
記録装置
14日前
キヤノン株式会社
電子機器
1か月前
キヤノン株式会社
電子機器
26日前
キヤノン株式会社
撮像装置
14日前
キヤノン株式会社
撮像装置
6日前
キヤノン株式会社
電子機器
6日前
キヤノン株式会社
撮像装置
1か月前
キヤノン株式会社
光学装置
26日前
キヤノン株式会社
定着装置
21日前
キヤノン株式会社
電子機器
14日前
キヤノン株式会社
電子機器
6日前
キヤノン株式会社
定着装置
6日前
キヤノン株式会社
定着装置
21日前
キヤノン株式会社
定着装置
21日前
キヤノン株式会社
現像装置
29日前
キヤノン株式会社
電子機器
29日前
キヤノン株式会社
収容装置
6日前
キヤノン株式会社
撮像装置
1か月前
キヤノン株式会社
撮像装置
13日前
キヤノン株式会社
記録装置
13日前
キヤノン株式会社
表示装置
5日前
キヤノン株式会社
撮像装置
12日前
キヤノン株式会社
発光装置
5日前
キヤノン株式会社
撮像装置
26日前
キヤノン株式会社
電子機器
2日前
キヤノン株式会社
撮像装置
23日前
キヤノン株式会社
発光装置
1か月前
キヤノン株式会社
電子機器
今日
キヤノン株式会社
光学機器
1か月前
キヤノン株式会社
撮像装置
1か月前
キヤノン株式会社
電子機器
23日前
キヤノン株式会社
電子機器
21日前
キヤノン株式会社
容器構造体
1か月前
キヤノン株式会社
容器構造体
1か月前
続きを見る
他の特許を見る