TOP
|
特許
|
意匠
|
商標
特許ウォッチ
Twitter
他の特許を見る
10個以上の画像は省略されています。
公開番号
2025139912
公報種別
公開特許公報(A)
公開日
2025-09-29
出願番号
2024038998
出願日
2024-03-13
発明の名称
鉄道車両用の自動高さ調整装置及び鉄道車両用の自動高さ調整装置セット
出願人
川崎車両株式会社
代理人
弁理士法人有古特許事務所
主分類
B61F
5/10 20060101AFI20250919BHJP(鉄道)
要約
【課題】鉄道車両の自動高さ調整装置の組み立て時に、作業者が調整棒受を受座に対して誤った向きに取り付けることを防止すること。
【解決手段】
鉄道車両用の自動高さ調整装置は、鉛直方向に延びた調整棒と、台車の台車枠の車幅方向の外側面に設けられ、雌ネジ孔を有する受座と、前記調整棒の下端部が取り付けられる調整棒支持部と、前記調整棒支持部に固定され且つ前記受座に重ね合わされる位置決め体と、を含み、前記雌ネジ孔に対応するボルト挿通孔を有する調整棒受と、を備え、前記受座は、前記車幅方向の外方に向いた第1面と、車両長手方向における前記第1面の端から前記車幅方向に延びた第2面と、を含む座面を有し、前記位置決め体は、前記座面の形状に合致して前記座面に当接する取付面を有し、前記座面は、前記車幅方向の外方から見て、前記雌ネジ孔の中心を通り鉛直方向に延びる仮想線に対して非対称な形状を有する。
【選択図】図6
特許請求の範囲
【請求項1】
鉄道車両の車体と台車との間に配置される空気バネの吸排気を調整する調整弁と、
前記調整弁に連結された一端部を有し且つ水平方向に延びたアームと、
前記アームの他端部に連結された上端部を有し且つ鉛直方向に延びた調整棒と、
前記台車の台車枠の車幅方向の外側面に設けられ、雌ネジ孔を有する受座と、
前記調整棒の下端部が取り付けられる調整棒支持部と、前記調整棒支持部に固定され且つ前記受座に重ね合わされる位置決め体と、を含み、前記雌ネジ孔に対応するボルト挿通孔を有する調整棒受と、
前記調整棒受を前記受座に固定する少なくとも1つのボルトと、を備え、
前記受座は、前記車幅方向の外方に向いた第1面と、車両長手方向における前記第1面の端から前記車幅方向に延びた第2面と、を含む座面を有し、
前記位置決め体は、前記座面の形状に合致して前記座面に当接する取付面を有し、
前記座面は、前記車幅方向の外方から見て、前記雌ネジ孔の中心を通り鉛直方向に延びる仮想線に対して非対称な形状を有する、鉄道車両用の自動高さ調整装置。
続きを表示(約 740 文字)
【請求項2】
前記雌ネジ孔は、前記第1面において、前記車両長手方向における前記第1面の中心を通って鉛直方向に延びる中心線よりも前記第2面に近い側に偏って配置されている、請求項1に記載の鉄道車両用の自動高さ調整装置。
【請求項3】
前記受座の前記第2面は、鉛直方向に延びている、請求項1に記載の鉄道車両用の自動高さ調整装置。
【請求項4】
前記受座の前記第2面、又は、
前記調整棒受の前記位置決め体の前記取付面のうち前記第2面に当接する面
の少なくとも一方は、機械加工によって形成されている、請求項3に記載の鉄道車両用の自動高さ調整装置。
【請求項5】
鉄道車両の車体と台車との間に配置される第1空気バネ及び第2空気バネの高さをそれぞれ調整する自動高さ調整装置セットであって、
請求項1乃至4のいずれか1項に記載の自動高さ調整装置であって、前記台車の車幅方向一方側に配置され且つ前記第1空気バネに対して前記車両長手方向の一方側に配置され、前記第1空気バネの高さを調整する第1自動高さ調整装置と、
請求項1乃至4のいずれか1項に記載の自動高さ調整装置であって、前記台車の車幅方向他方側に配置され且つ前記第1空気バネに対して前記車両長手方向の前記一方側に配置され、前記第2空気バネの高さを調整する第2自動高さ調整装置と、を備え、
前記第1自動高さ調整装置における前記位置決め体の前記取付面のうち前記第2面に当接する面と、前記第2自動高さ調整装置における前記位置決め体の前記取付面のうち前記第2面に当接する面との両方は、前記車両長手方向の同じ側に向いている、鉄道車両用の自動高さ調整装置セット。
発明の詳細な説明
【技術分野】
【0001】
本発明は、車体と台車との距離を調整して鉄道車両の高さを調整する鉄道車両用の自動高さ調整装置及び鉄道車両用の自動高さ調整装置セットに関する。
続きを表示(約 2,300 文字)
【背景技術】
【0002】
特許文献1には、車体と台車との間に配置された空気バネへの空気の供給及び排出を調整して車体と台車との相対変位を調整する鉄道車両用空気バネの高さ調整装置が開示されている。この装置は、空気バネの内圧を調整する調整弁と、調整弁に連結された調整棒とを備える。台車枠には受座が固定されており、高さ調整棒を支持する調整棒受の嵌合部を受座の被嵌合部に嵌合させて、調整棒受が受座にボルト固定される。台車には左右一対の空気バネが配置されるため、空気バネの高さ調整装置も台車枠の左右両側にそれぞれ配置される。
【先行技術文献】
【特許文献】
【0003】
特開2021-88201号公報
【発明の概要】
【発明が解決しようとする課題】
【0004】
しかしながら、特許文献1に開示された構成では、受座及び調整棒受の嵌合構造が対称形状を有する。そのため、受座に対する調整棒受の取り付け作業を行うときに、作業者は受座に対して調整棒受を誤った向きに取り付けようとする可能性がある。
【0005】
そこで本開示の一態様は、鉄道車両の自動高さ調整装置の組み立て時に、作業者が調整棒受を受座に対して誤った向きに取り付けることを防止することを目的とする。
【課題を解決するための手段】
【0006】
本開示の鉄道車両用の自動高さ調整装置は、鉄道車両の車体と台車との間に配置される空気バネの吸排気を調整する調整弁と、前記調整弁に連結された一端部を有し且つ水平方向に延びたアームと、前記アームの他端部に連結された上端部を有し且つ鉛直方向に延びた調整棒と、前記台車の台車枠の車幅方向の外側面に設けられ、雌ネジ孔を有する受座と、前記調整棒の下端部が取り付けられる調整棒支持部と、前記調整棒支持部に固定され且つ前記受座に重ね合わされる位置決め体と、を含み、前記雌ネジ孔に対応するボルト挿通孔を有する調整棒受と、前記調整棒受を前記受座に固定する少なくとも1つのボルトと、を備え、前記受座は、前記車幅方向の外方に向いた第1面と、車両長手方向における前記第1面の端から前記車幅方向に延びた第2面と、を含む座面を有し、前記位置決め体は、前記座面の形状に合致して前記座面に当接する取付面を有し、前記座面は、前記車幅方向の外方から見て、前記雌ネジ孔の中心を通り鉛直方向に延びる仮想線に対して非対称な形状を有する。
【発明の効果】
【0007】
本開示によれば、受座の座面が、車幅方向外方から見て、雌ネジ孔の中心を通り鉛直方向に延びる仮想線に対して非対称な形状を有するため、作業者が調整棒受を受座に取り付ける作業を行うときに、受座に対する調整棒受の正しい向きを容易に認識することができる。従って、鉄道車両の自動高さ調整装置の組み立て時に、作業者が調整棒受を受座に対して誤った向きに取り付けることを防止できる。
【図面の簡単な説明】
【0008】
第1実施形態に係る鉄道車両の側面図である。
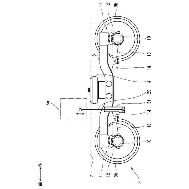
図1の鉄道車両に設けられた自動高さ調整装置を模式的に示した説明図である。
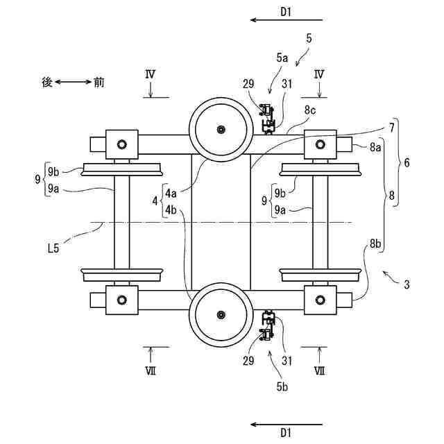
図1の鉄道車両における台車の平面図である。
図3の鉄道車両をIV-IV線に沿って見た側面図である。
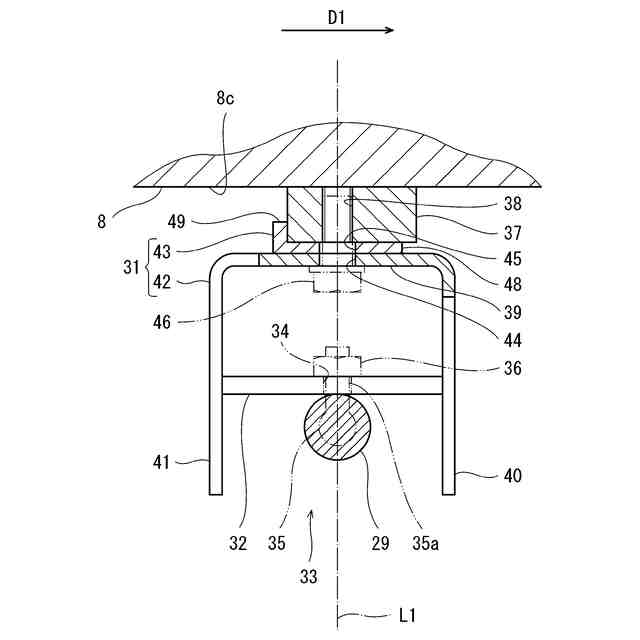
図4の鉄道車両における自動高さ調整装置をV-V線に沿って見た断面図である。
図5の自動高さ調整装置における受座と位置決め体との取り付け部分について示した斜視図である。
図3の鉄道車両をVII-VII線に沿って見た側面図である。
図7の鉄道車両における自動高さ調整装置をVIII-VIII線に沿って見た断面図である。
第2実施形態に係る鉄道車両において、自動高さ調整装置の受座と位置決め体との取り付け部分について示した斜視図である。
第3実施形態に係る鉄道車両において、自動高さ調整装置の受座と位置決め体との取り付け部分について示した斜視図である。
図10の自動高さ調整装置の受座と位置決め体との取り付け部分について示した断面図である。
【発明を実施するための形態】
【0009】
以下、図面を参照して実施形態を説明する。なお、以下の説明では、鉄道車両が走行する方向であって車体が延びる方向が車両長手方向(前後方向)であり、それに直交する横方向が車幅方向(左右方向)である。
【0010】
(第1実施形態)
図1は、第1実施形態に係る鉄道車両1の台車3の側面図である。図2は、鉄道車両1用の自動高さ調整装置セット5を用いて構成された鉄道車両1において、自動高さ調整装置セット5が車体2の高さを調整する機構について説明するために模式的に示した説明図である。図3は、図1の鉄道車両1の台車3の平面図である。図1乃至3に示すように、鉄道車両1は、車体2と、台車3と、車体2と台車3との間に配置された空気バネ4とを備える。空気バネ4は、台車3の左側に配置された第1空気バネ4aと、台車3の右側に配置された第2空気バネ4bとを含む。台車3は、空気バネ4を介して車体2を支持する台車枠6を備える。台車枠6は、車幅方向に延びて車体2を支持する横梁7と車両長手方向に延びる側梁8とを有する。側梁8は、第1空気バネ4aの側で車両長手方向に延びる第1側梁8aと、第2空気バネ4bの側で車両長手方向に延びる第2側梁8bとを含む。
(【0011】以降は省略されています)
この特許をJ-PlatPat(特許庁公式サイト)で参照する
関連特許
川崎車両株式会社
長尺材の機械加工方法及びそのプログラム
11日前
川崎車両株式会社
鉄道車両用の自動高さ調整装置及び鉄道車両用の自動高さ調整装置セット
4日前
川崎車両株式会社
鉄道車両の輪軸検査装置、鉄道車両の輪軸検査方法及び鉄道車両の輪軸検査プログラム
4日前
日本信号株式会社
検査装置
9か月前
日本信号株式会社
ホーム柵
1か月前
日本信号株式会社
ホーム柵
1か月前
個人
車両及び走行システム
5か月前
近畿車輌株式会社
耐火床構造
4日前
日本信号株式会社
ホーム柵装置
6か月前
カヤバ株式会社
鉄道車両用制振装置
9か月前
近畿車輌株式会社
鉄道車両の床構造
10か月前
近畿車輌株式会社
鉄道車両の床構造
10か月前
近畿車輌株式会社
鉄道車両の床構造
10か月前
日本信号株式会社
列車接近警報装置
1か月前
ナブテスコ株式会社
ホームドア装置
1か月前
日本車輌製造株式会社
台車組立装置
4か月前
保線機器整備株式会社
保線用カート
7か月前
川崎車両株式会社
鉄道車両用パネル
7か月前
日本信号株式会社
ホームドア制御装置
2か月前
株式会社ダイフク
搬送車
4か月前
日本信号株式会社
物体検知装置
5か月前
日本信号株式会社
踏切道監視システム
10か月前
日本信号株式会社
ホーム安全システム
6か月前
日本ケーブル株式会社
索道の支索引留め装置
2か月前
株式会社東芝
台車搬送装置
今日
シャープ株式会社
表示装置
11か月前
前川鉄工株式会社
ロープ駆動装置
11か月前
ヤマハ発動機株式会社
無人搬送車
6か月前
ヤマハ発動機株式会社
無人搬送車
4か月前
株式会社ダイフク
搬送設備
5か月前
ヤマハ発動機株式会社
無人搬送車
6か月前
株式会社日立製作所
鉄道車両
8日前
ヤマハ発動機株式会社
無人搬送車
6か月前
日本製鉄株式会社
鉄道車両
7か月前
ナブテスコ株式会社
ホームドア装置
11か月前
日本製鉄株式会社
鉄道車両
7か月前
続きを見る
他の特許を見る