TOP
|
特許
|
意匠
|
商標
特許ウォッチ
Twitter
他の特許を見る
10個以上の画像は省略されています。
公開番号
2025140089
公報種別
公開特許公報(A)
公開日
2025-09-29
出願番号
2024039262
出願日
2024-03-13
発明の名称
蓄電装置、車両
出願人
トヨタ自動車株式会社
,
トヨタバッテリー株式会社
代理人
弁理士法人深見特許事務所
主分類
H01M
50/291 20210101AFI20250919BHJP(基本的電気素子)
要約
【課題】セル連結体をケースに入れやすい構成を有する蓄電装置および車両を提供する。
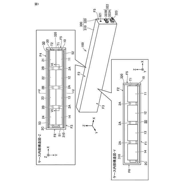
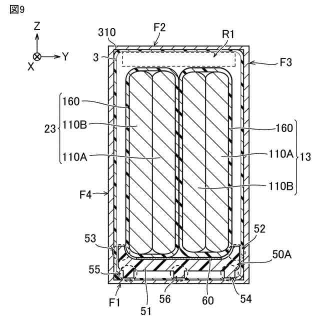
【解決手段】蓄電可能に構成される蓄電装置(電池100)が、ケース300と、1つ以上のセル連結体(セル連結体10,20)と、1つ以上のセル連結体を載せる台部材50とを備える。セル連結体は、複数の蓄電セル(蓄電セル11~14,21~24)と、蓄電セル同士を電気的につなぐ接続部(接続部2A,2B)とを含む。1つ以上のセル連結体と台部材50とは、ケース300に収容されている。
【選択図】図1
特許請求の範囲
【請求項1】
蓄電可能に構成される蓄電装置であって、
当該蓄電装置は、ケースと、1つ以上のセル連結体と、前記1つ以上のセル連結体を載せる台部材とを備え、
前記セル連結体は、複数の蓄電セルと、前記蓄電セル同士を電気的につなぐ接続部とを含み、
前記1つ以上のセル連結体と前記台部材とは、前記ケースに収容されている、蓄電装置。
続きを表示(約 830 文字)
【請求項2】
前記ケースは、前記セル連結体の連結方向を長手方向とする直方体形状を有する、請求項1に記載の蓄電装置。
【請求項3】
前記ケースは、前記1つ以上のセル連結体の連結方向に延びる4つの面と、前記1つ以上のセル連結体の端部を覆う2つの面とを有し、
前記4つの面は、対向する一対の面である第1対向面と、前記第1対向面よりも面積の大きい対向面である第2対向面とを含み、
前記台部材は、前記第1対向面のいずれかの面に配置されている、請求項2に記載の蓄電装置。
【請求項4】
前記1つ以上のセル連結体は、前記台部材に接着されている、請求項1に記載の蓄電装置。
【請求項5】
前記1つ以上のセル連結体は、前記台部材に対して連結方向にスライド可能である、請求項1に記載の蓄電装置。
【請求項6】
前記台部材は、平板形状を有する、請求項1に記載の蓄電装置。
【請求項7】
前記台部材は、断面U字状の形状を有する、請求項1に記載の蓄電装置。
【請求項8】
前記台部材の前記1つ以上のセル連結体を載せる面には、前記1つ以上のセル連結体の一部が入る1つ以上の凹部が形成されている、請求項1に記載の蓄電装置。
【請求項9】
前記1つ以上のセル連結体は、電気的に接続された第1セル連結体および第2セル連結体を含み、
前記台部材の前記1つ以上のセル連結体を載せる面には、前記第1セル連結体の一部が入る第1凹部と、前記第2セル連結体の一部が入る第2凹部とが形成されている、請求項1に記載の蓄電装置。
【請求項10】
前記台部材の、前記1つ以上のセル連結体を載せる面とは反対側の面に、前記1つ以上のセル連結体の連結方向に延びる直線状の凸部が形成されている、請求項1に記載の蓄電装置。
(【請求項11】以降は省略されています)
発明の詳細な説明
【技術分野】
【0001】
本開示は、蓄電装置、および蓄電装置を備える車両に関する。
続きを表示(約 910 文字)
【背景技術】
【0002】
特表2023-502457号公報(特許文献1)には、長さLが400mm~2500mmであり、かつ、幅Hに対する長さLの比率(L/H)が4~21である直方体状の電池(蓄電装置)が開示されている。
【先行技術文献】
【特許文献】
【0003】
特表2023-502457号公報
【発明の概要】
【発明が解決しようとする課題】
【0004】
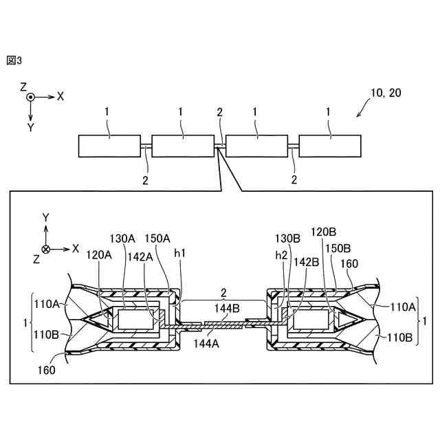
特許文献1に記載された蓄電装置では、直列に接続されて一列に並ぶ複数の電極体セット(蓄電セル)がケース(ハウジング)内に配置されている。以下では、複数の蓄電セルが一列に接続された連結体を、「セル連結体」と称する。
【0005】
セル連結体は、剛性の高い蓄電セルと、剛性の低い接続部とを含むため、ケースに入れにくい。例えば、セル連結体をケースに入れるときに接続部に応力が生じて、接続部がダメージを受ける可能性がある。
【0006】
本開示は、上記課題を解決するためになされたものであり、その目的は、セル連結体をケースに入れやすい構成を有する蓄電装置および車両を提供することである。
【課題を解決するための手段】
【0007】
本開示の第1観点に係る形態に従うと、以下に示す蓄電装置が提供される。
【0008】
(第1項)蓄電可能に構成される蓄電装置が、ケースと、1つ以上のセル連結体と、1つ以上のセル連結体を載せる台部材とを備える。セル連結体は、複数の蓄電セルと、蓄電セル同士を電気的につなぐ接続部とを含む。1つ以上のセル連結体と台部材とは、ケースに収容されている。
【0009】
上記の構成では、1つ以上のセル連結体を台部材に載せた状態でケースに入れることが可能になる。これにより、セル連結体をケースに入れやすくなる。
【0010】
(第2項)第1項に記載の蓄電装置において、ケースは、セル連結体の連結方向を長手方向とする直方体形状を有する。
(【0011】以降は省略されています)
この特許をJ-PlatPat(特許庁公式サイト)で参照する
関連特許
日本発條株式会社
積層体
11日前
ローム株式会社
半導体装置
9日前
ローム株式会社
半導体装置
7日前
ローム株式会社
半導体装置
9日前
ローム株式会社
半導体装置
9日前
ローム株式会社
半導体装置
2日前
株式会社GSユアサ
蓄電装置
7日前
オムロン株式会社
電磁継電器
1日前
太陽誘電株式会社
全固体電池
7日前
個人
半導体パッケージ用ガラス基板
10日前
株式会社GSユアサ
蓄電装置
11日前
株式会社ホロン
冷陰極電子源
7日前
日本特殊陶業株式会社
保持装置
7日前
日本特殊陶業株式会社
保持装置
7日前
ローム株式会社
電子装置
11日前
トヨタ自動車株式会社
バッテリ
1日前
日東電工株式会社
積層体
1日前
日本特殊陶業株式会社
保持装置
9日前
TDK株式会社
電子部品
7日前
日本特殊陶業株式会社
保持装置
11日前
TDK株式会社
コイル部品
9日前
日本製紙株式会社
導電性フィルム
1日前
日本特殊陶業株式会社
電極
7日前
ローム株式会社
半導体装置
1日前
日本製紙株式会社
導電性フィルム
1日前
株式会社デンソー
電子装置
11日前
日本特殊陶業株式会社
電極
7日前
日本特殊陶業株式会社
電極
7日前
日本特殊陶業株式会社
電極
7日前
東レエンジニアリング株式会社
実装装置
1日前
ローム株式会社
半導体装置
2日前
ローム株式会社
半導体装置
11日前
SMK株式会社
キートップ及びスイッチ
2日前
日東電工株式会社
電子装置
3日前
株式会社カネカ
正極活物質
11日前
ヒロセ電機株式会社
電気コネクタ
11日前
続きを見る
他の特許を見る