TOP
|
特許
|
意匠
|
商標
特許ウォッチ
Twitter
他の特許を見る
10個以上の画像は省略されています。
公開番号
2025151308
公報種別
公開特許公報(A)
公開日
2025-10-09
出願番号
2024052643
出願日
2024-03-28
発明の名称
実装装置
出願人
東レエンジニアリング株式会社
代理人
主分類
H01L
21/60 20060101AFI20251002BHJP(基本的電気素子)
要約
【課題】 複数のチップ部品を保持するスタンプを用いて基板にチップ部品を実装する際に行う基板とスタンプの平行度評価を比較的簡単かつ高頻度で行えることが可能な実装装置を提供すること。
【解決手段】 基板を保持する基板ステージと、複数のチップ部品を保持するスタンプと、前記スタンプを保持して、前記チップ部品を保持する面を前記基板と対向させた状態で上下させるスタンプベースと、照射した光の反射を利用して厚み測定を行う光学式厚み計を備え、前記光学式厚み計を用いて、前記スタンプベース越しに光を照射し、前記基板表面で反射する光と、前記スタンプの前記チップ部品を保持する面で反射する光を用いて、前記スタンプの前記チップ部品を保持する面と、前記基板表面とのギャップを測定する機能を有した実装装置を提供する。
【選択図】 図2
特許請求の範囲
【請求項1】
複数のチップ部品を一度に基板の所定位置に実装する実装装置であって、
前記基板を保持する基板ステージと、
前記複数のチップ部品を保持するスタンプと、
前記スタンプを保持して、前記チップ部品を保持する面を前記基板と対向させた状態で上下させるスタンプベースと、
照射した光の反射を利用して厚み測定を行う光学式厚み計を備え、
前記光学式厚み計を用いて、前記スタンプベース越しに光を照射し、前記基板表面で反射する光と、前記スタンプの前記チップ部品を保持する面で反射する光を用いて、前記スタンプの前記チップ部品を保持する面と、前記基板表面とのギャップを測定する機能を有した実装装置。
続きを表示(約 520 文字)
【請求項2】
請求項1に記載の実装装置であって、
前記ギャップを複数個所で測定し、
前記基板に対する前記スタンプの平行度を評価する機能を有した実装装置。
【請求項3】
請求項2に記載の実装装置であって、
前記平行度を、前記スタンプベースの傾きを調整して行う実装装置。
【請求項4】
請求項1から請求項3の何れかに記載の実装装置であって、
前記基板の面内方向に対する前記スタンプの相対位置情報を取得するのに用いる撮像手段を更に備え、
前記光学式厚み計と前記撮像手段を一体化した実装装置。
【請求項5】
請求項4に記載の実装装置であって、
前記ギャップ測定と、前記相対位置情報を同時に測定することが可能な実装装置。
【請求項6】
請求項1から請求項3の何れかに記載の実装装置であって、
前記スタンプベースと前記スタンプが透明性を有しており、
前記スタンプが保持したチップ部品を前記基板に密着させた状態で、前記スタンプベース越しに前記チップ部品にレーザー光を照射するレーザー照射手段を備えた実装装置。
発明の詳細な説明
【技術分野】
【0001】
本発明は、複数のチップ部品を保持するスタンプを用いた実装装置に関する。
続きを表示(約 1,900 文字)
【背景技術】
【0002】
TFT基板上に多数のマイクロLEDを実装するマイクロLEDディスプレイのように、基板上に多数のチップ部品を実装する用途がある。そのような用途において、図5に示す基板B上に多数ある実装箇所PC夫々にチップ部品を位置合わせして実装する必要がある。
【0003】
例えば、マイクロLEDディスプレイにおいては、1枚のTFT基板に最低でも数十万個のLEDチップを実装する必要があり、LEDチップを1つずつ実装しようとしたら膨大な時間を要することになる。そこで、基板Bの実装箇所PCのピッチに合わせて複数のチップ部品Cを一度に実装可能な、所謂スタンプ方式(例えば特許文献1)による生産性改善が進められている。
【0004】
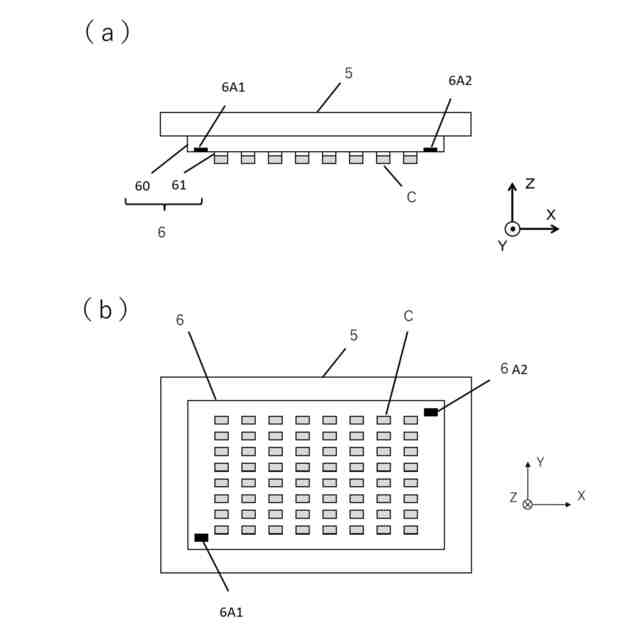
図6は、一度に複数のチップ部品Cを基板Bに実装する際に用いるスタンプについて説明するものであり、図6(a)が横から見た図であり、図6(b)はチップ部品Cを保持する面から見た図である。図6において、スタンプ6はスタンプ本体60に突起部61が配置されたものであり、突起部61はチップ部品Cを保持する機能を有しており、突起部61は実装箇所PCのピッチに合わせて配置してある。また、スタンプ6は突起部61のある面の反対側からスタンプベース5に保持されている。なお、スタンプ認識第1マーク6A1とスタンプ認識第2マーク6A2は、突起部61の配列に対して定まった位置に設けられており、スタンプ認識第1マーク6A1とスタンプ認識第2マーク6A2の位置からスタンプ6の位置情報が取得でき、スタンプ6に配置されている突起部61の配列も知ることができる。
【0005】
図6に示したスタンプ6を用いて基板Bの一部にチップ部品Cを実装した状態を示したのが図7であり、スタンプ6が保持した複数のチップ部品Cは、一度に基板Bに実装される。
【先行技術文献】
【特許文献】
【0006】
特開2023-145354号公報
特開2020-072109号公報
【発明の概要】
【発明が解決しようとする課題】
【0007】
スタンプ6を用いて複数のチップ部品Cを基板Bの実装箇所PCに実装するためには、
スタンプ6が保持する複数のチップ部品C夫々を、基板Bの実装箇所PCに位置を合わせてから実装される必要がある。
【0008】
このため、スタンプの位置情報およびスタンプに保持されたチップ部品Cの配列を知る目安となるスタンプ認識マーク6A(スタンプ認識第1マーク6A1およびスタンプ認識第2マーク6A2)と、基板B内の実装箇所PCの配列の目安となる基板認識マークBAを用いた位置合わせが行われる。図8(a)は、上下2視野カメラ70を用いて、スタンプ認識マーク6Aと基板認識マークBAを観察している状態を示している。ここで得られたスタンプ6と基板2の相対位置から位置ズレ量を算出し、位置ズレ量を修正するように基板Bとスタンプ6の少なくとも一方の位置調整を実施してから、スタンプ6を降下してチップ部品Cを基板Bに密着させた状態を示したのが図8(b)である。
【0009】
この後、チップ部品Cを加熱してチップ部品Cの電極と基板Bの電極を接合することで、チップ部品Cは基板Bに接合される。ここで、チップ部品Cを加熱する手段としてレーザーを用いる手法が昨今注目を集めており、その例を図9に示す。図9は個々のチップ部品Cをレーザー光Lで加熱する方法であり、レーザー光のエネルギー密度の高さから、瞬時にチップ部品Cを加熱できるため、図9(a)から図9(c)に示すように個々のチップ部品Cに順次加熱する場合でも、スタンプ6が保持するチップ部品C全てを加熱するのに要する時間は短い。なお、レーザー光Lでチップ部品Cを加熱するために、図9に示すような手法を行うために、スタンプベース5およびスタンプ6は光を直線的に透過させる必用がある。すなわち、スタンプベース5およびスタンプ6は透明性を有している。
【0010】
ところで、図8(a)のように位置合わせしてからスタンプ6を下降させて複数のチップ部品Cを基板Bに密着させるためには、基板Bに対するスタンプ6の平行度は重要である。基板Bに対してスタンプ6が傾いていると図10に示すように、一部のチップ部品Cが基板Bに密着しても、基板Bから離れた状態のチップ部品Cが存在してしまう。このため、基板Bと接触していないチップ部品Cを加熱しても実装することはできない。
(【0011】以降は省略されています)
この特許をJ-PlatPat(特許庁公式サイト)で参照する
関連特許
日本発條株式会社
積層体
11日前
ローム株式会社
半導体装置
9日前
ローム株式会社
半導体装置
2日前
個人
防雪防塵カバー
11日前
ローム株式会社
半導体装置
9日前
ローム株式会社
半導体装置
9日前
ローム株式会社
半導体装置
7日前
太陽誘電株式会社
全固体電池
7日前
個人
半導体パッケージ用ガラス基板
10日前
株式会社GSユアサ
蓄電装置
7日前
オムロン株式会社
電磁継電器
1日前
ニチコン株式会社
コンデンサ
23日前
ニチコン株式会社
コンデンサ
23日前
株式会社ホロン
冷陰極電子源
7日前
株式会社GSユアサ
蓄電装置
11日前
株式会社ティラド
面接触型熱交換器
22日前
日本特殊陶業株式会社
保持装置
9日前
日本特殊陶業株式会社
保持装置
7日前
ローム株式会社
電子装置
11日前
TDK株式会社
電子部品
7日前
日本特殊陶業株式会社
保持装置
7日前
トヨタ自動車株式会社
二次電池
11日前
日本特殊陶業株式会社
保持装置
11日前
日東電工株式会社
積層体
1日前
トヨタ自動車株式会社
バッテリ
1日前
マクセル株式会社
配列用マスク
22日前
個人
多層樹脂シート電池の電流制限方法
21日前
ローム株式会社
半導体装置
11日前
トヨタ自動車株式会社
電池パック
15日前
日本特殊陶業株式会社
電極
7日前
トヨタ自動車株式会社
電池パック
15日前
日本製紙株式会社
導電性フィルム
1日前
トヨタ自動車株式会社
電池パック
15日前
ローム株式会社
半導体装置
11日前
TDK株式会社
コイル部品
7日前
日本製紙株式会社
導電性フィルム
1日前
続きを見る
他の特許を見る