TOP
|
特許
|
意匠
|
商標
特許ウォッチ
Twitter
他の特許を見る
10個以上の画像は省略されています。
公開番号
2025140725
公報種別
公開特許公報(A)
公開日
2025-09-29
出願番号
2024040283
出願日
2024-03-14
発明の名称
電気コネクタ
出願人
ヒロセ電機株式会社
代理人
個人
主分類
H01R
13/639 20060101AFI20250919BHJP(基本的電気素子)
要約
【課題】ケーブルに取り付けられた端子同士の接続状態を良好に維持できる電気コネクタを提供する。
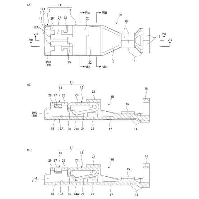
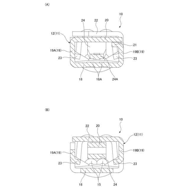
【解決手段】第一のケーブルC1に取り付けられる第一端子10と、第二のケーブルC2に取り付けられる第二端子30とを有し、第二端子30を前方へ向けて第一端子10に嵌合することにより第一のケーブルC1と第二のケーブルC2とを電気的に接続させる電気コネクタ1において、第一端子10及び第二端子30は、それぞれ金属板部材を屈曲した形状をなしていて、嵌合状態で互いに接触可能となっており、第一端子10は、第二端子30を受け入れるための空間が形成された受入部11を有し、受入部11は、ロック部27を有しており、第二端子30は、受入部11に挿入される挿入部31を有し、挿入部31は、嵌合状態でロック部27に対して前方から係止可能な被ロック部35B-2を有している。
【選択図】図1
特許請求の範囲
【請求項1】
第一のケーブルに取り付けられる第一端子と、第二のケーブルに取り付けられる第二端子とを有し、前記第二端子を前方へ向けて前記第一端子に嵌合することにより前記第一のケーブルと前記第二のケーブルとを電気的に接続させる電気コネクタにおいて、
前記第一端子及び前記第二端子は、それぞれ金属板部材を屈曲した形状をなしていて、嵌合状態で互いに接触可能となっており、
前記第一端子は、前記第二端子を受け入れるための空間が形成された受入部を有し、
前記受入部は、ロック部を有しており、
前記第二端子は、前記受入部に挿入される挿入部を有し、
前記挿入部は、嵌合状態で前記ロック部に対して前方から係止可能な被ロック部を有していることを特徴とする電気コネクタ。
続きを表示(約 1,700 文字)
【請求項2】
前記挿入部は、前後方向に沿って延びる被ロック片を有し、
前記被ロック片は、前後方向に対して交差する方向に弾性変形可能となっており、
前記被ロック部は、前記被ロック片に設けられていることとする請求項1に記載の電気コネクタ。
【請求項3】
前記受入部は、前記電気コネクタの厚さ方向に交差する板面をもつ基部と、前記電気コネクタの幅方向における前記基部のそれぞれの側縁から前記厚さ方向に延びる側板部と、少なくとも一方の前記側板部から前記幅方向に延び、前記厚さ方向で前記基部に対向する覆板部とを有していることとする請求項2に記載の電気コネクタ。
【請求項4】
前記覆板部は、前後方向における前記受入部の一部の範囲に設けられており、
前記受入部は、前後方向における前記覆板部の範囲に形成された筒状受入部と、前記筒状受入部よりも後方に形成された開放受入部とを有し、
前記開放受入部は、前後方向における前記厚さ方向に開放されており、
前記被ロック片は、前記厚さ方向で押圧されることによりロック解除操作を受けるロック解除操作部を有しており、
前記ロック解除操作部は、嵌合状態にて前後方向及び前記幅方向で前記開放受入部の範囲内に位置するように設けられていることとする請求項3に記載の電気コネクタ。
【請求項5】
前記受入部は、前記覆板部から前後方向に延びる接触片をさらに有し、
前記接触片は、前記厚さ方向で前記基部と前記覆板部との間に位置し、前記厚さ方向で弾性変形可能となっており、
前記挿入部は、前記厚さ方向に交差する板面をもち前記受入部に挿入される挿入板部を有し、
前記挿入板部は、嵌合状態にて、前記厚さ方向における前記基部と前記接触片との間に位置し、前記基部に支持された状態で前記接触片と接圧をもって接触可能な被接触部を有し、
前記基部は、前後方向における少なくとも一部の範囲で、前記幅方向における全範囲にわたって連続して延びていることとする請求項3に記載の電気コネクタ。
【請求項6】
前記筒状受入部は、少なくとも一方の前記側板部から前記幅方向に延びる外規制部を有しており、
前記外規制部は、前記厚さ方向で前記覆板部に対して前記基部とは反対側に設けられ、前記厚さ方向に見て前記覆板部と重複する範囲をもつように位置しており、前記覆板部に当接することにより前記厚さ方向における前記覆板部の変位を規制可能となっていることとする請求項5に記載の電気コネクタ。
【請求項7】
前記筒状受入部は、少なくとも一方の前記側板部から前記幅方向に延びる内規制部を有しており、
前記内規制部は、嵌合状態にて、前記厚さ方向で前記被ロック片に対して前記基部とは反対側に設けられ、前記厚さ方向に見て前記被ロック片と重複する範囲をもつように位置しており、前記被ロック片に当接することにより前記厚さ方向における前記被ロック片の変位を規制可能となっていることとする請求項5又は請求項6に記載の電気コネクタ。
【請求項8】
前記覆板部は、前記厚さ方向で前記内規制部に対して前記基部とは反対側に設けられており、前記厚さ方向に見て前記内規制部と重複する範囲をもつように位置し、前記内規制部に当接することにより前記厚さ方向における前記内規制部の変位を規制可能となっていることとする請求項7に記載の電気コネクタ。
【請求項9】
前記受入部は、前記幅方向で前記受入部の空間内へ向けて突出する当接部を有しており、
前記当接部は、嵌合状態で前記挿入部に対して前方から当接可能となっていることとする請求項1に記載の電気コネクタ。
【請求項10】
前記第一端子は、前記第一のケーブルに圧着される第一圧着片を有し、
前記第二端子は、前記第二のケーブルに圧着される第二圧着片を有し、
前記第一圧着片と前記第二圧着片は、前記電気コネクタの厚さ方向で互いに同じ側に設けられていることとする請求項1に記載の電気コネクタ。
発明の詳細な説明
【技術分野】
【0001】
本発明は、ケーブルに取り付けられる端子同士が嵌合接続される電気コネクタに関する。
続きを表示(約 1,700 文字)
【背景技術】
【0002】
特許文献1には、電線の端部に取り付けられたレセプタクル端子と、他の電線の端部に取り付けられた相手側挿入端子とが開示されている。レセプタクル端子及び相手側挿入端子は、いずれも金属板部材を屈曲して作られていて、相手側挿入端子がレセプタクル端子に挿入されて接続されるようになっている。レセプタクル端子は、四角筒状外形の嵌合挟持部を有しており、該嵌合挟持部内には端子挿抜方向に延びる片持ち梁状の主板バネが設けられている。端子同士を接続させる際には、相手側挿入端子に設けられた平板状のタブが主板バネと嵌合挟持部の上板部との間に挿入される。その結果、タブが主板バネと上板部とによって挟持されて該主板バネと接圧をもって接触し、端子同士が電気的に接続される。
【先行技術文献】
【特許文献】
【0003】
特開昭61-237375号
【発明の概要】
【発明が解決しようとする課題】
【0004】
特許文献1では、レセプタクル端子と相手側挿入端子との接続状態は、相手側挿入端子のタブがレセプタクル端子の主板バネ及び上板部から受ける挟持力のみによって維持されている。したがって、端子同士の接続状態において、仮に、上記挟持力よりも大きい外力が相手側挿入端子に対して不用意に作用したとき、該相手側挿入端子はレセプタクル端子からの簡単に抜けてしまい、接続状態を維持できなくおそれがある。
【0005】
本発明は、かかる事情に鑑み、ケーブルに取り付けられた端子同士の接続状態を良好に維持できる電気コネクタを提供することを目的とする。
【課題を解決するための手段】
【0006】
(1) 本発明に係る電気コネクタは、第一のケーブルに取り付けられる第一端子と、第二のケーブルに取り付けられる第二端子とを有し、前記第二端子を前方へ向けて前記第一端子に嵌合することにより前記第一のケーブルと前記第二のケーブルとを電気的に接続させる。
【0007】
かかる電気コネクタにおいて、本発明では、前記第一端子及び前記第二端子は、それぞれ金属板部材を屈曲した形状をなしていて、嵌合状態で互いに接触可能となっており、前記第一端子は、前記第二端子を受け入れるための空間が形成された受入部を有し、前記受入部は、ロック部を有しており、前記第二端子は、前記受入部に挿入される挿入部を有し、前記挿入部は、嵌合状態で前記ロック部に対して前方から係止可能な被ロック部を有していることを特徴としている。
【0008】
本発明では、第一端子と第二端子を接続させる際、第二端子の挿入部が前方へ向けて第一端子の受入部に挿入され、該第一端子に嵌合する。第一端子と第二端子とが接続された状態において、第二端子の被ロック部は第一端子のロック部に対して前方から係止可能に位置する。したがって、仮に、後方、すなわち第二端子の抜出方向へ向けた外力が該第二端子に対して作用したとき、第二端子の被ロック部が第一端子のロック部に前方から係止することにより、該第二端子の後方への移動が阻止される。その結果、第一端子からの第二端子の不用意な抜けが良好に防止される。
【0009】
(2) 上記(1)の発明において、前記挿入部は、前後方向に沿って延びる被ロック片を有し、前記被ロック片は、前後方向に対して交差する方向に弾性変形可能となっており、前記被ロック部は、前記被ロック片に設けられていてもよい。
【0010】
(3) 上記(1)又は上記(2)の発明において、前記受入部は、前記電気コネクタの厚さ方向に交差する板面をもつ基部と、前記電気コネクタの幅方向における前記基部のそれぞれの側縁から前記厚さ方向に延びる側板部と、少なくとも一方の前記側板部から前記幅方向に延び、前記厚さ方向で前記基部に対向する覆板部とを有していてもよい。
(【0011】以降は省略されています)
この特許をJ-PlatPat(特許庁公式サイト)で参照する
関連特許
ヒロセ電機株式会社
電気コネクタ
9日前
ヒロセ電機株式会社
アプリケータ
19日前
個人
安全なNAS電池
1か月前
東レ株式会社
多孔質炭素シート
28日前
個人
フリー型プラグ安全カバー
1か月前
日本発條株式会社
積層体
9日前
個人
防雪防塵カバー
9日前
ローム株式会社
半導体装置
7日前
ローム株式会社
半導体装置
7日前
ローム株式会社
半導体装置
今日
エイブリック株式会社
半導体装置
1か月前
ローム株式会社
半導体装置
28日前
エイブリック株式会社
半導体装置
1か月前
キヤノン株式会社
電子機器
28日前
ローム株式会社
半導体装置
7日前
ローム株式会社
半導体装置
5日前
ニチコン株式会社
コンデンサ
21日前
沖電気工業株式会社
アンテナ
1か月前
ニチコン株式会社
コンデンサ
21日前
株式会社GSユアサ
蓄電装置
9日前
東レ株式会社
ガス拡散層の製造方法
28日前
株式会社GSユアサ
蓄電装置
5日前
株式会社ホロン
冷陰極電子源
5日前
株式会社ティラド
面接触型熱交換器
20日前
太陽誘電株式会社
全固体電池
5日前
個人
半導体パッケージ用ガラス基板
8日前
株式会社GSユアサ
蓄電装置
1か月前
オムロン株式会社
電磁継電器
1か月前
トヨタ自動車株式会社
二次電池
9日前
日本特殊陶業株式会社
保持装置
1か月前
ローム株式会社
電子装置
9日前
日本特殊陶業株式会社
保持装置
5日前
日本特殊陶業株式会社
保持装置
7日前
日本特殊陶業株式会社
保持装置
5日前
TDK株式会社
電子部品
5日前
日本特殊陶業株式会社
保持装置
9日前
続きを見る
他の特許を見る