TOP
|
特許
|
意匠
|
商標
特許ウォッチ
Twitter
他の特許を見る
公開番号
2025140155
公報種別
公開特許公報(A)
公開日
2025-09-29
出願番号
2024039350
出願日
2024-03-13
発明の名称
ガス処理装置
出願人
いすゞ自動車株式会社
代理人
弁理士法人鷲田国際特許事務所
主分類
B01D
53/14 20060101AFI20250919BHJP(物理的または化学的方法または装置一般)
要約
【課題】より少ないエネルギーで処理対象ガス中の被回収ガスを回収することができるガス処理装置を提供すること。
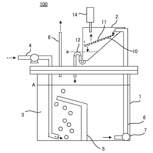
【解決手段】ガス処理装置は、処理液を収容し、処理液中に処理対象ガスが供給される吸収容器と、吸収容器から、処理液と処理対象ガス中の被回収ガスとの反応によって発生した固体析出物と、処理液とを含む混合液が供給され、固体析出物から被回収ガスを分離させる再生容器と、吸収容器と再生容器とを連結し、吸収容器から再生容器へ混合液が流れる連結管と、吸収容器内の混合液を、連結管を介して再生容器へ送るポンプと、を有し、再生容器は、滴下された混合液を固体析出物と処理液とに分離させる固液分離メッシュと、固液分離メッシュを加熱する加熱装置と、を有する。
【選択図】図1
特許請求の範囲
【請求項1】
処理液を収容し、前記処理液中に処理対象ガスが供給される吸収容器と、
前記吸収容器から、前記処理液と前記処理対象ガス中の被回収ガスとの反応によって発生した固体析出物と、前記処理液とを含む混合液が供給され、前記固体析出物から前記被回収ガスを分離させる再生容器と、
前記吸収容器と前記再生容器とを連結し、前記吸収容器から前記再生容器へ前記混合液が流れる連結管と、
前記吸収容器内の前記混合液を、前記連結管を介して前記再生容器へ送るポンプと、を有し、
前記再生容器は、
滴下された前記混合液を前記固体析出物と前記処理液とに分離させ、前記固体析出物を堆積させる一方で、前記処理液を落下させる固液分離メッシュと、
前記固体析出物が堆積した前記固液分離メッシュを加熱する加熱装置と、を有する、
ガス処理装置。
続きを表示(約 810 文字)
【請求項2】
前記再生容器は、前記吸収容器の上方に配置され、
前記連結管の一端は、前記吸収容器内の底部に配置され、
前記連結管の他端は、前記再生容器内における前記固液分離メッシュの上方に配置され、
上流端が前記再生容器の底部に接続され、下流端が前記吸収容器の上部に接続されたS字トラップと、
前記再生容器の上部に接続され、前記固体析出物から分離した前記被回収ガスを収容するタンクと、をさらに有する、
請求項1に記載のガス処理装置。
【請求項3】
前記固液分離メッシュから落下した前記処理液は、前記S字トラップの上流側および前記再生容器の底部に貯留され、
前記再生容器の底部に貯留された前記処理液の液面が前記S字トラップの最上部と同じ高さに到達した場合、サイフォン現象の発生により、前記S字トラップおよび前記再生容器のそれぞれに貯留された前記処理液は、前記吸収容器へ排出される、
請求項2に記載のガス処理装置。
【請求項4】
前記加熱装置を制御する制御装置をさらに有し、
前記制御装置は、
前記固液分離メッシュにおける前記固体析出物の堆積量が予め定められた量に達した場合、前記加熱装置に前記固液分離メッシュの加熱を開始させる、
請求項1に記載のガス処理装置。
【請求項5】
前記固液分離メッシュは、前記混合液が滴下される一端から他端に向かって低くなるように傾斜して設けられる、
請求項1に記載のガス処理装置。
【請求項6】
前記再生容器は、水平面の断面積が上部から下部へ向かって徐々に小さくなっている、
請求項1に記載のガス処理装置。
【請求項7】
前記処理液は、イソホロンジアミン水溶液である、
請求項1に記載のガス処理装置。
発明の詳細な説明
【技術分野】
【0001】
本開示は、ガス処理装置に関する。
続きを表示(約 1,200 文字)
【背景技術】
【0002】
処理対象ガスに含まれる特定の気体成分(被回収ガスともいう)を回収するガス処理装置が知られている(例えば、特許文献1参照)。
【0003】
例えば、吸収塔と、再生塔と、それらをつなぐ連結管とを備えたガス処理装置が知られている。このガス処理装置では、まず、排ガス(処理対象ガスの一例)と処理液(吸収液ともいう)とを吸収塔内で接触させ、排ガス中の二酸化炭素(被回収ガスの一例)を処理液に吸収させる。次に、処理液と二酸化炭素との反応によって発生した固体析出物と、処理液とを吸収塔から再生塔へ送り、それらを再生塔内で加熱する。そして、加熱により固体析出物から分離した二酸化炭素を回収する。
【先行技術文献】
【特許文献】
【0004】
特開2015-131735号公報
【発明の概要】
【発明が解決しようとする課題】
【0005】
上述したガス処理装置では、再生塔内において固体析出物と処理液とが混在していることから、固体析出物だけでなく、処理液も加熱することになる。よって、より多くのエネルギーが必要となるという課題があった。
【0006】
本開示の一態様の目的は、より少ないエネルギーで処理対象ガス中の被回収ガスを回収することができるガス処理装置を提供することである。
【課題を解決するための手段】
【0007】
本開示の一態様に係るガス処理装置は、処理液を収容し、前記処理液中に処理対象ガスが供給される吸収容器と、前記吸収容器から、前記処理液と前記処理対象ガス中の被回収ガスとの反応によって発生した固体析出物と、前記処理液とを含む混合液が供給され、前記固体析出物から前記被回収ガスを分離させる再生容器と、前記吸収容器と前記再生容器とを連結し、前記吸収容器から前記再生容器へ前記混合液が流れる連結管と、前記吸収容器内の前記混合液を、前記連結管を介して前記再生容器へ送るポンプと、を有し、前記再生容器は、滴下された前記混合液を前記固体析出物と前記処理液とに分離させ、前記固体析出物を堆積させる一方で、前記処理液を落下させる固液分離メッシュと、前記固体析出物が堆積した前記固液分離メッシュを加熱する加熱装置と、を有する。
【発明の効果】
【0008】
本開示によれば、より少ないエネルギーで処理対象ガス中の被回収ガスを回収することができる。
【図面の簡単な説明】
【0009】
本開示の実施の形態に係るガス処理装置の構成を模式的に示す図
本開示の実施の形態に係る制御装置の構成を示すブロック図
本開示の実施の形態に係る制御装置の動作を示すフローチャート
【発明を実施するための形態】
【0010】
以下、本開示の実施の形態について、図面を参照しながら説明する。
(【0011】以降は省略されています)
この特許をJ-PlatPat(特許庁公式サイト)で参照する
関連特許
いすゞ自動車株式会社
監視システム
2日前
いすゞ自動車株式会社
制御システム
3日前
いすゞ自動車株式会社
バッテリケース
1日前
いすゞ自動車株式会社
バッテリケース
1日前
いすゞ自動車株式会社
バッテリーセルホルダ、バッテリーモジュール、およびバッテリーパック
2日前
東レ株式会社
複合半透膜
1か月前
ユニチカ株式会社
複合中空糸膜
2日前
東レ株式会社
中空糸膜モジュール
1日前
日本ソリッド株式会社
屋外沈殿池
1か月前
株式会社ニクニ
液体処理装置
15日前
株式会社大善
濃縮脱水機
25日前
日本化薬株式会社
メタノール改質触媒
16日前
株式会社フクハラ
圧縮空気圧回路
1か月前
三機工業株式会社
ろ過装置
1か月前
株式会社カネカ
製造システム
1か月前
株式会社MRT
微細バブル発生装置
5日前
テルモ株式会社
ろ過デバイス
26日前
株式会社カネカ
濃縮システム
1か月前
株式会社切川物産
撹拌混合装置
29日前
個人
攪拌装置
5日前
日本ソリッド株式会社
水中懸濁物質付着素材
24日前
東京理化器械株式会社
クリップ
9日前
株式会社笹山工業所
濁水処理システム
5日前
株式会社Tornada
気泡発生装置
1か月前
ノリタケ株式会社
ガス吸収シート
16日前
ヤマシンフィルタ株式会社
フィルタ装置
3日前
ヤマシンフィルタ株式会社
フィルタ装置
23日前
ダイハツ工業株式会社
二酸化炭素分解装置
24日前
浙江漢信科技有限公司
攪拌装置
1か月前
杉山重工株式会社
回転円筒型反応装置
5日前
株式会社福島県南環境衛生センター
処理装置
1か月前
株式会社キャタラー
カーボン担体材料
1か月前
東レ株式会社
多孔中実繊維、繊維束および浄化カラム
24日前
中外炉工業株式会社
ガス発生装置及び窒化装置
25日前
本田技研工業株式会社
二酸化炭素回収装置
3日前
株式会社インパクト
消臭剤又は消臭紙の製造方法
8日前
続きを見る
他の特許を見る