TOP
|
特許
|
意匠
|
商標
特許ウォッチ
Twitter
他の特許を見る
10個以上の画像は省略されています。
公開番号
2025144093
公報種別
公開特許公報(A)
公開日
2025-10-02
出願番号
2024043704
出願日
2024-03-19
発明の名称
バッテリーセルホルダ、バッテリーモジュール、およびバッテリーパック
出願人
いすゞ自動車株式会社
代理人
弁理士法人鷲田国際特許事務所
主分類
H01M
50/269 20210101AFI20250925BHJP(基本的電気素子)
要約
【課題】コストをかけることなく、複数種類のサイズのバッテリーセルを収容することができるバッテリーセルホルダ、バッテリーモジュール、およびバッテリーパックを提供すること。
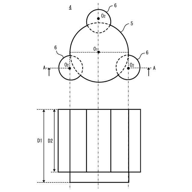
【解決手段】柱体状のバッテリーセルを収容する収容部を備えたバッテリーセルホルダであって、収容部は、第1の径を有する柱体状の空間である第1収容部と、第1の径よりも小さい第2の径を有する柱体状の空間である第2収容部と、を含み、上面視において、第1収容部の外周と第2収容部の外周とが部分的に組み合わさった形状である。
【選択図】図1
特許請求の範囲
【請求項1】
柱体状のバッテリーセルを収容する収容部を備えたバッテリーセルホルダであって、
前記収容部は、
第1の径を有する柱体状の空間である第1収容部と、
前記第1の径よりも小さい第2の径を有する柱体状の空間である第2収容部と、を含み、
上面視において、前記第1収容部の外周と前記第2収容部の外周とが部分的に組み合わさった形状である、
バッテリーセルホルダ。
続きを表示(約 470 文字)
【請求項2】
上面視において、前記第2収容部の中心は、前記第1収容部の外周上、または、当該外周上よりも外側に位置する、
請求項1に記載のバッテリーセルホルダ。
【請求項3】
上面視において、1つの前記第1収容部に対して、少なくとも2つ以上の前記第2収容部が組み合わさっている、
請求項1に記載のバッテリーセルホルダ。
【請求項4】
前記収容部は、複数設けられており、
上面視において、複数の前記収容部に含まれる前記第1収容部および前記第2収容部は、それぞれ、互いに千鳥配置されている、
請求項1に記載のバッテリーセルホルダ。
【請求項5】
前記第1収容部の深さは、前記第2収容部の深さよりも深い、
請求項1に記載のバッテリーセルホルダ。
【請求項6】
請求項1から5のいずれか1項に記載のバッテリーセルホルダを有するバッテリーモジュール。
【請求項7】
請求項6に記載のバッテリーモジュールを有するバッテリーパック。
発明の詳細な説明
【技術分野】
【0001】
本開示は、バッテリーセルホルダ、バッテリーモジュール、およびバッテリーパックに関する。
続きを表示(約 970 文字)
【背景技術】
【0002】
従来、車両等に搭載されるバッテリーモジュールでは、複数のバッテリーセルを保持可能なバッテリーセルホルダが用いられている。
【0003】
例えば特許文献1には、円柱状のバッテリーセルのサイズに対応した円柱状の収容部を複数備えたバッテリーセルホルダが開示されている。
【先行技術文献】
【特許文献】
【0004】
特開2022-61466号公報
【発明の概要】
【発明が解決しようとする課題】
【0005】
一般的に、バッテリーモジュールには、容量や用途に応じて複数種類のサイズが存在する。しかしながら、特許文献1のバッテリーセルホルダでは、収容部のサイズは全て同じであるため、1種類のサイズのバッテリーセルしか収容することはできない。
【0006】
よって、直径が異なる複数種類のバッテリーセルを用いる場合、それぞれの直径に対応した収容部を有するセルホルダを新たに設計、製造する必要があり、コストがかかるという課題があった。
【0007】
本開示の一態様の目的は、コストをかけることなく、複数種類のサイズのバッテリーセルを収容することができるバッテリーセルホルダ、バッテリーモジュール、およびバッテリーパックを提供することである。
【課題を解決するための手段】
【0008】
本開示の一態様に係るバッテリーセルホルダは、柱体状のバッテリーセルを収容する収容部を備えたバッテリーセルホルダであって、前記収容部は、第1の径を有する柱体状の空間である第1収容部と、前記第1の径よりも小さい第2の径を有する柱体状の空間である第2収容部と、を含み、上面視において、前記第1収容部の外周と前記第2収容部の外周とが部分的に組み合わさった形状である。
【0009】
本開示の一態様に係るバッテリーモジュールは、上記本開示の一態様に係るバッテリーセルホルダを有する。
【0010】
本開示の一態様に係るバッテリーパックは、上記本開示の一態様に係るバッテリーモジュールを有する。
【発明の効果】
(【0011】以降は省略されています)
この特許をJ-PlatPat(特許庁公式サイト)で参照する
関連特許
いすゞ自動車株式会社
監視システム
今日
いすゞ自動車株式会社
制御システム
1日前
いすゞ自動車株式会社
バッテリーセルホルダ、バッテリーモジュール、およびバッテリーパック
今日
日本発條株式会社
積層体
3日前
東レ株式会社
多孔質炭素シート
22日前
キヤノン株式会社
電子機器
22日前
ローム株式会社
半導体装置
1日前
ローム株式会社
半導体装置
1日前
ローム株式会社
半導体装置
1日前
ローム株式会社
半導体装置
22日前
個人
防雪防塵カバー
3日前
株式会社GSユアサ
蓄電装置
3日前
東レ株式会社
ガス拡散層の製造方法
22日前
個人
半導体パッケージ用ガラス基板
2日前
株式会社ティラド
面接触型熱交換器
14日前
ニチコン株式会社
コンデンサ
15日前
ニチコン株式会社
コンデンサ
15日前
トヨタ自動車株式会社
二次電池
3日前
マクセル株式会社
配列用マスク
14日前
日本特殊陶業株式会社
保持装置
3日前
日本特殊陶業株式会社
保持装置
1日前
ローム株式会社
電子装置
3日前
トヨタ自動車株式会社
電池パック
7日前
個人
多層樹脂シート電池の電流制限方法
13日前
住友電装株式会社
コネクタ
3日前
住友電装株式会社
コネクタ
3日前
トヨタ自動車株式会社
電池パック
7日前
TDK株式会社
コイル部品
1日前
住友電装株式会社
コネクタ
3日前
株式会社デンソー
電子装置
3日前
ローム株式会社
半導体装置
3日前
ローム株式会社
半導体装置
3日前
トヨタ自動車株式会社
電池パック
7日前
住友電装株式会社
コネクタ
3日前
株式会社カネカ
正極活物質
3日前
ヒロセ電機株式会社
電気コネクタ
3日前
続きを見る
他の特許を見る