TOP
|
特許
|
意匠
|
商標
特許ウォッチ
Twitter
他の特許を見る
10個以上の画像は省略されています。
公開番号
2025125692
公報種別
公開特許公報(A)
公開日
2025-08-28
出願番号
2024021789
出願日
2024-02-16
発明の名称
電動送風機
出願人
株式会社東芝
代理人
弁理士法人iX
,
弁理士法人サクラ国際特許事務所
主分類
F04D
29/58 20060101AFI20250821BHJP(液体用容積形機械;液体または圧縮性流体用ポンプ)
要約
【課題】送風機用インバータへの塵埃の影響を緩和しながら、適切な冷却風量を確保する。
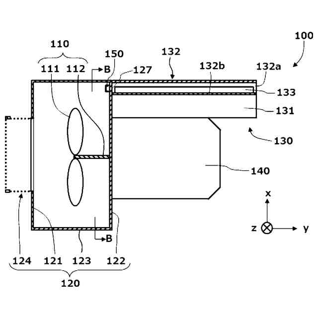
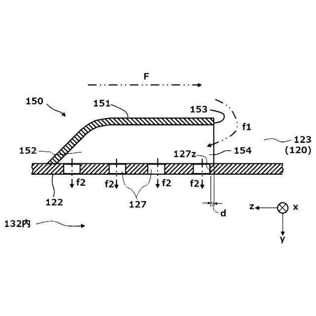
【解決手段】実施形態によれば車両用電動機に冷却用空気を供給する電動送風機は、ファンと、ファンを収納し冷却用空気の供給用の通気ダクトに接続されるファンケース120と、ファンを駆動する送風機用電動機と、送風機用電動機への電力を制御する送風機用インバータと、インバータ冷却空気ダクトと、連通孔カバーを備える。インバータ冷却空気ダクトは、ファンケース120内から連通孔127を介して冷却用空気の一部をインバータ冷却用空気として受け入れてその流路となる。連通孔カバー150は、ファンケース120内において連通孔127を覆うように設けられてファンケース120内の車両用電動機冷却用空気の流れのカバー下流側端部153に下流側開口154が形成されている。
【選択図】図6
特許請求の範囲
【請求項1】
車両用電動機に車両用電動機冷却用空気を供給する電動送風機であって、
ファンと、
前記ファンを収納し、前記車両用電動機冷却用空気の供給用の通気ダクトに接続され連通孔が形成されているファンケースと、
前記ファンを駆動する送風機用電動機と、
前記送風機用電動機への電力の供給を制御する送風機用インバータと、
前記ファンケース内から前記連通孔を介して前記車両用電動機冷却用空気の一部を前記送風機用インバータの冷却のためのインバータ冷却用空気として受け入れてその流路を形成するインバータ冷却空気ダクトと、
前記ファンケース内において前記連通孔を覆うように設けられて、前記ファンケース内の前記車両用電動機冷却用空気の流れのカバー下流側端部に下流側開口が形成された連通孔カバーと、
を備えることを特徴とする電動送風機。
続きを表示(約 920 文字)
【請求項2】
前記連通孔カバーは、前記ファンケース内の前記車両用電動機冷却用空気の流れの方向に沿った方向に設けられていることを特徴とする請求項1に記載の電動送風機。
【請求項3】
前記ファンケース内の前記車両用電動機冷却用空気の流れの方向について見て、前記カバー下流側端部の位置は、前記連通孔の最下流側の最下流連通孔端部の位置より下流側となっていることを特徴とする請求項1に記載の電動送風機。
【請求項4】
前記連通孔カバーは1つであって、前記連通孔の全てを覆うように形成されていることを特徴とする請求項1または請求項2に記載の電動送風機。
【請求項5】
前記連通孔カバーは、1つずつの前記連通孔に対応して設けられていることを特徴とする請求項1または請求項2に記載の電動送風機。
【請求項6】
前記連通孔は、前記車両用電動機冷却用空気の流れの方向に沿って、1列または複数列に配されていることを特徴とする請求項5に記載の電動送風機。
【請求項7】
前記車両用電動機冷却用空気の流れの方向に沿って互いに隣接する2つの前記連通孔カバーのうちの上流側の前記連通孔カバーの前記カバー下流側端部は、下流側の前記連通孔カバーのカバー上流側端部よりも上流側にあることを特徴とする請求項5に記載の電動送風機。
【請求項8】
前記車両用電動機冷却用空気の流れの方向に沿って互いに隣接する2つの前記連通孔カバーのうちの上流側の前記連通孔カバーは、下流側の前記連通孔カバーよりも、前記連通孔からの高さが高いことを特徴とする請求項5に記載の電動送風機。
【請求項9】
前記連通孔が形成され前記ファンケースに着脱可能な取り付け板と、
前記取り付け板に取り付けられた前記連通孔カバーと、
を具備した取り付けセットをさらに具備し、
前記ファンケースには、前記取り付けセットの前記ファンケースへの取り付け状態においては塞がれる大きさのセット取り付け開口が形成されている、
ことを特徴とする請求項1に記載の電動送風機。
発明の詳細な説明
【技術分野】
【0001】
本発明の実施形態は、電動送風機に関する。
続きを表示(約 1,300 文字)
【背景技術】
【0002】
多くの車両駆動システムにおいては、車輪を駆動する車両用電動機、車両用電動機冷却用空気を送る車両用送風機、およびこれらの電源となる補助電源装置等が、車両の床下に配置されている。
【0003】
一般に、車両用送風機のような電動送風機は、定電圧、定周波数で電力を供給する補助電源装置からの電力を電力変換することによってファンを駆動制御する送風機用インバータを有する。
【0004】
送風機用インバータは、主流となる車両用送風機から車両用電動機への車両用電動機冷却用空気の一部を分岐して得られるインバータ冷却用空気により冷却される。
【0005】
このインバータ冷却用空気は、車両用送風機のファンケースに形成された連通孔を介してファンケースに接続されるインバータ冷却用空気流路を流れる。インバータ冷却用空気は、たとえばインバータ冷却用空気流路に突出するフィンを冷却した後に、インバータ冷却用空気流路から流出する。
【先行技術文献】
【特許文献】
【0006】
特開2011-85110号公報
【発明の概要】
【発明が解決しようとする課題】
【0007】
上述のように、インバータ冷却用空気は、主流となる車両用電動機冷却用空気の一部を分岐して得られる。この際、車両用電動機の冷却に悪影響を与えないためには、主流の風量およびファン内の静圧を確保する必要がある。従って、インバータ冷却用空気流路に分岐する部分での連通孔の連通孔面積を大きくとることはできない。
【0008】
このため、車両用送風機のファンが吸い込む外気中の細かな塵埃が、この連通孔付近に堆積しやすく、また、塵埃の堆積によるインバータ冷却用空気の風量低下への影響が大きいという課題があった。
【0009】
本発明の実施形態は、送風機用インバータへの塵埃の影響を緩和しながら、適切な冷却風量を確保可能な電動送風機を提供することを目的とする。
【課題を解決するための手段】
【0010】
上述の目的を達成するため、本実施形態に係る電動送風機は、車両用電動機に車両用電動機冷却用空気を供給する電動送風機であって、ファンと、前記ファンを収納し、前記車両用電動機冷却用空気の供給用の通気ダクトに接続され連通孔が形成されているファンケースと、前記ファンを駆動する送風機用電動機と、前記送風機用電動機への電力の供給を制御する送風機用インバータと、前記ファンケース内から前記連通孔を介して前記車両用電動機冷却用空気の一部を前記送風機用インバータの冷却のためのインバータ冷却用空気として受け入れてその流路を形成するインバータ冷却空気ダクトと、前記ファンケース内において前記連通孔を覆うように設けられて、前記ファンケース内の前記車両用電動機冷却用空気の流れのカバー下流側端部に下流側開口が形成された連通孔カバーと、を備えることを特徴とする。
【図面の簡単な説明】
(【0011】以降は省略されています)
この特許をJ-PlatPat(特許庁公式サイト)で参照する
関連特許
株式会社東芝
固定子
1か月前
株式会社東芝
センサ
17日前
株式会社東芝
センサ
17日前
株式会社東芝
センサ
1か月前
株式会社東芝
モータ
12日前
株式会社東芝
ドア構造
1か月前
株式会社東芝
金型構造
17日前
株式会社東芝
吸音装置
12日前
株式会社東芝
電子装置
11日前
株式会社東芝
粒子加速器
11日前
株式会社東芝
半導体装置
14日前
株式会社東芝
半導体装置
26日前
株式会社東芝
ラック装置
1か月前
株式会社東芝
半導体装置
14日前
株式会社東芝
半導体装置
14日前
株式会社東芝
半導体装置
14日前
株式会社東芝
半導体装置
14日前
株式会社東芝
半導体装置
14日前
株式会社東芝
半導体装置
24日前
株式会社東芝
半導体装置
14日前
株式会社東芝
電動送風機
1か月前
株式会社東芝
差動伝送回路
1か月前
株式会社東芝
ディスク装置
14日前
株式会社東芝
ディスク装置
14日前
株式会社東芝
ディスク装置
1か月前
株式会社東芝
電子デバイス
12日前
株式会社東芝
ディスク装置
1か月前
株式会社東芝
重量測定装置
10日前
株式会社東芝
音響制御装置
10日前
株式会社東芝
ディスク装置
1か月前
株式会社東芝
走行システム
1か月前
株式会社東芝
電子デバイス
12日前
株式会社東芝
電子デバイス
12日前
株式会社東芝
熱電変換装置
12日前
株式会社東芝
アイソレータ
1か月前
株式会社東芝
海水用構造体
24日前
続きを見る
他の特許を見る