TOP
|
特許
|
意匠
|
商標
特許ウォッチ
Twitter
他の特許を見る
10個以上の画像は省略されています。
公開番号
2025140797
公報種別
公開特許公報(A)
公開日
2025-09-29
出願番号
2024040381
出願日
2024-03-14
発明の名称
歯車、減速機、及び、車両
出願人
いすゞ自動車株式会社
代理人
弁理士法人鈴榮特許綜合事務所
主分類
F16H
57/04 20100101AFI20250919BHJP(機械要素または単位;機械または装置の効果的機能を生じ維持するための一般的手段)
要約
【課題】 適宜の高速回転時において、噛み始め側から潤滑油を供給する場合、潤滑油のポンピングによる動力の伝達損失を低減し得る歯車を提供すること。
【解決手段】 他の歯車と噛み合わせて用いられ、噛み始め側から潤滑油が供給される歯車は、歯底円直径を規定する歯底円を有する基部と、前記基部の前記歯底円の周方向に所定ピッチで設けられる複数の歯部と、前記複数の歯部のうち、互いに隣接する歯部間に前記歯底円に対してそれぞれ凹状に設けられ、前記噛み始め側からの前記潤滑油が入れられる凹部とを有する。
【選択図】 図7B
特許請求の範囲
【請求項1】
他の歯車と噛み合わせて用いられ、噛み始め側から潤滑油が供給される歯車であって、
歯底円直径を規定する歯底円を有する基部と、
前記基部の前記歯底円の周方向に所定ピッチで設けられる複数の歯部と、
前記複数の歯部のうち、互いに隣接する歯部間に前記歯底円に対してそれぞれ凹状に設けられ、前記噛み始め側からの前記潤滑油が入れられる凹部と
を有する、歯車。
続きを表示(約 500 文字)
【請求項2】
前記凹部は、前記互いに隣接する歯部間の全ての前記歯底円にそれぞれ設けられる、
請求項1に記載の歯車。
【請求項3】
前記凹部同士の少なくとも一部は、互いに対して連通する、
請求項1又は請求項2に記載の歯車。
【請求項4】
前記凹部は、前記基部の中心軸の軸周りに形成される前記基部内の円環状溝に連通する、
請求項1又は請求項2に記載の歯車。
【請求項5】
前記凹部は、前記基部の厚さ方向に複数が並設されている、
請求項1又は請求項2に記載の歯車。
【請求項6】
駆動源により駆動される前記他の歯車と、
前記他の歯車に噛み合わせられる、請求項1又は請求項2に記載の歯車と、
前記他の歯車と前記歯車との間の、前記噛み始め側から前記潤滑油を供給する潤滑油供給部と
を有する、減速機。
【請求項7】
請求項6に記載の減速機と、
前記他の歯車を駆動する前記駆動源と、
前記駆動源を駆動させる電力を供給するバッテリと
を有する車両。
発明の詳細な説明
【技術分野】
【0001】
本発明は、歯車、減速機、及び、車両に関する。
続きを表示(約 1,500 文字)
【背景技術】
【0002】
例えば電気自動車(EV: Electric Vehicle)用などのモータの高速回転化が進んでいる。モータの高速回転に従動する高速回転ギヤは歯面に吹きかけられた潤滑油により潤滑冷却がなされている。
【0003】
潤滑油を吹きかける位置として代表的なものに、ギヤ同士の噛み合い点に向かい、噛み始め側、及び、噛み外れ側の2通りがある。噛み始め側から潤滑油を供給する場合、一般的には噛み合い点に多量に潤滑油が供給される。ギヤが平歯車であれば、潤滑油はギヤ同士の噛み合いによる圧力により、ギヤの軸方向に排出される。潤滑油を噛み外れ側から吹き付けた場合、噛み合い点まで隙間が連続するが、歯に遮られるため、高い油圧で吹き付け続ける必要がある。
【先行技術文献】
【特許文献】
【0004】
特開2017-172708号公報
【発明の概要】
【発明が解決しようとする課題】
【0005】
例えば高速回転のギヤにおいて、噛み始め側から潤滑油を供給する場合、噛み合い点に多量に潤滑油が供給されると、潤滑油の排出が間に合わず、潤滑油のポンピングが発生し、これがドライブギヤからドリブンギヤへの動力の伝達損失となる可能性がある。
【0006】
本発明は、適宜の高速回転時において、噛み始め側から潤滑油を供給する場合、潤滑油のポンピングによる動力の伝達損失を低減し得る歯車、その歯車を有する減速機、及び、その減速機を有する車両を提供することを目的とする。
【課題を解決するための手段】
【0007】
本発明の一態様に係る、他の歯車と噛み合わせて用いられ、噛み始め側から潤滑油が供給される歯車は、歯底円直径を規定する歯底円を有する基部と、前記基部の前記歯底円の周方向に所定ピッチで設けられる複数の歯部と、前記複数の歯部のうち、互いに隣接する歯部間に前記歯底円に対してそれぞれ凹状に設けられ、前記噛み始め側からの前記潤滑油が入れられる凹部とを有する。
【発明の効果】
【0008】
本発明によれば、適宜の高速回転時において、噛み始め側から潤滑油を供給する場合、潤滑油のポンピングによる動力の伝達損失を低減し得る歯車、その歯車を有する減速機、及び、その減速機を有する車両を提供することができる。
【図面の簡単な説明】
【0009】
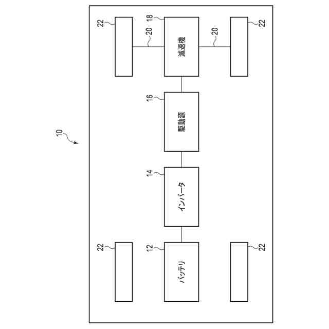
実施形態に係る車両を示す概略的なブロック図。
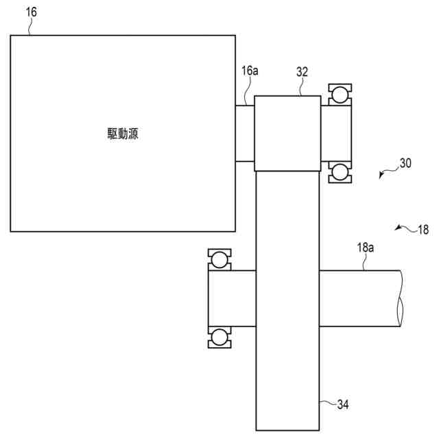
駆動源と、減速機との関係を示す概略図。
図2に示すドリブンギヤの概略的な斜視図。
図3Aに示すドリブンギヤの概略的な透視図。
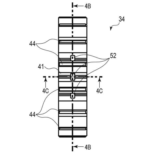
図3A及び図3Bに示すドリブンギヤの側面図。
図4A中の4A-4A線に沿う断面図。
図4A中の4C-4C線に沿う断面図。
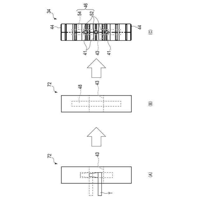
図2から図4Cに示すドリブンギヤの製造方法を示す概略図。
図2から図4Cに示すドリブンギヤの製造方法を示す概略図。
図2に示すドライブギヤとドリブンギヤとの間の噛み始め位置に向けて潤滑油を供給する状態を示す概略図。
図7A中の符号7Bで示す位置の拡大図。
変形例に係るドリブンギヤの概略的な正面図。
第2変形例に係るドリブンギヤの概略的な断面図。
【発明を実施するための形態】
【0010】
図面を参照しながら好ましい実施形態について説明する。
(【0011】以降は省略されています)
この特許をJ-PlatPat(特許庁公式サイト)で参照する
関連特許
いすゞ自動車株式会社
システム
2日前
いすゞ自動車株式会社
制御システム
今日
いすゞ自動車株式会社
ガス処理装置
2日前
いすゞ自動車株式会社
ガス処理装置
2日前
いすゞ自動車株式会社
変形検知装置
13日前
いすゞ自動車株式会社
接続構造及び車両
2日前
いすゞ自動車株式会社
取付構造及び車両
5日前
いすゞ自動車株式会社
EGRシステム及び車両
2日前
いすゞ自動車株式会社
内燃機関ユニット及び車両
2日前
いすゞ自動車株式会社
歯車、減速機、及び、車両
2日前
いすゞ自動車株式会社
ヘッドカバー、内燃機関、及び、車両
6日前
いすゞ自動車株式会社
オイル供給機構、内燃機関ユニット及び車両
2日前
いすゞ自動車株式会社
エアコンプレッサ、内燃機関アセンブリ、及び、車両
2日前
いすゞ自動車株式会社
負荷装置アセンブリ、内燃機関アセンブリ、及び、車両
2日前
いすゞ自動車株式会社
車両、並びに、車両上での水素ガスの取得及び炭素を含む固形物の回収方法
2日前
個人
鍋虫ねじ
1か月前
個人
ホース保持具
5か月前
個人
回転伝達機構
1か月前
個人
紛体用仕切弁
1か月前
個人
トーションバー
6か月前
個人
差動歯車用歯形
3か月前
個人
ジョイント
12日前
個人
回転式配管用支持具
7か月前
株式会社不二工機
電磁弁
3か月前
個人
地震の揺れ回避装置
2か月前
個人
ボルトナットセット
6か月前
個人
ナット
13日前
株式会社不二工機
電磁弁
4か月前
個人
吐出量監視装置
29日前
カヤバ株式会社
緩衝器
6か月前
個人
ベルトテンショナ
7か月前
カヤバ株式会社
緩衝器
2か月前
カヤバ株式会社
ダンパ
3か月前
カヤバ株式会社
ダンパ
3か月前
柿沼金属精機株式会社
分岐管
1か月前
株式会社三協丸筒
枠体
6か月前
続きを見る
他の特許を見る