TOP
|
特許
|
意匠
|
商標
特許ウォッチ
Twitter
他の特許を見る
公開番号
2025141587
公報種別
公開特許公報(A)
公開日
2025-09-29
出願番号
2024041597
出願日
2024-03-15
発明の名称
負荷装置アセンブリ、内燃機関アセンブリ、及び、車両
出願人
いすゞ自動車株式会社
代理人
弁理士法人鈴榮特許綜合事務所
主分類
F02B
67/04 20060101AFI20250919BHJP(燃焼機関;熱ガスまたは燃焼生成物を利用する機関設備)
要約
【課題】アイドルギヤと負荷装置の従動ギヤとの間の歯打ち音を抑制可能な負荷装置アセンブリを提供すること。
【解決手段】負荷装置アセンブリは、内燃機関の動力ギヤの回転に連動して回転するアイドルギヤと、アイドルギヤを動力ギヤとの間に配置し、動力ギヤの回転力をアイドルギヤを介して受けて回転する従動ギヤと、従動ギヤと一体的に回転し、動力ギヤの負荷となるシャフトを有する負荷装置とを備える。負荷装置のシャフトを回転させるために少なくとも必要な従動ギヤ及びシャフトを合わせた第1の質量による第1のイナーシャに比べて従動ギヤ及びシャフトのイナーシャを第1のイナーシャよりも大きい第2のイナーシャとし、第2のイナーシャを動力ギヤのイナーシャに近づけるように大きくするとともに、アイドルギヤは、複数の開口を備え、アイドルギヤの回転による第3のイナーシャを、複数の開口がない場合の第4のイナーシャに比べて下げた。
【選択図】図5
特許請求の範囲
【請求項1】
内燃機関とともに用いられる負荷装置アセンブリであって、
前記内燃機関の動力ギヤの回転に連動して回転するアイドルギヤと、
前記アイドルギヤを前記動力ギヤとの間に配置し、前記動力ギヤの回転力を前記アイドルギヤを介して受けて回転する従動ギヤと、
前記従動ギヤと一体的に回転し、前記動力ギヤの負荷となるシャフトを有する負荷装置と
を備え、
前記負荷装置の前記シャフトを回転させるために少なくとも必要な前記従動ギヤ及び前記シャフトを合わせた第1の質量による第1のイナーシャに比べて、前記従動ギヤ及び前記シャフトのイナーシャを前記第1のイナーシャよりも大きい第2のイナーシャとし、前記第2のイナーシャを前記動力ギヤのイナーシャに近づけるように大きくするとともに、
前記アイドルギヤは、複数の開口を備え、前記アイドルギヤの回転による第3のイナーシャを、前記複数の開口がない場合の第4のイナーシャに比べて下げた、
負荷装置アセンブリ。
続きを表示(約 590 文字)
【請求項2】
前記シャフトは、クランクシャフトであり、
前記第1のイナーシャに比べて、前記第2のイナーシャは、2倍以上である、
請求項1に記載の負荷装置アセンブリ。
【請求項3】
前記負荷装置は、前記クランクシャフトの回転により、圧縮エアを吐出するエアコンプレッサである
請求項2に記載の負荷装置アセンブリ。
【請求項4】
前記複数の開口は、周方向に均等な間隔で、前記アイドルギヤの中心軸から径方向に向かう仮想線に対して対称に形成され、
前記アイドルギヤの中心と前記複数の開口との距離はそれぞれ同じである、
請求項1又は請求項2に記載の負荷装置アセンブリ。
【請求項5】
前記複数の開口がそれぞれ同径の円形であるとき、
前記複数の開口と前記アイドルギヤの内周縁との距離の方が、前記複数の開口と前記アイドルギヤの外周縁との距離よりも長い、
請求項1又は請求項2に記載の負荷装置アセンブリ。
【請求項6】
請求項1又は請求項2に記載の負荷装置アセンブリと、
前記動力ギヤと、
前記動力ギヤに動力を負荷する内燃機関と
を有する、内燃機関アセンブリ。
【請求項7】
請求項6に記載の内燃機関アセンブリを有する、車両。
発明の詳細な説明
【技術分野】
【0001】
本発明は、負荷装置アセンブリ、内燃機関アセンブリ、及び、車両に関する。
続きを表示(約 1,700 文字)
【背景技術】
【0002】
エアコンプレッサなどの負荷装置は、内燃機関のクランクシャフトが回転される駆動力に連動して駆動される。このような負荷装置は、内燃機関のクランクシャフトの回転の負荷となり得る。
【先行技術文献】
【特許文献】
【0003】
特開2020-45890号公報
【発明の概要】
【発明が解決しようとする課題】
【0004】
内燃機関のクランクシャフトスプロケットなどの動力ギヤから、アイドルギヤを介して駆動力が伝達される負荷装置の従動ギヤに駆動力を伝達する場合、従動ギヤとクランクシャフトとが一体化された回転アセンブリ体が抵抗(負荷)となる。この場合、回転アセンブリ体は、動力ギヤの回転を静止する方向に慣性力が働く。例えば、動力ギヤから、駆動力が伝達される負荷装置の従動ギヤに駆動力を伝達する場合、アイドルギヤと従動ギヤとの間に、歯打ち音(ラトル音)が発生する可能性がある。
【0005】
本発明は、アイドルギヤと負荷装置の従動ギヤとの間の歯打ち音を抑制可能な負荷装置アセンブリ、内燃機関アセンブリ、及び、車両を提供することを目的とする。
【課題を解決するための手段】
【0006】
本発明の一態様に係る、内燃機関とともに用いられる負荷装置アセンブリは、前記内燃機関の動力ギヤの回転に連動して回転するアイドルギヤと、前記アイドルギヤを前記動力ギヤとの間に配置し、前記動力ギヤの回転力を前記アイドルギヤを介して受けて回転する従動ギヤと、前記従動ギヤと一体的に回転し、前記動力ギヤの負荷となるシャフトを有する負荷装置とを備える。前記負荷装置の前記シャフトを回転させるために少なくとも必要な前記従動ギヤ及び前記シャフトを合わせた第1の質量による第1のイナーシャに比べて、前記従動ギヤ及び前記シャフトのイナーシャを前記第1のイナーシャよりも大きい第2のイナーシャとし、前記第2のイナーシャを前記動力ギヤのイナーシャに近づけるように大きくするとともに、前記アイドルギヤは、複数の開口を備え、前記アイドルギヤの回転による第3のイナーシャを、前記複数の開口がない場合の第4のイナーシャに比べて下げた。
【発明の効果】
【0007】
本発明によれば、アイドルギヤと負荷装置の従動ギヤとの間の歯打ち音を抑制可能な負荷装置アセンブリ、内燃機関アセンブリ、及び、車両を提供することができる。
【図面の簡単な説明】
【0008】
実施形態に係る負荷装置アセンブリ、及び、負荷装置アセンブリの負荷装置を駆動する動力源となる内燃機関を有する内燃機関アセンブリを含む車両を示す概略図。
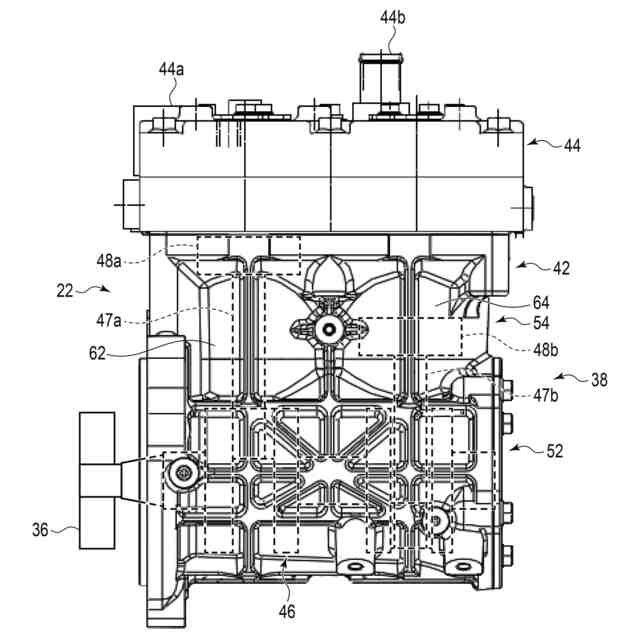
内燃機関の動力ギヤと負荷装置アセンブリの負荷装置(エアコンプレッサ)との位置関係を示すとともに、内燃機関の動力ギヤと、エアコンプレッサのクランクシャフトに固定される従動ギヤと、動力ギヤ及びエアコンプレッサの従動ギヤの間のアイドルギヤとの配置を示す概略図。
実施形態に係るアイドルギヤの概略的な正面図。
実施形態に係る負荷装置アセンブリの従動ギヤ及び負荷装置(エアコンプレッサ)を示す概略図。
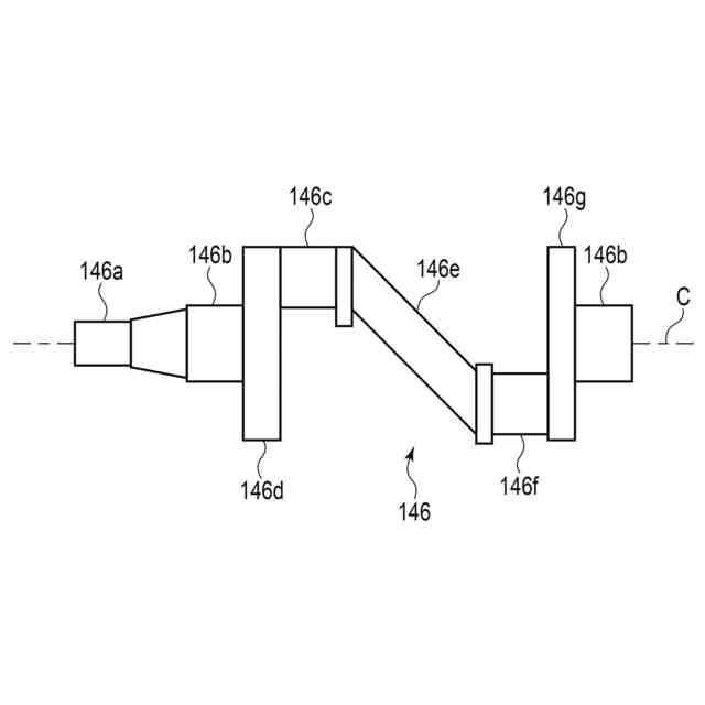
実施形態に係る負荷装置(エアコンプレッサ)のクランクシャフトを示す概略図。
比較例に係る負荷装置(エアコンプレッサ)のクランクシャフトを示す概略図。
【発明を実施するための形態】
【0009】
以下、図面を参照しながら、本実施形態に係る車両10の内燃機関アセンブリ12の負荷装置アセンブリ22について説明する。なお、各図における各部材の相対的な大きさは、概略的なものであり、実際のものとは異なることがある。
【0010】
図1に示すように、車両10は、内燃機関アセンブリ12を有する。内燃機関アセンブリ12は、負荷装置アセンブリ22と、負荷装置アセンブリ22を駆動する動力源となる内燃機関24とを有する。車両10の一例は、トラックやトラクターなどである。
(【0011】以降は省略されています)
この特許をJ-PlatPat(特許庁公式サイト)で参照する
関連特許
トヨタ自動車株式会社
内燃機関
20日前
トヨタ自動車株式会社
車両の制御装置
20日前
株式会社クボタ
作業車両
今日
本田技研工業株式会社
内燃機関
今日
株式会社SUBARU
エンジン制御装置
22日前
朝日電装株式会社
スロットルグリップ装置
10日前
個人
流体式推力方向制御装置
10日前
株式会社IHI原動機
脈動減衰装置
20日前
トヨタ自動車株式会社
閾値の設定装置
10日前
トヨタ自動車株式会社
エンジン制御装置
6日前
本田技研工業株式会社
内燃機関の吸気構造
今日
本田技研工業株式会社
内燃機関の制御装置
20日前
株式会社デンソートリム
エンジン制御装置
6日前
日産自動車株式会社
内燃機関
6日前
日産自動車株式会社
内燃機関
6日前
本田技研工業株式会社
EGRバルブ制御装置
10日前
マツダ株式会社
エンジン
今日
トヨタ自動車株式会社
エンジン制御装置
10日前
トヨタ自動車株式会社
内燃機関の燃料供給装置
6日前
トヨタ自動車株式会社
インジェクタの制御装置
8日前
トヨタ自動車株式会社
内燃機関の燃料供給装置
10日前
ヤンマーホールディングス株式会社
エンジン装置
8日前
大阪瓦斯株式会社
発電設備、及び発電方法
8日前
ヤンマーホールディングス株式会社
エンジン装置
8日前
本田技研工業株式会社
内燃機関の制御装置
今日
ヤンマーホールディングス株式会社
エンジン装置
8日前
ヤンマーホールディングス株式会社
エンジン装置
8日前
ヤンマーホールディングス株式会社
エンジン装置
8日前
ヤンマーホールディングス株式会社
エンジン装置
8日前
本田技研工業株式会社
内燃機関の制御装置
今日
ヤンマーホールディングス株式会社
エンジン装置
8日前
トヨタ自動車株式会社
内燃機関の燃料噴射制御装置
8日前
マツダ株式会社
エンジンの制御装置
今日
愛三工業株式会社
燃料供給装置
今日
株式会社豊田自動織機
燃料噴射弁
14日前
ヤンマーホールディングス株式会社
エンジンシステム
8日前
続きを見る
他の特許を見る