TOP
|
特許
|
意匠
|
商標
特許ウォッチ
Twitter
他の特許を見る
10個以上の画像は省略されています。
公開番号
2025141152
公報種別
公開特許公報(A)
公開日
2025-09-29
出願番号
2024040946
出願日
2024-03-15
発明の名称
細胞剥離方法、および細胞剥離装置
出願人
キヤノン株式会社
代理人
個人
,
個人
,
個人
,
個人
,
個人
主分類
C12M
1/00 20060101AFI20250919BHJP(生化学;ビール;酒精;ぶどう酒;酢;微生物学;酵素学;突然変異または遺伝子工学)
要約
【課題】 培養基材に培養した培養基材に対して、超音波による振動と、叩打を組み合わせて細胞を剥離する方法で、剥離時間を短くし、かつ剥離時間のバラツキを小さくできる細胞剥離方法を提供すること。
【解決手段】 培養基材の培養面に接着した細胞を、前記培養面から剥離する細胞剥離方法であって、超音波発生手段が超音波を発生させることで、前記培養基材を振動させる超音波発生工程と、前記培養基材を叩打する叩打工程と、を有し、前記培養基材と前記超音波発生手段が所定の領域内に位置する状態で、前記超音波発生工程と前記叩打工程が行われる、細胞剥離方法。
【選択図】 図1
特許請求の範囲
【請求項1】
培養基材の培養面に接着した細胞を、前記培養面から剥離する細胞剥離方法であって、超音波発生手段が超音波を発生させることで、前記培養基材を振動させる超音波発生工程と、前記培養基材を叩打する叩打工程と、を有し、
前記培養基材と前記超音波発生手段が所定の領域内に位置する状態で、前記超音波発生工程と前記叩打工程が行われる、細胞剥離方法。
続きを表示(約 790 文字)
【請求項2】
前記所定の領域に位置する状態は、前記培養基材を上面から見た投影図と、前記超音波発生手段を上面から見た投影図とが、少なくとも一部が重なる状態である、請求項1に記載の細胞剥離方法。
【請求項3】
前記所定の領域内に位置する状態は、前記培養基材を上面から見た投影図の面積Sdと、
前記超音波発生手段を上面から見た投影図の面積Suとで、面積が小さい側の重心が、面積が大きい側の投影図内に含まれる状態である、請求項1に記載の細胞剥離方法。
【請求項4】
前記超音波発生工程と前記叩打工程は、少なくともある時刻において同時に行われる、請求項1に記載の細胞剥離方法。
【請求項5】
前記培養基材は位置規制部材によって位置が規制されている、請求項1に記載の細胞剥離方法。
【請求項6】
前記位置規制部材は前記培養基材との接触部に突起を有しており、前記培養基材と点接触するように構成されている、請求項1に記載の細胞剥離方法。
【請求項7】
培養基材の培養面に接着した細胞を、前記培養面から剥離する細胞剥離装置であって、超音波を発生させることで、前記培養基材に超音波帯域の振動を与える超音波発生手段と、前記培養基材を叩打する叩打手段と、を有し、前記培養基材と前記超音波発生手段とが所定の領域内に位置する状態で、超音波の発生と叩打が行われる、細胞剥離装置。
【請求項8】
前記細胞剥離装置は位置規制部材を有し、前記培養基材は前記位置規制部材によって位置が規制されている、請求項7に記載の細胞剥離装置。
【請求項9】
前記位置規制部材は前記培養基材との接触部に突起を有しており、前記培養基材と点接触するように構成されている、請求項8に記載の細胞剥離装置。
発明の詳細な説明
【技術分野】
【0001】
本発明は細胞剥離方法、および細胞剥離装置に関する。
続きを表示(約 2,000 文字)
【背景技術】
【0002】
再生医療の分野においては、大量の細胞が必要であり、特に、生体組織の多くを占める接着性細胞を効率的かつ安定的に供給することが求められている。接着性細胞の培養においては、例えばポリスチレンディッシュのような培養基材上での細胞の培養、基材からの細胞の剥離、細胞の回収及び洗浄の各工程を経て、目的とする細胞を取得する。細胞をさらに増やす際には、取得した細胞の一部をまた新たな基材に移して培養する、いわゆる継代操作を行なう。この一連の工程の中でも、細胞に対するダメージを与えずに、高い剥離率で回収するために、剥離方法の検討がされている。特許文献1には、細胞と、培地又は液体とを保持する基材に対して超音波帯域の振動を付与し、細胞の少なくとも一部を基材から剥離させる細胞剥離装置の開示がある。
【0003】
特許文献2には、細胞を細胞培養容器から除去する方法として、掻把、叩打、および/または超音波を含む任意の好適な方法が挙げられている。しかし、特許文献2には、叩打と超音波を組み合わせて実行する場合の詳細について述べられていない。
【先行技術文献】
【特許文献】
【0004】
国際公開第2016-047368号明細書
特開2023-112147号公報
【発明の概要】
【発明が解決しようとする課題】
【0005】
本発明の目的は、培養基材に培養した培養基材に対して、超音波による振動と、叩打を組み合わせて細胞を剥離する方法で、剥離時間を短くし、かつ剥離時間のバラツキを小さくできる細胞剥離方法を提供することにある。
【課題を解決するための手段】
【0006】
本発明に係る細胞剥離方法は、培養基材の培養面に接着した細胞を、前記培養面から剥離する細胞剥離方法であって、超音波発生手段が超音波を発生させることで、前記培養基材を振動させる超音波発生工程と、前記培養基材を叩打する叩打工程と、を有し、前記培養基材と前記超音波発生手段が所定の領域内に位置する状態で、前記超音波発生工程と前記叩打工程が行われる。
【0007】
本発明に係る細胞剥離装置は、培養基材の培養面に接着した細胞を、前記培養面から剥離する細胞剥離装置であって、緒音波を発生させることで、前記培養基材に超音波帯域の振動を与える超音波発生手段と、前記培養基材を叩打する叩打手段と、を有し、前記培養基材と前記超音波発生手段とが所定の領域内に位置する状態で、超音波の発生と叩打が行われる。
【発明の効果】
【0008】
本発明に係る細胞剥離方法によれば、培養基材に培養した培養基材に対して、超音波による振動と、叩打を組み合わせて細胞を剥離する方法で、剥離時間を短くし、かつ剥離時間のバラツキを小さくできる。
【図面の簡単な説明】
【0009】
本発明の実施形態に係る細胞剥離方法、細胞剥離装置の一例を示すフローチャート、および模式図
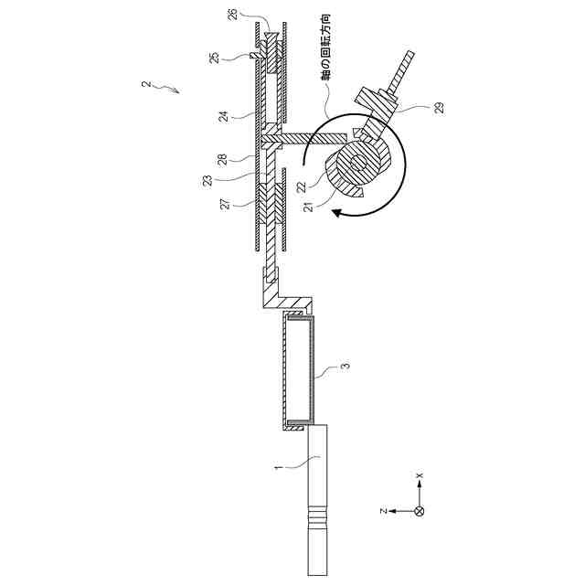
本発明の実施例1に係る細胞剥離方法を行う構成の概略断面図
本発明の実施例1の超音波発生手段1と培養基材3を上面から見た投影図
本発明の実施例1に係る細胞剥離方法の手順を示すフローチャート
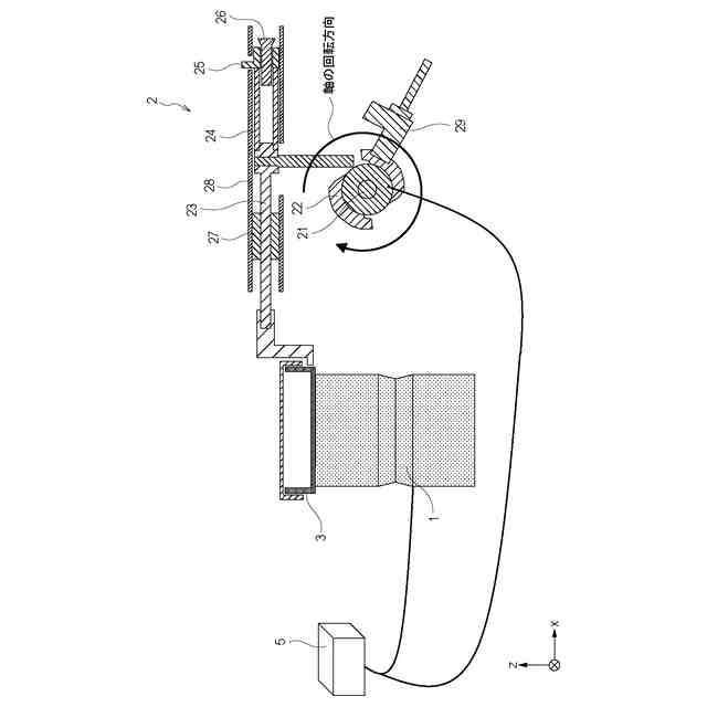
本発明の実施例2に係る細胞剥離方法を行う構成の概略断面図
本発明の実施例2の超音波発生手段1と培養基材3を上面から見た投影図
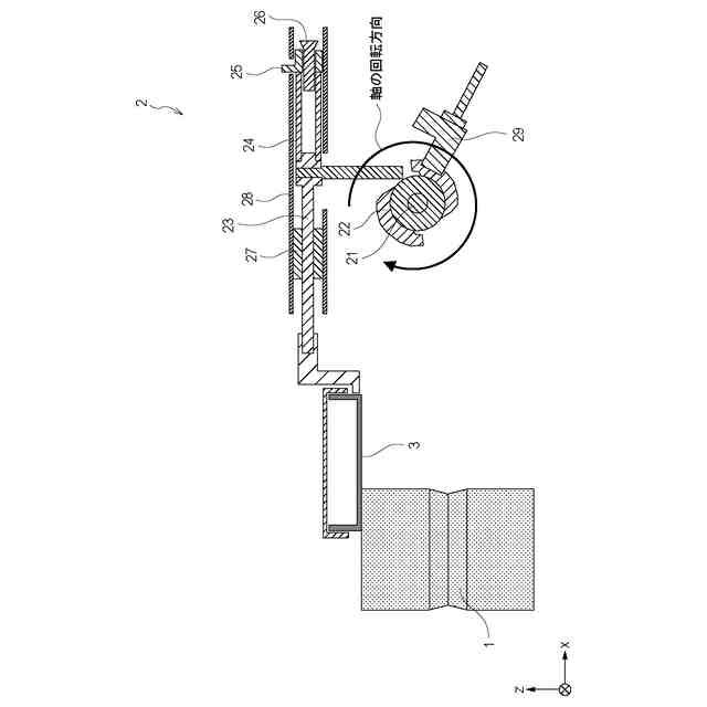
本発明の実施例3に係る細胞剥離方法を行う構成の概略断面図
本発明の実施例3の超音波発生手段1と培養基材3を上面から見た投影図
本発明の実施例5に係る細胞剥離方法を行う構成の概略断面図
本発明の実施例5の超音波発生手段1と培養基材3を上面から見た投影図
本発明の実施例6に係る細胞剥離方法を行う構成の略断面図
本発明の実施例6の超音波発生手段1と培養基材3を上面から見た投影図
本発明の実施例7に係る細胞剥離方法を行う構成の一例を示す模式図
本発明の実施例8に係る細胞剥離方法を行う構成の一例を示す模式図
本発明の実施例9に係る細胞剥離方法を行う構成の一例を示す模式図
本発明の実施例9に係る細胞剥離方法の手順を示すフローチャート
比較例に係る細胞剥離方法を行う構成の一例を示す模式図
比較例の叩打工程における超音波発生手段1と培養基材3の位置関係
比較例の叩打工程における超音波発生手段1と培養基材3を上面から見た投影図
比較例に係る細胞剥離方法の手順を示すフローチャート
【発明を実施するための形態】
【0010】
以下、本発明の実施形態に係る細胞剥離方法、及び細胞剥離装置について説明するが、本発明はこれに限られない。
(【0011】以降は省略されています)
この特許をJ-PlatPat(特許庁公式サイト)で参照する
関連特許
個人
抗遺伝子劣化装置
1か月前
個人
細胞内探査とその利用
1か月前
個人
細胞培養容器
2か月前
杏林製薬株式会社
核酸検出用PCR溶液
3か月前
日本バイリーン株式会社
細胞用支持基材
3か月前
テルモ株式会社
吐出デバイス
24日前
株式会社タクマ
バイオマス処理装置
1か月前
株式会社タクマ
バイオマス処理装置
1か月前
東洋紡株式会社
改変型RNAポリメラーゼ
2か月前
日油株式会社
蛋白質安定化剤
2か月前
株式会社東洋新薬
経口組成物
1か月前
サッポロビール株式会社
飲料
3か月前
テルモ株式会社
容器蓋デバイス
24日前
東ソー株式会社
pH応答性マイクロキャリア
27日前
宝酒造株式会社
アルコール飲料
3日前
大陽日酸株式会社
培養装置
1か月前
大陽日酸株式会社
培養装置
1か月前
トヨタ自動車株式会社
バイオ燃料製造方法
21日前
株式会社ファンケル
SEC12タンパク発現促進剤
2か月前
株式会社豊田中央研究所
細胞励起装置
1日前
株式会社東海ヒット
灌流培養ユニット
3か月前
オンキヨー株式会社
浸漬酒の製造方法、及び、浸漬酒
3か月前
個人
ナノ微粒子の製造方法
3か月前
アサヒビール株式会社
柑橘風味アルコール飲料
2か月前
アサヒビール株式会社
柑橘風味アルコール飲料
2か月前
テルモ株式会社
採取組織細切補助デバイス
24日前
株式会社シャローム
スフィンゴミエリン製造方法
1か月前
横河電機株式会社
藻類培養装置
13日前
株式会社今宮
瓶詰ビールの加熱殺菌方法および装置
1か月前
花王株式会社
リパーゼ変異体
3か月前
公立大学法人北九州市立大学
微生物の検知方法
1か月前
株式会社ショウワ
キトサンオリゴマー分画方法
3日前
住友金属鉱山株式会社
連続発酵方法及び連続発酵装置
27日前
池田食研株式会社
抗疲労用組成物
3か月前
学校法人藤田学園
アンチセンス核酸およびその利用
4か月前
住友ベークライト株式会社
培養キット
27日前
続きを見る
他の特許を見る