TOP
|
特許
|
意匠
|
商標
特許ウォッチ
Twitter
他の特許を見る
10個以上の画像は省略されています。
公開番号
2025141621
公報種別
公開特許公報(A)
公開日
2025-09-29
出願番号
2024041639
出願日
2024-03-15
発明の名称
電池モジュール
出願人
トヨタ自動車株式会社
代理人
弁理士法人酒井国際特許事務所
主分類
H01M
50/204 20210101AFI20250919BHJP(基本的電気素子)
要約
【課題】電池セルと拘束部材とが電気的に短絡することを防止しつつ、隣り合う電池セルの熱が他方の電池セルに影響することを抑制すること。
【解決手段】複数の電池セルが積層した積層体と、積層体を拘束する拘束部材とを備えた電池モジュールであって、電池セルの側面と拘束部材との間に介在し、絶縁性を有する熱伝導材を備え、拘束部材は、第1電池セルに接触する熱伝導材と接触する第1拘束部と、第1拘束部と平行に配置され、第2電池セルに接触する熱伝導材と接触する第2拘束部と、を含み、第1拘束部と第2拘束部とはそれぞれに、隣り合う電池セルにおいて一方の熱が拘束部材を介して他方に伝わらないように、少なくとも電池セルを一つ飛ばしで熱伝導材と接触し、第1電池セルと第2拘束部との間および第2電池セルと第1拘束部との間には、電池セルと拘束部材とが接触しないだけの隙間、または断熱性を有する絶縁材が設けられている。
【選択図】図5
特許請求の範囲
【請求項1】
複数の電池セルと複数の断熱材とが交互に配置されて積層した積層体と、
前記積層体を拘束する拘束部材と、
を備え、
前記拘束部材は、前記積層体の側面と対向して配置され、前記積層体の積層方向に沿って延在する電池モジュールであって、
前記電池セルの側面と前記拘束部材との間に介在し、絶縁性を有する熱伝導材を備え、
前記複数の電池セルは、隣り合う第1電池セルと第2電池セルとを含み、
前記拘束部材は、
前記第1電池セルに接触する前記熱伝導材と接触する第1拘束部と、
前記第1拘束部と平行に配置され、前記第2電池セルに接触する前記熱伝導材と接触する第2拘束部と、を含み、
前記第1拘束部と前記第2拘束部とはそれぞれに、前記隣り合う第1電池セルと第2電池セルにおいて一方の電池セルの熱が前記拘束部材を介して他方の電池セルに伝わらないように、少なくとも前記電池セルを一つ飛ばしで前記熱伝導材と接触し、
前記第1電池セルの側面と前記第2拘束部との間、および前記第2電池セルの側面と前記第1拘束部との間には、前記電池セルの側面と前記拘束部材とが接触しないだけの隙間、または断熱性を有する絶縁材が設けられている
ことを特徴とする電池モジュール。
続きを表示(約 630 文字)
【請求項2】
前記第1電池セルの側面と前記第2拘束部との間、および前記第2電池セルの側面と前記第1拘束部との間には、前記絶縁材が設けられ、
前記絶縁材は、前記電池セルの側面と前記拘束部材との間に介在し、
前記第1拘束部は、前記第1電池セルに接触する前記熱伝導材と前記第2電池セルに接触する前記断熱材とに前記積層方向において交互に接触し、
前記第2拘束部は、前記第2電池セルに接触する前記熱伝導材と前記第1電池セルに接触する前記断熱材とに前記積層方向において交互に接触する
ことを特徴とする請求項1に記載の電池モジュール。
【請求項3】
前記熱伝導材は、熱伝導率が1W/mk以上であり、かつ電気抵抗値が10MΩ以上である
ことを特徴とする請求項2に記載の電池モジュール。
【請求項4】
前記積層方向において前記積層体の両端側に配置され、前記積層体を前記積層方向の両側から挟み込む一対のエンドプレート、を備え、
前記拘束部材は、前記積層方向の両端部が前記一対のエンドプレートに固定されたバンド部材である
ことを特徴とする請求項3に記載の電池モジュール。
【請求項5】
前記積層体は、電池パックのロアケースに収容され、
前記拘束部材は、前記ロアケースに一体化されたクロス部材である
ことを特徴とする請求項3に記載の電池モジュール。
発明の詳細な説明
【技術分野】
【0001】
本発明は、電池モジュールに関する。
続きを表示(約 2,000 文字)
【背景技術】
【0002】
特許文献1には、複数の電池セルが積層した電池モジュールにおいて、いずれかの電池セルが異常発熱した際に、異常発熱した電池セルから隣り合う電池セルへと熱が伝わることを抑制するために、隣り合う電池セル同士の熱抵抗を高くすることが開示されている。特許文献1に記載の構成では、一対のエンドプレート間を繋ぎ電池セルを保持するバンド部材によって電池セルの熱移動を制御している。
【先行技術文献】
【特許文献】
【0003】
国際公開第2018/025567号公報
【発明の概要】
【発明が解決しようとする課題】
【0004】
しかしながら、特許文献1に記載の構成は、金属製の拘束部材が電池セルのセルケースに直接接触する構造であるため、電池セルのセルケースと拘束部材とが短絡してしまい、この短絡による発熱を起こす虞がある。
【0005】
本発明は、上記事情に鑑みてなされたものであって、電池セルと拘束部材とが電気的に短絡することを防止しつつ、隣り合う電池セルの熱が他方の電池セルに影響することを抑制することができる電池モジュールを提供することを目的とする。
【課題を解決するための手段】
【0006】
本発明は、複数の電池セルと複数の断熱材とが交互に配置されて積層した積層体と、前記積層体を拘束する拘束部材と、を備え、前記拘束部材は、前記積層体の側面と対向して配置され、前記積層体の積層方向に沿って延在する電池モジュールであって、前記電池セルの側面と前記拘束部材との間に介在し、絶縁性を有する熱伝導材を備え、前記複数の電池セルは、隣り合う第1電池セルと第2電池セルとを含み、前記拘束部材は、前記第1電池セルに接触する前記熱伝導材と接触する第1拘束部と、前記第1拘束部と平行に配置され、前記第2電池セルに接触する前記熱伝導材と接触する第2拘束部と、を含み、前記第1拘束部と前記第2拘束部とはそれぞれに、前記隣り合う第1電池セルと第2電池セルにおいて一方の電池セルの熱が前記拘束部材を介して他方の電池セルに伝わらないように、少なくとも前記電池セルを一つ飛ばしで前記熱伝導材と接触し、前記第1電池セルの側面と前記第2拘束部との間、および前記第2電池セルの側面と前記第1拘束部との間には、前記電池セルの側面と前記拘束部材とが接触しないだけの隙間、または断熱性を有する絶縁材が設けられていることを特徴とする。
【発明の効果】
【0007】
本発明では、電池セルと拘束部材とが電気的に短絡することを防止しつつ、隣り合う電池セルの熱が他方の電池セルに影響することを抑制することができる。
【図面の簡単な説明】
【0008】
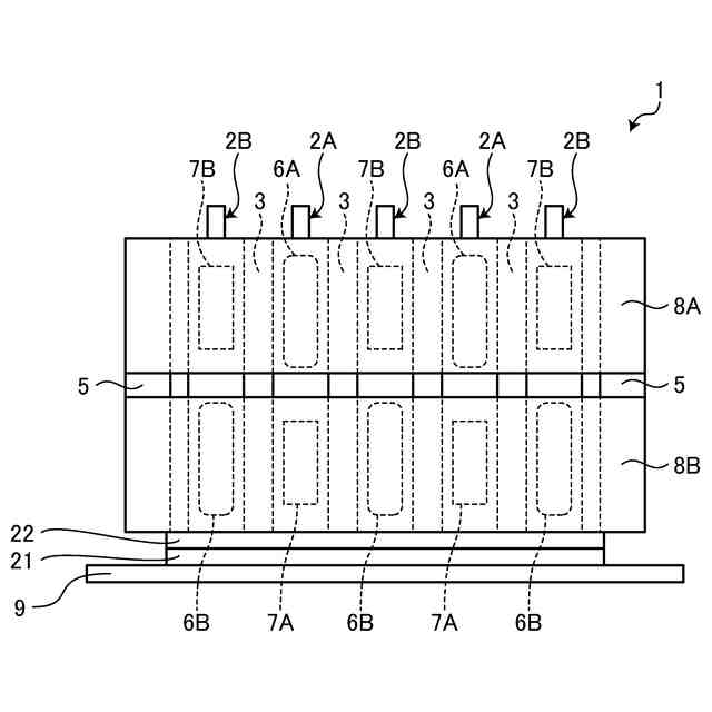
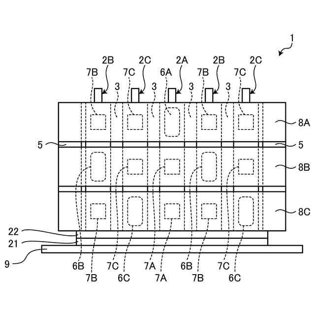
実施形態における電池モジュールを説明するための図である。
電池モジュールを模式的に示す図である。
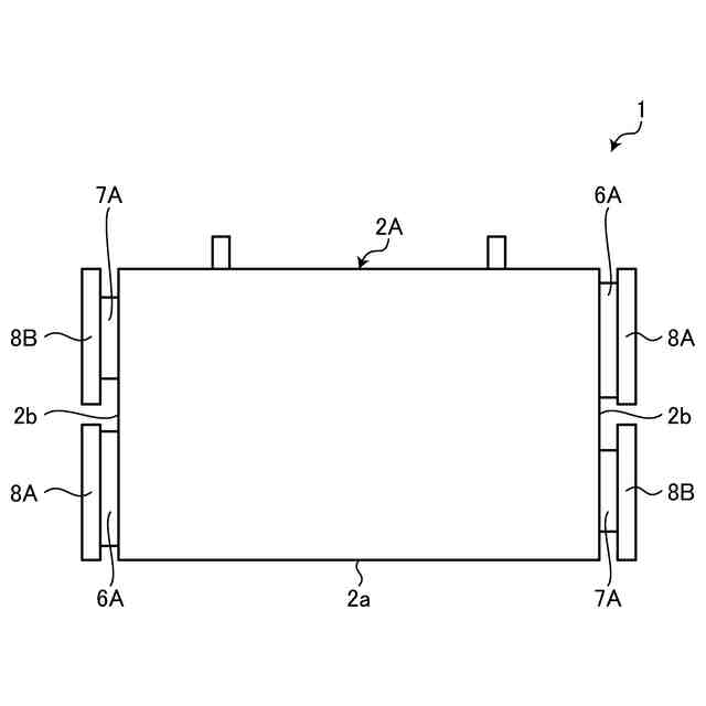
熱伝導材および絶縁材を説明するための図である。
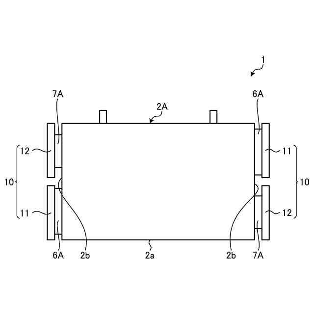
拘束部材と熱伝導材とが接触する構造を説明するための図である。
発熱した電池セルから熱が移動する場合を説明するための図である。
拘束部材にスリットが設けられた構造を説明するための図である。
電池パックのロアケースに設けられたクロス部材と熱伝導材とが接触する構造を説明するための図である。
電池セルの片側の側面に拘束部材が三つ配置された構造を説明するための図である。
片方の側面に三つの拘束部材が配置された構造を説明するための図である。
【発明を実施するための形態】
【0009】
以下、本発明の実施形態における電池モジュールについて具体的に説明する。なお、本発明は以下に説明する実施形態に限定されるものではない。
【0010】
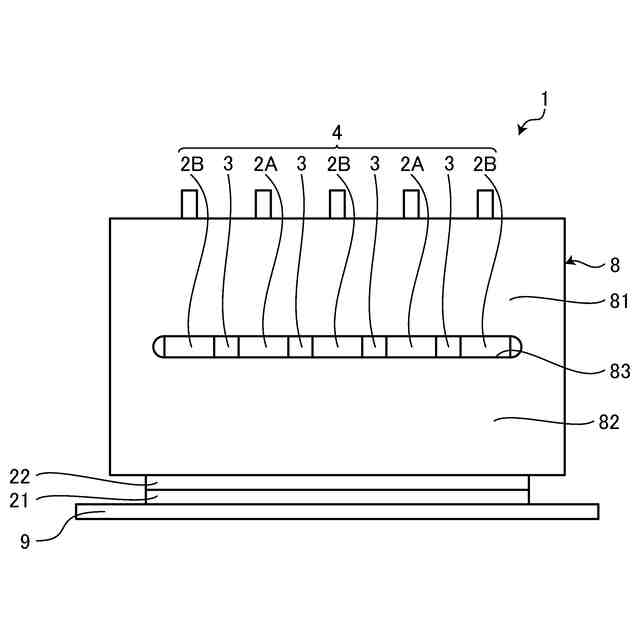
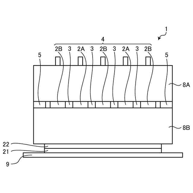
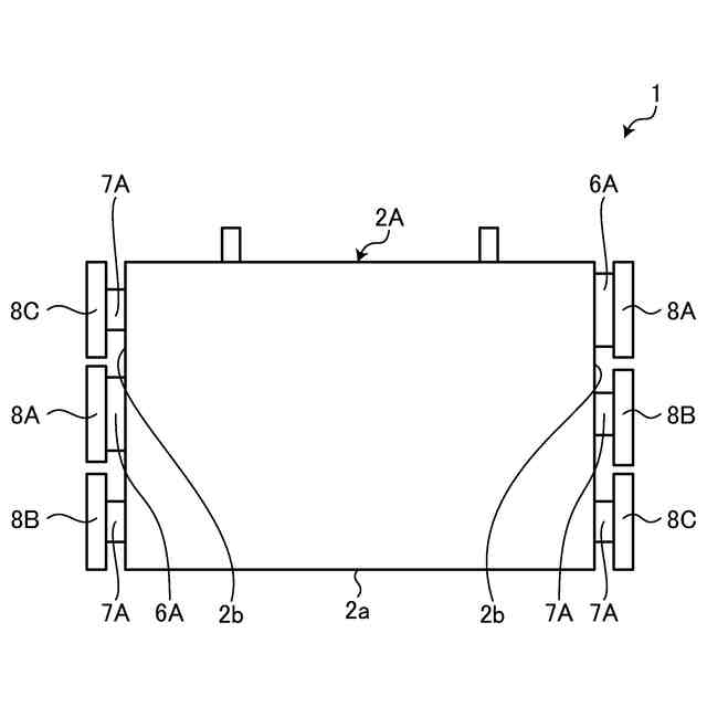
図1に示すように、電池モジュール1は、複数の電池セル2と複数の断熱材3とが交互に配置されて積層した積層体4と、積層体4を積層方向の両側から挟み込む一対のエンドプレート5と、絶縁性を有する熱伝導材6と、断熱性を有する絶縁材7と、を備える。図2に示すように、電池モジュール1は、積層体4を拘束する拘束バンド8を備える。電池モジュール1では、冷却器21によって電池セル2の下面2a側から電池セル2が冷却される。冷却器21は熱伝導材22を介して電池セル2の下面2a側を冷却する。熱伝導材22は電池セル2の下面2aと冷却器21との間に介在する。電池モジュール1はロアケース9の内部に収容されている。電池モジュール1は電池パックのケース(パックケース)に収容されている。パックケースは、電池モジュール1を収容するロアケース9を含む。
(【0011】以降は省略されています)
この特許をJ-PlatPat(特許庁公式サイト)で参照する
関連特許
トヨタ自動車株式会社
車両
2日前
トヨタ自動車株式会社
車両
21日前
トヨタ自動車株式会社
車両
12日前
トヨタ自動車株式会社
車両
29日前
トヨタ自動車株式会社
車両
28日前
トヨタ自動車株式会社
車両
23日前
トヨタ自動車株式会社
装置
22日前
トヨタ自動車株式会社
装置
22日前
トヨタ自動車株式会社
車両
26日前
トヨタ自動車株式会社
電池
2日前
トヨタ自動車株式会社
電動車
12日前
トヨタ自動車株式会社
電動車
今日
トヨタ自動車株式会社
ロータ
今日
トヨタ自動車株式会社
回転子
13日前
トヨタ自動車株式会社
サーバ
6日前
トヨタ自動車株式会社
モータ
13日前
トヨタ自動車株式会社
液系電池
1か月前
トヨタ自動車株式会社
制御装置
2日前
トヨタ自動車株式会社
水系電池
20日前
トヨタ自動車株式会社
冷却構造
5日前
トヨタ自動車株式会社
制御装置
29日前
トヨタ自動車株式会社
駆動装置
20日前
トヨタ自動車株式会社
二次電池
2日前
トヨタ自動車株式会社
電動車両
21日前
トヨタ自動車株式会社
電動車両
21日前
トヨタ自動車株式会社
電源装置
29日前
トヨタ自動車株式会社
蓄電装置
2日前
トヨタ自動車株式会社
蓄電装置
29日前
トヨタ自動車株式会社
制御装置
2日前
トヨタ自動車株式会社
蓄電装置
29日前
トヨタ自動車株式会社
電動車両
21日前
トヨタ自動車株式会社
ステータ
1か月前
トヨタ自動車株式会社
制御装置
2日前
トヨタ自動車株式会社
蓄電装置
2日前
トヨタ自動車株式会社
蓄電装置
12日前
トヨタ自動車株式会社
蓄電装置
6日前
続きを見る
他の特許を見る