TOP
|
特許
|
意匠
|
商標
特許ウォッチ
Twitter
他の特許を見る
公開番号
2025139970
公報種別
公開特許公報(A)
公開日
2025-09-29
出願番号
2024039081
出願日
2024-03-13
発明の名称
蓄電装置
出願人
トヨタ自動車株式会社
,
トヨタバッテリー株式会社
代理人
弁理士法人深見特許事務所
主分類
H01M
50/211 20210101AFI20250919BHJP(基本的電気素子)
要約
【課題】蓄電装置の生産性を向上する。
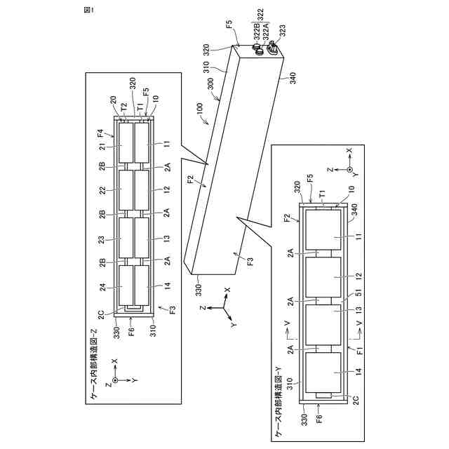
【解決手段】電池100は、複数のセル11~14および21~24と、隣接するセルを電気的に接続する接続部2A,2Bとを含むセル連結体10,20と、セル連結体10,20を収容するケース300とを備える。ケース300は、セル連結体10,20を挟み込んで保持するケース本体310を含む。ケース本体310の断面には、予め定められた方向(-Z方向)に開いた開口部分が設けられる。
【選択図】図1
特許請求の範囲
【請求項1】
複数のセルと、隣接する前記セルの間を電気的に接続する接続部とを含むセル連結体と、
前記セル連結体を収容するケースとを備え、
前記ケースは、前記セル連結体を挟み込んで保持する第1部材を含み、
前記第1部材の断面には、予め定められた方向に開いた開口部分が設けられる、蓄電装置。
続きを表示(約 500 文字)
【請求項2】
前記第1部材の断面には、互いに対向して配置される2つの壁面と、前記2つの壁面の一端を接続する接続部分と、前記開口部分とが設けられ、
前記2つの壁面の各々には、対向する壁面に向けて突出して形成され、底面が前記セル連結体に当接する凹部が設けられる、請求項1に記載の蓄電装置。
【請求項3】
前記ケースは、
前記第1部材の前記開口部分を塞いで筒体を構成する第2部材と、
前記筒体の一端を塞ぐように設けられる第3部材と、
前記筒体の他端を塞ぐように設けられる第4部材とを含む、請求項1に記載の蓄電装置。
【請求項4】
複数のセルと、隣接する前記セルの間を電気的に接続する接続部とを含むセル連結体と、
前記セル連結体を収容するケースとを備え、
前記ケースは、前記セル連結体の長手方向の面の周囲を囲う筒体を含み、
前記筒体は、前記セル連結体の前記長手方向の各面に対向する壁面が形成されるように板状部材が折り曲げられ、前記板状部材の一端が、前記板状部材の他端側の部材に接合されて構成される、蓄電装置。
発明の詳細な説明
【技術分野】
【0001】
本開示は、蓄電装置に関する。
続きを表示(約 1,000 文字)
【背景技術】
【0002】
特表2023-502457号公報(特許文献1)には、長さLが400mm~2500mmであり、かつ、幅Hに対する長さLの比率(L/H)が4~21である直方体状の電池(蓄電装置)が開示されている。
【先行技術文献】
【特許文献】
【0003】
特表2023-502457号公報
【発明の概要】
【発明が解決しようとする課題】
【0004】
上述のような蓄電装置においては、セルのケースへの組み付けやケースの接合などの生産性についてさらに向上させることが求められる。
【0005】
本開示は、上記課題を解決するためになされたものであって、その目的は、生産性を向上した蓄電装置を提供することである。
【課題を解決するための手段】
【0006】
本開示のある局面に係る蓄電装置は、複数のセルと、隣接するセルの間を電気的に接続する接続部とを含むセル連結体と、セル連結体を収容するケースとを備える。ケースは、セル連結体を挟み込んで保持する第1部材を含む。第1部材の断面には、予め定められた方向に開いた開口部分が設けられる。
【0007】
このようにすると、セル連結体をケースの第1部材の開口部分から組み付けることができる。そのため、セル連結体を筒体で形成されるケースの端部から挿入するように組み付ける場合と比較して、セル連結体を容易にケースに組み付けることができる。そのため、蓄電装置の生産性を向上させることができる。
【0008】
ある実施の形態においては、第1部材の断面には、互いに対向して配置される2つの壁面と、2つの壁面の一端を接続する接続部分と、開口部分とが設けられる。2つの壁面の各々には、対向する壁面に向けて突出して形成され、底面がセル連結体に当接する凹部が設けられる。
【0009】
このようにすると、セル連結体を第1部材に組み付けることにより対向する2つの壁面に設けられる凹部の底面によってセルが挟み込まれるため、第1部材がセル連結体を保持することができる。
【0010】
さらにある実施の形態においては、ケースは、第1部材の開口部分を塞いで筒体を構成する第2部材と、筒体の一端を塞ぐように設けられる第3部材と、筒体の他端を塞ぐように設けられる第4部材とを含む。
(【0011】以降は省略されています)
この特許をJ-PlatPat(特許庁公式サイト)で参照する
関連特許
トヨタ自動車株式会社
車両
6日前
トヨタ自動車株式会社
電池
7日前
トヨタ自動車株式会社
椅子
1日前
トヨタ自動車株式会社
電池
8日前
トヨタ自動車株式会社
方法
1日前
トヨタ自動車株式会社
方法
1日前
トヨタ自動車株式会社
車両
今日
トヨタ自動車株式会社
車両
5日前
トヨタ自動車株式会社
固定子
6日前
トヨタ自動車株式会社
電磁弁
1日前
トヨタ自動車株式会社
加熱器
5日前
トヨタ自動車株式会社
ケース
7日前
トヨタ自動車株式会社
電動車
1日前
トヨタ自動車株式会社
通話装置
5日前
トヨタ自動車株式会社
製造装置
6日前
トヨタ自動車株式会社
監視装置
6日前
トヨタ自動車株式会社
ロボット
8日前
トヨタ自動車株式会社
二次電池
6日前
トヨタ自動車株式会社
判定装置
1日前
トヨタ自動車株式会社
塗工装置
6日前
トヨタ自動車株式会社
蓄電装置
7日前
トヨタ自動車株式会社
車両構造
5日前
トヨタ自動車株式会社
制御装置
5日前
トヨタ自動車株式会社
路側装置
7日前
トヨタ自動車株式会社
制御装置
7日前
トヨタ自動車株式会社
蓄電装置
5日前
トヨタ自動車株式会社
バッテリ
6日前
トヨタ自動車株式会社
車載装置
5日前
トヨタ自動車株式会社
バッテリ
6日前
トヨタ自動車株式会社
ガスタンク
5日前
トヨタ自動車株式会社
三角表示板
5日前
トヨタ自動車株式会社
電池システム
5日前
トヨタ自動車株式会社
車両制御装置
1日前
トヨタ自動車株式会社
情報処理装置
6日前
トヨタ自動車株式会社
車両前部構造
1日前
トヨタ自動車株式会社
車両下部構造
1日前
続きを見る
他の特許を見る