TOP
|
特許
|
意匠
|
商標
特許ウォッチ
Twitter
他の特許を見る
10個以上の画像は省略されています。
公開番号
2025142585
公報種別
公開特許公報(A)
公開日
2025-10-01
出願番号
2024042033
出願日
2024-03-18
発明の名称
継手構造、及び床版連結方法
出願人
株式会社横河ブリッジ
代理人
弁理士法人 武政国際特許商標事務所
主分類
E01D
19/12 20060101AFI20250924BHJP(道路,鉄道または橋りょうの建設)
要約
【課題】本願発明の課題は、従来技術が抱える問題を解決することであり、すなわち、従来技術に比して目地幅を小さくすることができる継手構造と、床版連結方法を提供することにある。
【解決手段】本願発明の継手構造は、底鋼板と床版コンクリートからなるプレキャスト製の鋼コンクリート合成床版を、第1軸方向に連結する継手構造であって、複数の下連結材と上連結材を備えたものである。隣接する鋼コンクリート合成床版に係る端部連結板のスリットにそれぞれ下連結材と上連結材を挿通するとともに、目地部に隙間スペーサを配置したうえで、これら下連結材と上連結材を締め付けることによって、隣接する鋼コンクリート合成床版が連結される。
【選択図】図4
特許請求の範囲
【請求項1】
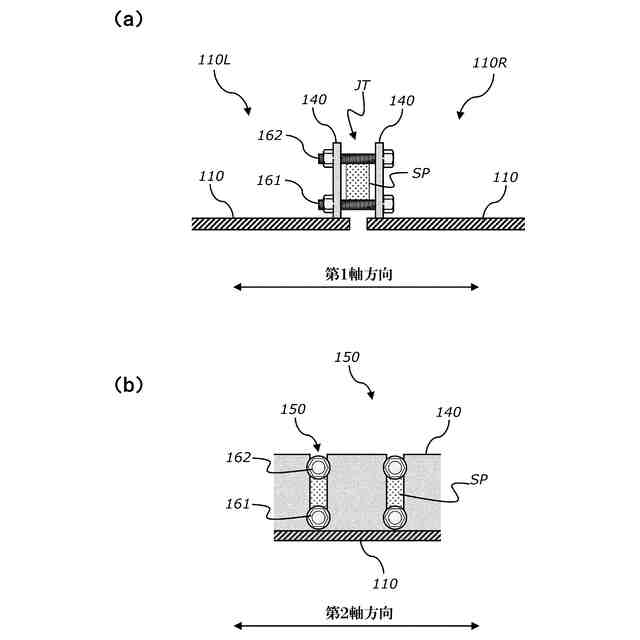
底鋼板と床版コンクリートからなるプレキャスト製の鋼コンクリート合成床版を、第1軸方向に連結する継手構造であって、
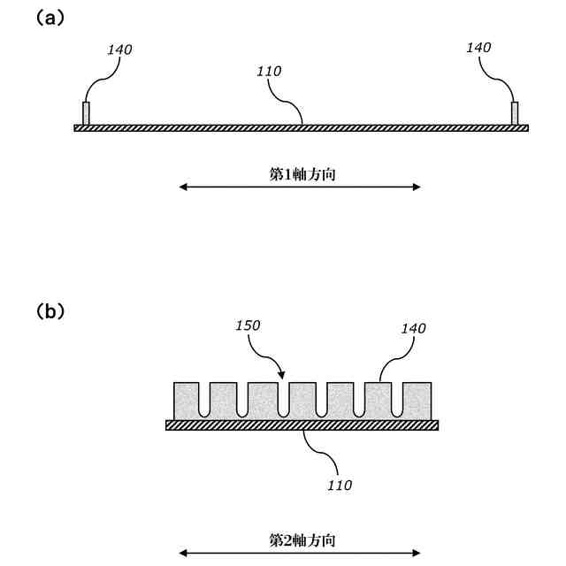
前記底鋼板のうち前記第1軸方向における端部には、該底鋼板に対して垂直又は略垂直であって前記第1軸方向に対して垂直又は斜方向となる第2軸方向に配置される端部連結板が固定され、
前記端部連結板には、前記第2軸方向に並ぶ複数のスリットが形成され、
前記スリットは、前記底鋼板を水平又は略水平に配置したとき、前記端部連結板の上部が開口した帯状孔であり、
前記スリットに挿通する複数の棒状の下連結材と、
前記下連結材より上方に配置され、前記スリットに挿通する複数の棒状の上連結材と、を備え、
隣接する前記鋼コンクリート合成床版に係る前記端部連結板の前記スリットにそれぞれ前記下連結材、及び前記上連結材を挿通したうえで、該下連結材、及び該上連結材を締め付けることによって、隣接する該鋼コンクリート合成床版が連結される、
ことを特徴とする継手構造。
続きを表示(約 2,400 文字)
【請求項2】
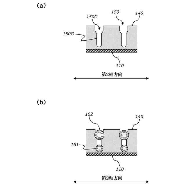
前記上連結材の断面径は、前記下連結材の断面径より大径であり、
前記スリットは、開口部に形成され前記上連結材を収容する上収容孔と、該上収容孔に連通する下収容溝と、を含み、
前記下収容溝は、前記上連結材の断面径より細幅であり、
前記スリットの上方から挿入された前記下連結材は、前記下収容溝の底部に載置され、
前記スリットの上方から挿入された前記上連結材は、前記上収容孔に載置される、
ことを特徴とする請求項1記載の継手構造。
【請求項3】
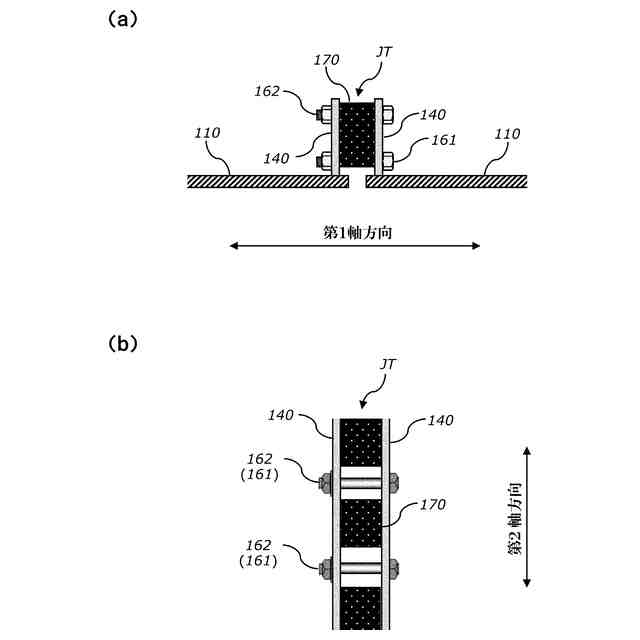
隣接する前記鋼コンクリート合成床版の前記端部連結板が対向して形成される目地部の幅と、同等の厚みを有する隙間スペーサを、さらに備え、
前記目地部に前記隙間スペーサを配置したうえで前記下連結材、及び前記上連結材を締め付けることによって、隣接する前記鋼コンクリート合成床版が連結される、
ことを特徴とする請求項1記載の継手構造。
【請求項4】
前記隙間スペーサは、前記下連結材の上方に配置される下隙間スペーサと、前記上連結材の上方に配置される上隙間スペーサと、を含み、
前記下隙間スペーサの下面には、前記下連結材の上部を収容する2以上の下切欠き部が形成され、
前記上隙間スペーサの下面には、前記上連結材の上部を収容する2以上の上切欠き部が形成され、
前記下隙間スペーサは、前記第2軸方向に並ぶ2以上の前記下連結材の上部を前記下切欠き部が収容するように配置され、
前記上隙間スペーサは、前記第2軸方向に並ぶ2以上の前記上連結材の上部を前記上切欠き部が収容するように配置される、
ことを特徴とする請求項3記載の継手構造。
【請求項5】
前記隙間スペーサは、下面に前記下連結材の上部を収容する1又は2以上の下切欠き部が形成されるとともに、上面に前記上連結材の下部を収容する1又は2以上の上切欠き部が形成され、
前記隙間スペーサは、前記下連結材の上部を前記下切欠き部が収容するとともに、前記上連結材の下部を前記上切欠き部が収容するように配置される、
ことを特徴とする請求項3記載の継手構造。
【請求項6】
前記隙間スペーサは、傾斜面を有するクサビ状であり、
前記隙間スペーサは、前記目地部に下段と上段で配置され、
下段の前記隙間スペーサは、前記傾斜面が上方に向かって先細りとなるように配置され、
上段の前記隙間スペーサは、前記傾斜面が下方に向かって先細りとなるように、かつ下段の該傾斜面と上段の該傾斜面が当接するように配置される、
ことを特徴とする請求項3記載の継手構造。
【請求項7】
前記端部連結板に、前記第2軸方向に並ぶ複数の鉄筋収容孔が形成され、
前記鉄筋収容孔は、前記底鋼板を水平又は略水平に配置したとき、前記端部連結板の上部が開口するように形成され、
前記床版コンクリートのうち前記第1軸方向に配置された第1軸鉄筋は、前記端部連結板より該第1軸方向に突出するとともに、一部が前記鉄筋収容孔に載置され、
前記端部連結板より突出した前記第1軸鉄筋に設けられたネジ部を利用して、該第1軸鉄筋が締め付けられた、
ことを特徴とする請求項1記載の継手構造。
【請求項8】
底鋼板と床版コンクリートからなるプレキャスト製の鋼コンクリート合成床版を、第1軸方向に連結する方法であって、
前記底鋼板のうち前記第1軸方向における端部には、該底鋼板に対して垂直又は略垂直であって前記第1軸方向に対して垂直又は斜方向となる第2軸方向に配置される端部連結板が固定され、
前記端部連結板には、前記第2軸方向に並ぶ複数のスリットが形成され、
前記スリットは、前記底鋼板を水平又は略水平に配置したとき、前記端部連結板の上部が開口した帯状孔であり、
一方の前記鋼コンクリート合成床版に隣接するように、他方の前記鋼コンクリート合成床版を設置する鋼コンクリート合成床版設置工程と、
一方の前記鋼コンクリート合成床版の前記端部連結板に係る前記スリットに棒状の下連結材を挿通しつつ、他方の前記鋼コンクリート合成床版の前記端部連結板に係る前記スリットに該下連結材を挿通する下連結材設置工程と、
一方の前記鋼コンクリート合成床版の前記端部連結板に係る前記スリットに棒状の上連結材を挿通しつつ、他方の前記鋼コンクリート合成床版の前記端部連結板に係る前記スリットに該上連結材を挿通する上連結材設置工程と、
前記スリットに挿通した前記下連結材を締め付けるととともに、前記スリットに挿通した前記上連結材を締め付ける連結材締付工程と、を備えた、
ことを特徴とする床版連結方法。
【請求項9】
隣接する前記鋼コンクリート合成床版の前記端部連結板が対向して形成される目地部の幅と同等の厚みを有する隙間スペーサを、該目地部に配置する隙間スペーサ配置工程を、さらに備え、
前記連結材締付工程では、前記目地部に前記隙間スペーサを配置したうえで、前記スリットに挿通した前記下連結材を締め付けるととともに、前記スリットに挿通した前記上連結材を締め付ける、
ことを特徴とする請求項8記載の床版連結方法。
【請求項10】
隣接する前記鋼コンクリート合成床版の前記端部連結板が対向して形成される目地部に、モルタル又はコンクリートを打ち込む目地部間詰工程を、さらに備え、
前記目地部間詰工程は、前記連結材締付工程の後に行われる、
ことを特徴とする請求項8記載の床版連結方法。
(【請求項11】以降は省略されています)
発明の詳細な説明
【技術分野】
【0001】
本願発明は、底鋼板と床版コンクリートからなるプレキャスト製の鋼コンクリート合成床版に関する技術であり、より具体的には、対向する板材のスリットに設置されたボルト等で連結された継手構造と、この継手構造で鋼コンクリート合成床版を連結する方法に関するものである。
続きを表示(約 1,900 文字)
【背景技術】
【0002】
高度経済成長期に集中的に整備されてきた建設インフラストラクチャー(以下、「建設インフラ」という。)は、既に相当な老朽化が進んでいることが指摘されている。平成26年には「道路の老朽化対策の本格実施に関する提言(社会資本整備審議会)」がとりまとめられ、平成24年の笹子トンネル天井板崩落事故の例を挙げて「近い将来、橋梁の崩落など人命や社会装置に関わる致命的な事態を招くであろう」と警鐘を鳴らし、建設インフラの維持管理の重要性を強く唱えている。
【0003】
このような背景のもと、国は道路法施行規則の一部を改正する省令を公布し、具体的な建設インフラの点検方法、主な変状の着目箇所、判定事例写真などを示した定期点検要領を策定している。この定期点検要領では、約70万橋に上るといわれる橋長2.0m以上の橋を対象としており、供用開始後2年以内に初回点検、以降5年に1回の頻度で定期点検を行うこととしている。
【0004】
一方、道路橋を設計する際の基準である「道路橋示方書」は、昭和14年に鋼道路橋設計示方書案が発行されて以来随時見直されてきており、特に兵庫県南部地震の後には大幅な改定が行われている。この結果、従前では十分に耐力のあった橋梁であっても、現在の設計基準に照らせばその耐力が不足している場合も少なくない。
【0005】
上記した老朽化と強度不足という2つの理由から、現在では橋梁の補強や改築がしばしば行われている。また、桁部材が健全であっても車両荷重を支持する床版が劣化すると、その床版の補修を行ったり、劣化した床版に代えて新たな床版を更新する床版更新工事を行ったりしている。
【0006】
ところが現在の道路橋は、大量の交通を確保しており、つまり人の移動や流通産業を支えているのが現状であり、安易にその供用を止めることはできない。特に、高速道路など自動車専用道路の高架橋は、一日に数万台の車を通行させており、仮に通行させないとすればその経済的損失額は計り知れないものとなるし、救急の患者を搬送できないとすれば社会的な問題にもなりかねない。そのため供用中の道路橋に対して工事を行う場合、常に早期の交通開放が求められ、施工者は早期開放を実現すべく工期短縮に努めているところである。
【0007】
従来、コンクリート製の床版を構築するにあたっては、場所打ちコンクリート工法が採用されることが多かった。この場所打ちコンクリート工法は、現地で型枠を組み立てたうえでフレッシュコンクリートを打ち込み、その後所定期間だけ養生するといった工程が必要である。そのため、現地を長い期間占有することとなり、供用中の道路橋の床版を取り替える工事では通行を規制する期間もそれだけ長期にわたっていた。
【0008】
そこで、近年では場所打ちコンクリート工法に代えてプレキャスト製のコンクリート床版(以下、単に「プレキャスト製床版」という。)を利用する機会も増えてきた。このプレキャスト製床版は工場で製造されるため、品質の管理も容易であり、しかも現地では主に設置する工程で足り、故に現場を占有する期間を短縮することができるわけである。
【0009】
プレキャスト製床版としては、鋼コンクリート合成床版やPC(Prestressed Concrete)床版、RC(Reinforced Concrete)床版などが知られている。このうち鋼コンクリート合成床版は、主に底鋼板と床版コンクリートからなる合成構造であって、その底鋼板が断面力を負担する構造部材として機能するものである。すなわち、引張力を負担する鋼部材と圧縮力を負担するコンクリートを有効に組み合わせた構造であることから、床版としての剛性が高く、故に長い床版支間にも対応できる。また鋼コンクリート合成床版の底鋼板は、コンクリートが硬化するまでは型枠として機能し、さらに縦リブで補強された鋼版は支保工として自立するため、型枠の手間を一部省くことができるなど施工(製造)の面においても優れた構造といえる。
【0010】
このように多くの特長をもつ鋼コンクリート合成床版に関しては、これまでにも改良技術が提案されてきた。特に本願の出願人は、例えば特許文献1に示すように鋼コンクリート合成床版に関する種々の技術を提案している。
【先行技術文献】
【特許文献】
(【0011】以降は省略されています)
この特許をJ-PlatPat(特許庁公式サイト)で参照する
関連特許
株式会社横河ブリッジ
継手構造、及び床版連結方法
5日前
株式会社横河ブリッジ
継手構造、及び床版連結方法
5日前
鹿島建設株式会社
運搬台車および運搬方法
7日前
国立大学法人神戸大学
塩分除去工法及び塗装塗替え工法
3日前
個人
折り畳み式標識具
4日前
GX株式会社
仮設防護体
26日前
日本精機株式会社
路面投影装置
1か月前
株式会社熊谷組
床版接合構造
7日前
範多機械株式会社
路面切削機
1か月前
北越消雪機械工業株式会社
消雪装置
4日前
GX株式会社
昇降式仮設防護体
17日前
GX株式会社
仮設防護体連結構造
1か月前
前田工繊株式会社
防護柵
19日前
株式会社熊谷組
床版継手装置、及び、床版
7日前
浅香工業株式会社
レーキ
14日前
中井商工株式会社
橋梁の桁端止水工法
7日前
株式会社トップ
立て看板用スロープおよび立て看板
1か月前
株式会社幸和道路
自走式道路路面標示文字描画車両
25日前
株式会社三共
足場用移動屋根装置及び橋梁用足場
27日前
株式会社NIPPO
法面機械
17日前
十武建設株式会社
舗装材吹付け装置、および吹付け施工方法
25日前
株式会社NIPPO
コンクリートスタッカ
3日前
株式会社栗本鐵工所
検査路及びステップ
1か月前
酒井重工業株式会社
振動ローラ
1か月前
東日本旅客鉄道株式会社
横取り方法
3日前
共和ゴム株式会社
床版敷設シール材
1か月前
株式会社NIPPO
法面作業装置
17日前
株式会社NIPPO
路面切削装置及び路面切削方法
1か月前
株式会社NIPPO
法面作業装置
17日前
株式会社NIPPO
コンクリート舗装の施工方法
7日前
五洋建設株式会社
床版部材設置装置及び床版部材の設置方法
25日前
大成建設株式会社
床版接合部の設計方法
7日前
株式会社NIPPO
半たわみ性舗装及びその施工方法
1か月前
株式会社NIPPO
再生アスファルト混合物の製造方法
1か月前
オリエンタル白石株式会社
床版設置高さ調整機構及び床版取替工法
1か月前
株式会社奥村組
鉄筋コンクリート柱の補強工法
1か月前
続きを見る
他の特許を見る