TOP
|
特許
|
意匠
|
商標
特許ウォッチ
Twitter
他の特許を見る
公開番号
2025142591
公報種別
公開特許公報(A)
公開日
2025-10-01
出願番号
2024042039
出願日
2024-03-18
発明の名称
蓄電セル及びその製造方法
出願人
トヨタ自動車株式会社
,
トヨタバッテリー株式会社
代理人
弁理士法人深見特許事務所
主分類
H01M
50/242 20210101AFI20250924BHJP(基本的電気素子)
要約
【課題】セルケースに対するセルモジュールの相対変位を抑制することが可能な蓄電セルを提供すること提供すること。
【解決手段】蓄電セルは、複数のセルユニット100を含むセルモジュールと、セルモジュールを収容するセルケース300と、セルケース内に設けられた接着部材と、を備える。セルケースは、直方体形に形成されている。セルモジュールは、セルケースの隅角部302と対向する対向角部12を有する。接着部材は、セルケースの隅角部302と対向角部12とを接着する角部接着部510を含む。
【選択図】図4
特許請求の範囲
【請求項1】
複数のセルユニットを含むセルモジュールと、
前記セルモジュールを収容するセルケースと、
前記セルケース内に設けられた接着部材と、を備え、
前記セルケースは、直方体形に形成されており、
前記セルモジュールは、前記セルケースの隅角部と対向する対向角部を有し、
前記接着部材は、前記セルケースの前記隅角部と前記対向角部とを接着する角部接着部を含む、蓄電セル。
続きを表示(約 1,300 文字)
【請求項2】
前記セルモジュールは、前記複数のセルユニットをまとめて被覆する被覆シートをさらに含み、
前記複数のセルユニットの各々は、
電極体と、
前記電極体の積層方向と上下方向との双方と直交する直交方向に前記電極体から突出する集電端子と、を含み、
前記対向角部は、前記直交方向における前記被覆シートの縁部を含む、請求項1に記載の蓄電セル。
【請求項3】
前記複数のセルユニットは、直交方向における端部に配置された最端セルユニットを含み、
前記最端セルユニットは、前記セルケースの前記隅角部と対向する角部を有し、
前記対向角部は、前記最端セルユニットの前記角部をさらに含み、
前記角部接着部は、前記セルケースの前記隅角部と、前記被覆シートの前記縁部及び前記最端セルユニットの前記角部と、を接着している、請求項2に記載の蓄電セル。
【請求項4】
前記複数のセルユニットは、前記積層方向に互いに隣接する一対の隣接セルユニットを含み、
前記被覆シートは、前記一対の隣接セルユニットの上端部を被覆する上部被覆部を含み、
前記接着部材は、前記セルケースと前記上部被覆部とを接着する上部接着部を含む、請求項2に記載の蓄電セル。
【請求項5】
前記上部被覆部には貫通孔が設けられており、
前記上部接着部は、前記セルケースと、前記上部被覆部及び前記一対の隣接セルユニットの各前記上端部と、を接着している、請求項4に記載の蓄電セル。
【請求項6】
前記複数のセルユニットは、前記積層方向に互いに隣接する一対の隣接セルユニットを含み、
前記被覆シートは、前記一対の隣接セルユニットの下端部を被覆する下部被覆部を含み、
前記接着部材は、前記セルケースと前記下部被覆部とを接着する下部接着部を含む、請求項2に記載の蓄電セル。
【請求項7】
前記下部被覆部には貫通孔が設けられており、
前記下部接着部は、前記セルケースと、前記下部被覆部及び前記一対の隣接セルユニットの各前記下端部と、を接着している、請求項6に記載の蓄電セル。
【請求項8】
前記複数のセルユニットは、前記直交方向に互いに接続された一対の接続セルユニットを含み、
前記一対の接続セルユニットの一方の接続セルユニットにおける前記集電端子は、前記一対の接続セルユニットの他方の接続セルユニットにおける前記集電端子と接続されており、
前記被覆シートは、前記一対の接続セルユニットにおける各前記集電端子を包囲する包囲部を含み、
前記接着部材は、前記セルケースと前記包囲部とを接着する中間接着部を含む、請求項2に記載の蓄電セル。
【請求項9】
前記包囲部には貫通孔が設けられており、
前記中間接着部は、前記セルケースと、前記包囲部及び前記一対の接続セルユニットにおける各前記集電端子と、を接着している、請求項8に記載の蓄電セル。
【請求項10】
前記接着部材は、熱伝導性接着剤からなる、請求項1から9のいずれかに記載の蓄電セル。
(【請求項11】以降は省略されています)
発明の詳細な説明
【技術分野】
【0001】
本開示は、蓄電セル及びその製造方法に関する。
続きを表示(約 1,300 文字)
【背景技術】
【0002】
例えば、特表2023-509216号公報には、複数の電極体セットと、複数の電極体セットを収容するケースと、を備える電池が開示されている。複数の電極体セットは、第1の接続部材によって互いに直列接続されている。
【先行技術文献】
【特許文献】
【0003】
特表2023-509216号公報
【発明の概要】
【発明が解決しようとする課題】
【0004】
特表2023-509216号公報に記載される電池では、振動等に起因してケースに対して電極体セットが相対変位する場合がある。
【0005】
本開示の目的は、セルケースに対するセルモジュールの相対変位を抑制することが可能な蓄電セル及びその製造方法を提供することである。
【課題を解決するための手段】
【0006】
本開示の一局面に従った蓄電セルは、複数のセルユニットを含むセルモジュールと、前記セルモジュールを収容するセルケースと、前記セルケース内に設けられた接着部材と、を備え、前記セルケースは、直方体形に形成されており、前記セルモジュールは、前記セルケースの隅角部と対向する対向角部を有し、前記接着部材は、前記セルケースの前記隅角部と前記対向角部とを接着する角部接着部を含む。
【0007】
本開示の一局面に従った蓄電セルの製造方法は、上記蓄電セルの製造方法であって、前記セルケース内に前記セルモジュールを挿入する挿入工程と、前記セルケース内に前記接着部材を形成する接着材料を供給する供給工程と、を備え、前記供給工程では、前記接着材料を収容可能な収容部と、前記収容部に接続されており前記接着材料を吐出する吐出部と、を有する供給具が用いられ、前記吐出部を前記セルケースの角部と前記セルモジュールとの間に挿入することによって前記セルケースの前記隅角部に前記接着材料が供給される。
【発明の効果】
【0008】
本開示によれば、セルケースに対するセルモジュールの相対変位を抑制することが可能な蓄電セル及びその製造方法を提供することができる。
【図面の簡単な説明】
【0009】
本開示の一実施形態における蓄電セルを概略的に示す斜視図である。
図1に示される蓄電セルの分解斜視図である。
蓄電セルの平面図である。
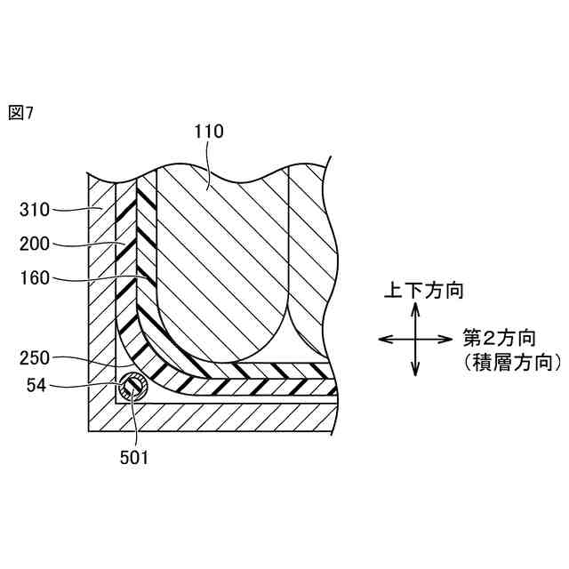
図3におけるIV-IV線での断面図である。
図3におけるV-V線での断面図である。
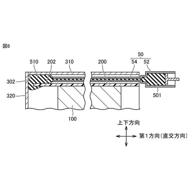
セルケース内への接着部材の供給工程を概略的に示す断面図である。
セルケース内への接着部材の供給工程を概略的に示す断面図である。
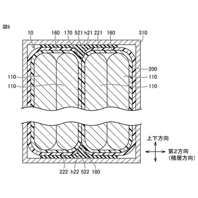
角部接着部及び中間接着部の変形例を概略的に示す断面図である。
上部接着部及び下部接着部の変形例を概略的に示す断面図である。
【発明を実施するための形態】
【0010】
本開示の実施形態について、図面を参照して説明する。なお、以下で参照する図面では、同一又はそれに相当する部材には、同じ番号が付されている。
(【0011】以降は省略されています)
この特許をJ-PlatPat(特許庁公式サイト)で参照する
関連特許
トヨタ自動車株式会社
車両
6日前
トヨタ自動車株式会社
電池
1日前
トヨタ自動車株式会社
車両
今日
トヨタ自動車株式会社
車両
6日前
トヨタ自動車株式会社
電池
10日前
トヨタ自動車株式会社
電池
2日前
トヨタ自動車株式会社
車両
10日前
トヨタ自動車株式会社
電動車
6日前
トヨタ自動車株式会社
電動車
6日前
トヨタ自動車株式会社
電解液
6日前
トヨタ自動車株式会社
電動車
6日前
トヨタ自動車株式会社
電動車
2日前
トヨタ自動車株式会社
回転子
6日前
トヨタ自動車株式会社
ケース
1日前
トヨタ自動車株式会社
電動車
8日前
トヨタ自動車株式会社
ロータ
8日前
トヨタ自動車株式会社
固定子
今日
トヨタ自動車株式会社
制御装置
10日前
トヨタ自動車株式会社
ロボット
2日前
トヨタ自動車株式会社
蓄電装置
1日前
トヨタ自動車株式会社
蓄電装置
10日前
トヨタ自動車株式会社
制御装置
1日前
トヨタ自動車株式会社
路側装置
1日前
トヨタ自動車株式会社
蓄電セル
6日前
トヨタ自動車株式会社
電源装置
6日前
トヨタ自動車株式会社
切断装置
6日前
トヨタ自動車株式会社
検査装置
10日前
トヨタ自動車株式会社
バッテリ
今日
トヨタ自動車株式会社
蓄電装置
6日前
トヨタ自動車株式会社
蓄電装置
10日前
トヨタ自動車株式会社
駆動装置
6日前
トヨタ自動車株式会社
制御装置
10日前
トヨタ自動車株式会社
制御装置
6日前
トヨタ自動車株式会社
電動車両
6日前
トヨタ自動車株式会社
蓄電装置
7日前
トヨタ自動車株式会社
蓄電装置
7日前
続きを見る
他の特許を見る