TOP
|
特許
|
意匠
|
商標
特許ウォッチ
Twitter
他の特許を見る
公開番号
2025142592
公報種別
公開特許公報(A)
公開日
2025-10-01
出願番号
2024042040
出願日
2024-03-18
発明の名称
蓄電セル
出願人
トヨタ自動車株式会社
,
トヨタバッテリー株式会社
代理人
弁理士法人深見特許事務所
主分類
H01M
50/50 20210101AFI20250924BHJP(基本的電気素子)
要約
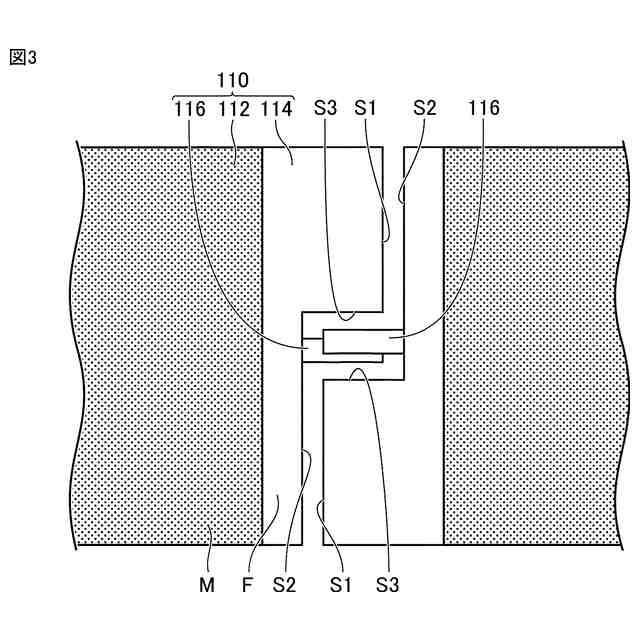
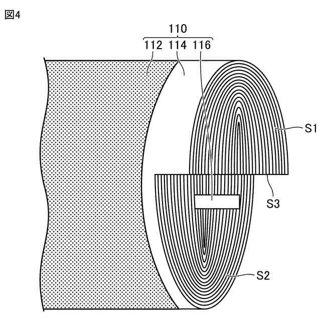
【課題】エネルギー密度の向上が可能な蓄電セルを提供すること。
【解決手段】蓄電セル1は、それぞれが巻回体で構成された一対の電極体110を備える。各電極体110は、塗工部112と、未塗工部114と、未塗工部から突出する集電タブ116と、を含む。未塗工部114は、外側端面S1と、内側端面S2と、連結面S3と、を有する。集電タブ116は、内側端面S2及び連結面S3の少なくとも一方から突出している。一方の電極体110における外側端面S1は、他方の電極体110における内側端面S2と対向している。一方の電極体における内側端面S2は、他方の電極体における外側端面S1と対向している。一方の電極体における連結面S3は、軸方向と交差する方向に他方の電極体における連結面S3と対向している。一方の電極体における集電タブ116は、他方の電極体における集電タブ116と接続されている。
【選択図】図3
特許請求の範囲
【請求項1】
それぞれが巻回体で構成された一対の電極体を備え、
各前記電極体は、
集電箔と前記集電箔に設けられた活物質層とを含む塗工部と、
前記塗工部の軸方向に前記塗工部から突出しており、前記集電箔のみで構成された未塗工部と、
前記未塗工部から突出する集電タブと、を含み、
前記未塗工部は、
前記軸方向における外側に形成された外側端面と、
前記軸方向における前記外側端面の内側に形成された内側端面と、
前記外側端面と前記内側端面とを連結する連結面と、を有し、
前記集電タブは、前記内側端面及び前記連結面の少なくとも一方から突出しており、
前記一対の電極体のうちの一方の前記電極体における前記外側端面は、他方の前記電極体における前記内側端面と対向しており、
前記一対の電極体のうちの一方の前記電極体における前記内側端面は、他方の前記電極体における前記外側端面と対向しており、
前記一対の電極体のうちの一方の前記電極体における前記連結面は、前記軸方向と交差する方向に他方の前記電極体における前記連結面と対向しており、
一方の前記電極体における前記集電タブは、他方の前記電極体における前記集電タブと接続されている、蓄電セル。
続きを表示(約 140 文字)
【請求項2】
各前記電極体を収容するラミネート外装体をさらに備え、
前記ラミネート外装体は、
前記外側端面と対向する外側被覆部と、
前記内側端面と対向する内側被覆部と、
前記連結面と対向する連結被覆部と、を有する、請求項1に記載の蓄電セル。
発明の詳細な説明
【技術分野】
【0001】
本開示は、蓄電セルに関する。
続きを表示(約 1,300 文字)
【背景技術】
【0002】
例えば、特開2016-207516号公報には、捲回電極体と、捲回電極体を収容する電池ケースと、捲回電極体の集電タブに接続された電極端子と、を備える電池が開示されている。集電タブは、発電領域から上方に突出している。
【先行技術文献】
【特許文献】
【0003】
特開2016-207516号公報
【発明の概要】
【発明が解決しようとする課題】
【0004】
特開2016-207516号公報に記載されるような蓄電セルでは、エネルギー密度が高いことが好ましい。
【0005】
本開示の目的は、エネルギー密度の向上が可能な蓄電セルを提供することである。
【課題を解決するための手段】
【0006】
本開示の一局面に従った蓄電セルは、それぞれが巻回体で構成された一対の電極体を備え、各前記電極体は、集電箔と前記集電箔に設けられた活物質層とを含む塗工部と、前記塗工部の軸方向に前記塗工部から突出しており、前記集電箔のみで構成された未塗工部と、前記未塗工部から突出する集電タブと、を含み、前記未塗工部は、前記軸方向における外側に形成された外側端面と、前記軸方向における前記外側端面の内側に形成された内側端面と、前記外側端面と前記内側端面とを連結する連結面と、を有し、前記集電タブは、前記内側端面及び前記連結面の少なくとも一方から突出しており、前記一対の電極体のうちの一方の前記電極体における前記外側端面は、他方の前記電極体における前記内側端面と対向しており、前記一対の電極体のうちの一方の前記電極体における前記内側端面は、他方の前記電極体における前記外側端面と対向しており、前記一対の電極体のうちの一方の前記電極体における前記連結面は、前記軸方向と交差する方向に他方の前記電極体における前記連結面と対向しており、一方の前記電極体における前記集電タブは、他方の前記電極体における前記集電タブと接続されている。
【発明の効果】
【0007】
本開示によれば、エネルギー密度の向上が可能な蓄電セルを提供することができる。
【図面の簡単な説明】
【0008】
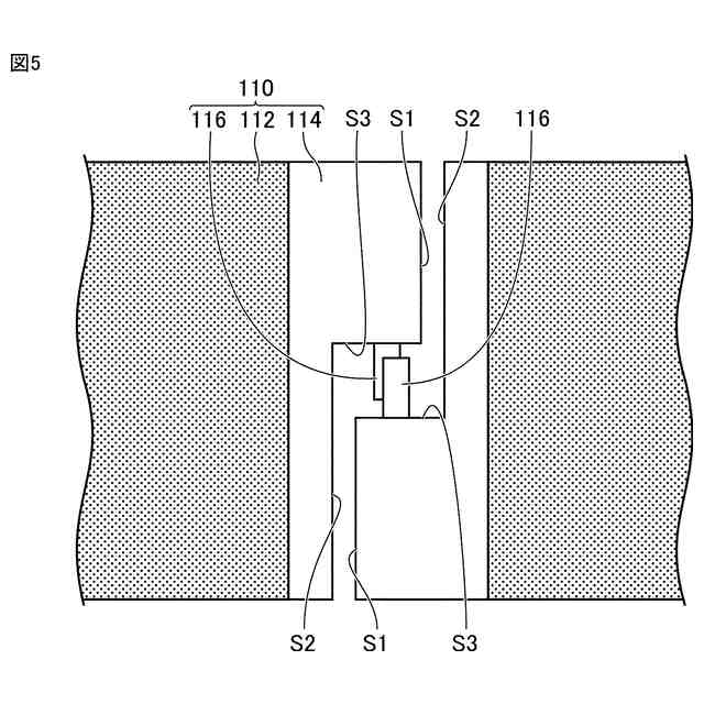
本開示の一実施形態における蓄電セルを概略的に示す斜視図である。
セルユニットの正面図である。
電極体の正面図である。
電極体の斜視図である。
電極体の変形例を示す斜視図である。
【発明を実施するための形態】
【0009】
本開示の実施形態について、図面を参照して説明する。なお、以下で参照する図面では、同一又はそれに相当する部材には、同じ番号が付されている。
【0010】
図1は、本開示の一実施形態における蓄電セルを概略的に示す斜視図である。図2は、セルユニットの正面図である。図3は、電極体の正面図である。図4は、電極体の斜視図である。この蓄電セル1は、例えば、車両の底部に搭載される。
(【0011】以降は省略されています)
この特許をJ-PlatPat(特許庁公式サイト)で参照する
関連特許
トヨタ自動車株式会社
電池
今日
トヨタ自動車株式会社
車両
8日前
トヨタ自動車株式会社
車両
18日前
トヨタ自動車株式会社
車両
4日前
トヨタ自動車株式会社
電池
8日前
トヨタ自動車株式会社
車両
4日前
トヨタ自動車株式会社
電動車
4日前
トヨタ自動車株式会社
電動車
今日
トヨタ自動車株式会社
サーバ
12日前
トヨタ自動車株式会社
電動車
18日前
トヨタ自動車株式会社
回転子
4日前
トヨタ自動車株式会社
電解液
4日前
トヨタ自動車株式会社
電動車
4日前
トヨタ自動車株式会社
ロータ
6日前
トヨタ自動車株式会社
電動車
6日前
トヨタ自動車株式会社
電動車
4日前
トヨタ自動車株式会社
切断装置
4日前
トヨタ自動車株式会社
制御装置
8日前
トヨタ自動車株式会社
蓄電装置
4日前
トヨタ自動車株式会社
駆動装置
4日前
トヨタ自動車株式会社
蓄電装置
8日前
トヨタ自動車株式会社
制御装置
4日前
トヨタ自動車株式会社
電動車両
4日前
トヨタ自動車株式会社
電源装置
4日前
トヨタ自動車株式会社
蓄電装置
12日前
トヨタ自動車株式会社
検査装置
8日前
トヨタ自動車株式会社
電動車両
18日前
トヨタ自動車株式会社
制御装置
8日前
トヨタ自動車株式会社
蓄電装置
8日前
トヨタ自動車株式会社
蓄電セル
6日前
トヨタ自動車株式会社
蓄電セル
6日前
トヨタ自動車株式会社
蓄電装置
6日前
トヨタ自動車株式会社
塗布装置
6日前
トヨタ自動車株式会社
制御装置
18日前
トヨタ自動車株式会社
制御装置
18日前
トヨタ自動車株式会社
冷却構造
11日前
続きを見る
他の特許を見る