TOP
|
特許
|
意匠
|
商標
特許ウォッチ
Twitter
他の特許を見る
公開番号
2025142594
公報種別
公開特許公報(A)
公開日
2025-10-01
出願番号
2024042042
出願日
2024-03-18
発明の名称
蓄電セル
出願人
トヨタ自動車株式会社
,
トヨタバッテリー株式会社
代理人
弁理士法人深見特許事務所
主分類
H01M
50/211 20210101AFI20250924BHJP(基本的電気素子)
要約
【課題】各セルユニットの安定性を高めることが可能な蓄電セルを提供すること。
【解決手段】蓄電セルは、複数の第1セルユニット101を含む第1セルユニット群10と、複数の第2セルユニット102を含む第2セルユニット群20と、を備える。各セルユニット101,102は、電極体と、ラミネート外装体160と、正極集電端子141と、負極集電端子142と、を有する。一対の第1セルユニット101は、第1接続部を有し、一対の第2セルユニット102は、第2接続部143bを有する。第1セルユニット群10では、複数の第1接続部が第1方向に沿って上下交互に並んでいる。第2セルユニット群20では、複数の第2接続部143bが第1方向に沿って上下交互となり、かつ、各第1接続部と第2方向に重ならないように並んでいる。
【選択図】図2
特許請求の範囲
【請求項1】
第1方向に並ぶ複数の第1セルユニットを含む第1セルユニット群と、
前記第1方向に並ぶ複数の第2セルユニットを含み、かつ、前記第1方向及び上下方向との双方と直交する第2方向に前記第1セルユニット群に隣接するように配置された第2セルユニット群と、を備え、
前記複数の第1セルユニット及び前記複数の第2セルユニットの各々は、
電極体と、
前記電極体を収容するラミネート外装体と、
前記ラミネート外装体のうち前記第1方向における一方側でかつ上下方向における一方側の部位から突出する正極集電端子と、
前記ラミネート外装体のうち前記第1方向における他方側でかつ上下方向における他方側の部位から突出する負極集電端子と、を有し、
前記第1方向に互いに隣接する一対の前記第1セルユニットは、当該一対の前記第1セルユニットにおける一方の前記第1セルユニットの前記正極集電端子と他方の前記第1セルユニットの前記負極集電端子とが互いに接続された第1接続部を有し、
前記第1方向に互いに隣接する一対の前記第2セルユニットは、当該一対の前記第2セルユニットにおける一方の前記第2セルユニットの前記正極集電端子と他方の前記第2セルユニットの前記負極集電端子とが互いに接続された第2接続部を有し、
前記第1セルユニット群では、各前記第1接続部が前記第1方向に沿って上下交互に並んでおり、
前記第2セルユニット群では、各前記第2接続部が前記第1方向に沿って上下交互となり、かつ、各前記第1接続部と前記第2方向に重ならないように並んでいる、蓄電セル。
続きを表示(約 370 文字)
【請求項2】
前記第1方向に互いに隣接する一対の前記第1セルユニットが前記第2方向に互いに相対変位するの規制するように一対の前記第1セルユニット同士を接続するとともに、前記第1方向に互いに隣接する一対の前記第2セルユニットが前記第2方向に互いに相対変位するの規制するように一対の前記第2セルユニット同士を接続する接続部材をさらに備える、請求項1に記載の蓄電セル。
【請求項3】
絶縁材料からなり、各前記第1接続部と各前記第2接続部とを被覆する被覆部材をさらに備える、請求項2に記載の蓄電セル。
【請求項4】
前記第1セルユニット群及び前記第2セルユニット群を収容するセルケースをさらに備え、
前記被覆部材は、絶縁性を有する接着部材からなり、前記セルケースにつながっている、請求項3に記載の蓄電セル。
発明の詳細な説明
【技術分野】
【0001】
本開示は、蓄電セルに関する。
続きを表示(約 1,700 文字)
【背景技術】
【0002】
例えば、特表2023-509216号公報には、第1方向に沿って互いに直列接続された複数の電極体を含む第1の電極体セットと、第1方向に沿って互いに直列接続された複数の電極体を含む第2の電極体セットと、を備える電池が開示されている。第2の電極体セットは、第1方向及び上下方向の双方と直交する第2方向に第1の電極体セットに隣接している。
【0003】
第1の電極体セットにおいては、互いに隣接する一対の電極体の電極引き出し部材同士が第1の接続部材によって接続されている。第2の電極体セットにおいても、互いに隣接する一対の電極体の電極引き出し部材同士が第1の接続部材によって接続されている。第1の電極体セットでは、各第1の接続部材が各電極体の下部に設けられており、第2の電極体セットでは、各第1の接続部材が各電極体の上部に設けられている。
【先行技術文献】
【特許文献】
【0004】
特表2023-509216号公報
【発明の概要】
【発明が解決しようとする課題】
【0005】
特表2023-509216号公報に記載される電池では、各電極体セットの安定性が低い。例えば、第1の電極体セットにおける各電極体は、第1方向に沿って並ぶ複数の第1の接続部材を結ぶ軸を回転軸として当該電極体の上部が下部に対して回転しやすい。
【0006】
本開示の目的は、各セルユニットの安定性を高めることが可能な蓄電セルを提供することである。
【課題を解決するための手段】
【0007】
本開示の一局面に従った蓄電セルは、第1方向に並ぶ複数の第1セルユニットを含む第1セルユニット群と、前記第1方向に並ぶ複数の第2セルユニットを含み、かつ、前記第1方向及び上下方向との双方と直交する第2方向に前記第1セルユニット群に隣接するように配置された第2セルユニット群と、を備え、前記複数の第1セルユニット及び前記複数の第2セルユニットの各々は、電極体と、前記電極体を収容するラミネート外装体と、前記ラミネート外装体のうち前記第1方向における一方側でかつ上下方向における一方側の部位から突出する正極集電端子と、前記ラミネート外装体のうち前記第1方向における他方側でかつ上下方向における他方側の部位から突出する負極集電端子と、を有し、前記第1方向に互いに隣接する一対の前記第1セルユニットは、当該一対の前記第1セルユニットにおける一方の前記第1セルユニットの前記正極集電端子と他方の前記第1セルユニットの前記負極集電端子とが互いに接続された第1接続部を有し、前記第1方向に互いに隣接する一対の前記第2セルユニットは、当該一対の前記第2セルユニットにおける一方の前記第2セルユニットの前記正極集電端子と他方の前記第2セルユニットの前記負極集電端子とが互いに接続された第2接続部を有し、前記第1セルユニット群では、各前記第1接続部が前記第1方向に沿って上下交互に並んでおり、前記第2セルユニット群では、各前記第2接続部が前記第1方向に沿って上下交互となり、かつ、各前記第1接続部と前記第2方向に重ならないように並んでいる。
【発明の効果】
【0008】
本開示によれば、各セルユニットの安定性を高めることが可能な蓄電セルを提供することができる。
【図面の簡単な説明】
【0009】
本開示の一実施形態における蓄電セルを概略的に示す斜視図である。
第1セルユニット群及び第2セルユニット群の斜視図である。
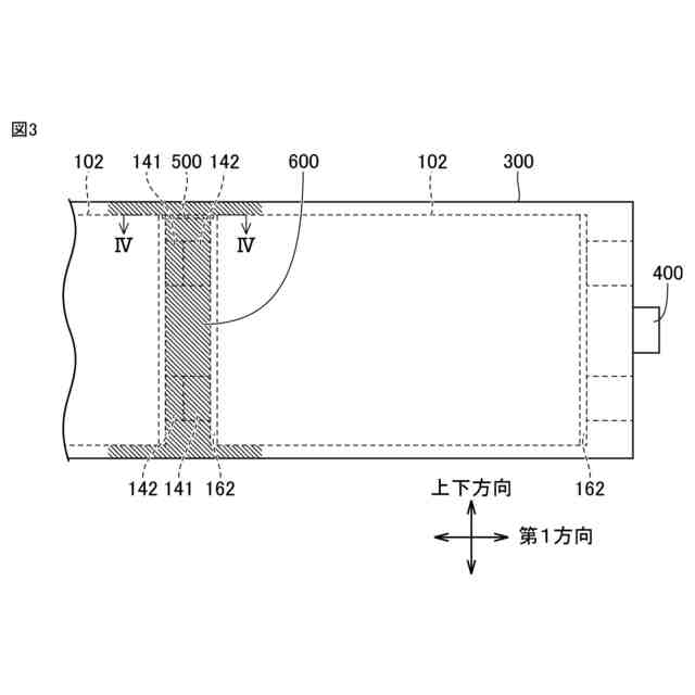
蓄電セルの一部を概略的に示す正面図である。
図3におけるIV-IV線での断面図である。
接続部材の変形例を概略的に示す図である。
【発明を実施するための形態】
【0010】
本開示の実施形態について、図面を参照して説明する。なお、以下で参照する図面では、同一又はそれに相当する部材には、同じ番号が付されている。
(【0011】以降は省略されています)
この特許をJ-PlatPat(特許庁公式サイト)で参照する
関連特許
個人
安全なNAS電池
28日前
東レ株式会社
多孔質炭素シート
23日前
日本発條株式会社
積層体
4日前
ローム株式会社
半導体装置
23日前
エイブリック株式会社
半導体装置
25日前
ローム株式会社
半導体装置
2日前
エイブリック株式会社
半導体装置
25日前
ローム株式会社
半導体装置
2日前
ローム株式会社
半導体装置
2日前
キヤノン株式会社
電子機器
23日前
個人
防雪防塵カバー
4日前
株式会社GSユアサ
蓄電装置
4日前
ニチコン株式会社
コンデンサ
16日前
ニチコン株式会社
コンデンサ
16日前
個人
半導体パッケージ用ガラス基板
3日前
東レ株式会社
ガス拡散層の製造方法
23日前
株式会社ティラド
面接触型熱交換器
15日前
ローム株式会社
電子装置
4日前
日本特殊陶業株式会社
保持装置
2日前
マクセル株式会社
配列用マスク
15日前
株式会社ヨコオ
コネクタ
25日前
トヨタ自動車株式会社
二次電池
4日前
日本特殊陶業株式会社
保持装置
4日前
住友電装株式会社
コネクタ
4日前
住友電装株式会社
コネクタ
4日前
住友電装株式会社
コネクタ
4日前
TDK株式会社
コイル部品
2日前
住友電装株式会社
コネクタ
4日前
ローム株式会社
半導体装置
4日前
株式会社デンソー
電子装置
4日前
株式会社カネカ
正極活物質
4日前
ローム株式会社
半導体装置
4日前
矢崎総業株式会社
コネクタ
7日前
ヒロセ電機株式会社
電気コネクタ
4日前
ローム株式会社
半導体装置
24日前
トヨタ自動車株式会社
電池パック
8日前
続きを見る
他の特許を見る