TOP
|
特許
|
意匠
|
商標
特許ウォッチ
Twitter
他の特許を見る
公開番号
2025142994
公報種別
公開特許公報(A)
公開日
2025-10-01
出願番号
2024042657
出願日
2024-03-18
発明の名称
ケーソンの施工方法および施工補助装置
出願人
清水建設株式会社
,
協立エンジ株式会社
代理人
弁理士法人酒井国際特許事務所
主分類
E02D
23/00 20060101AFI20250924BHJP(水工;基礎;土砂の移送)
要約
【課題】小平面のケーソンの施工作業性を向上することができるケーソンの施工方法および施工補助装置を提供する。
【解決手段】ケーソンの躯体を施工する方法であって、前記躯体のコンクリートの打設予定領域Aの厚さ方向の一方側に、埋設型枠12を壁状に設置するステップと、前記埋設型枠12の前記打設予定領域Aを向く側面20に設けられた係合部14に、張出部材16を装着するステップと、前記係合部14に装着した前記張出部材16に設けられた足場板18を足場にして、前記打設予定領域Aに鉄筋を配筋するステップと、前記鉄筋を配筋した後、前記打設予定領域Aにコンクリートを打設する前に、前記張出部材16を前記係合部14から取り外すステップとを有するようにする。
【選択図】図1
特許請求の範囲
【請求項1】
ケーソンの躯体を施工する方法であって、
前記躯体のコンクリートの打設予定領域の厚さ方向の一方側に、埋設型枠を壁状に設置するステップと、前記埋設型枠の前記打設予定領域を向く側面に設けられた係合部に、張出部材を装着するステップと、前記係合部に装着した前記張出部材に設けられた足場板を足場にして、前記打設予定領域に鉄筋を配筋するステップと、前記鉄筋を配筋した後、前記打設予定領域にコンクリートを打設する前に、前記張出部材を前記係合部から取り外すステップとを有することを特徴とするケーソンの施工方法。
続きを表示(約 350 文字)
【請求項2】
前記打設予定領域にコンクリートを打設する前に、前記係合部に型枠固定用のセパレータを装着するステップをさらに有することを特徴とする請求項1に記載のケーソンの施工方法。
【請求項3】
ケーソンの躯体の施工を補助する装置であって、
前記躯体のコンクリートの打設予定領域の厚さ方向の一方側に設けられる壁状の埋設型枠と、前記埋設型枠の前記打設予定領域を向く側面に設けられる係合部と、前記係合部に着脱自在に装着される張出部材と、前記張出部材に設けられる足場板とを備えることを特徴とするケーソンの施工補助装置。
【請求項4】
前記係合部に着脱自在に装着される型枠固定用のセパレータをさらに備えることを特徴とする請求項3に記載のケーソンの施工補助装置。
発明の詳細な説明
【技術分野】
【0001】
本発明は、例えば、橋りょう基礎や立坑等に用いられるケーソンの施工方法および施工補助装置に関するものである。
続きを表示(約 1,900 文字)
【背景技術】
【0002】
従来、橋りょう基礎や立坑の築造工法としてニューマチックケーソン工法が数多く採用されているが、狭隘地におけるケーソンの施工では、小さな平面積のケーソンを対象とした「スリムケーソン工法」が適用されている(例えば、特許文献1を参照)。図3に示すように、通常のニューマチックケーソン工法では、躯体1の内側に別々に設置されていたマテリアルロックLF1(排土バケットの昇降設備)・マンロックLF2(作業従事者の昇降設備)が、スリムケーソン工法では、スリムケーソン専用シャフトLF3(マテリアルロック・マンロックを1つとして特別製作した設備)を用いることにより、直径7.0m以下の小平面・円形ケーソンの施工を実現することができる。
【先行技術文献】
【特許文献】
【0003】
特開2000-154517号公報
【発明の概要】
【発明が解決しようとする課題】
【0004】
しかし、上記の従来のスリムケーソンは、橋りょう基礎や立坑等、構造物としての高い要求性能を小断面で確保しなければならないという特性があることから、図4の例に示すように、設計上、躯体1の単位体積当たりの鉄筋量(外側主筋2、内側主筋3、配力筋4、せん断補強筋5)が非常に多くなる傾向がある。
【0005】
また、このような特性があるスリムケーソンの構築には、以下の(1)~(3)のような施工上の問題がある。
(1)鉄筋組立足場の作業性
図4の例のような高密度配筋を組み立てる際は、図5に示すように、躯体1の内部において1周閉合した架台構造の鉄筋組立足場6を仮設して行う必要があるが、作業床7の幅Wを最大240mm程度しか確保できず、かつ内部が狭隘となるため、作業性および作業安全性が低くなるおそれがある。
【0006】
(2)ケーソン仮設備との干渉による施工ロス
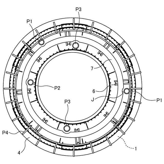
図6に示すように、躯体1の内部には、地上から躯体下方の作業室内に圧縮空気を送り込む送気管P1(外径200mm程度)、躯体下方のブロー回収装置から回収されるエアブローを地上へ排出するためのブローパイプP2(外径200mm程度)、ケーソン打設完了後に躯体下方の作業室内に中埋めコンクリートを打設するための配管P3(外径250mm程度)、ケーソン外周に滑材を注入するための滑材注入管P4(外径40mm程度)等、ケーソン工法特有の仮設備が鉄筋組立足場6や構造鉄筋2~5を避けて上下方向に設置される。しかし、躯体1の内部は非常に狭隘なため、構造鉄筋2~5との干渉を避けられず、鉄筋組立足場6の作業床7の干渉部分Jをやむなく切断しなければならないという施工ロスが発生してしまう。
【0007】
(3)内型枠組立の施工性
図7に示すように、スリムケーソン専用シャフトLF3は、元より別々であった設備を1つとしたことから設備の外径が一般的なマテリアルロックLF1・マンロックLF2(図3を参照)より大きくなるため、シャフトLF3の外周に、躯体1の内型枠8を組み立てるためのブラケット足場9を構築した場合、躯体1の側壁との離隔Dが500mm程度以下の狭隘なブラケット足場9しか設置できず、内型枠8の組立の作業性が著しく低下する。
【0008】
本発明は、上記に鑑みてなされたものであって、小平面のケーソンの施工作業性を向上することができるケーソンの施工方法および施工補助装置を提供することを目的とする。
【課題を解決するための手段】
【0009】
上記した課題を解決し、目的を達成するために、本発明に係るケーソンの施工方法は、ケーソンの躯体を施工する方法であって、前記躯体のコンクリートの打設予定領域の厚さ方向の一方側に、埋設型枠を壁状に設置するステップと、前記埋設型枠の前記打設予定領域を向く側面に設けられた係合部に、張出部材を装着するステップと、前記係合部に装着した前記張出部材に設けられた足場板を足場にして、前記打設予定領域に鉄筋を配筋するステップと、前記鉄筋を配筋した後、前記打設予定領域にコンクリートを打設する前に、前記張出部材を前記係合部から取り外すステップとを有することを特徴とする。
【0010】
また、本発明に係る他のケーソンの施工方法は、上述した発明において、前記打設予定領域にコンクリートを打設する前に、前記係合部に型枠固定用のセパレータを装着するステップをさらに有することを特徴とする。
(【0011】以降は省略されています)
この特許をJ-PlatPat(特許庁公式サイト)で参照する
関連特許
清水建設株式会社
外壁構造
28日前
清水建設株式会社
配筋装置
11日前
清水建設株式会社
化粧カバー
10日前
清水建設株式会社
情報処理装置
17日前
清水建設株式会社
鉄筋把持装置
11日前
清水建設株式会社
製炭炉、製炭方法
10日前
清水建設株式会社
汚染拡散防止構造
1か月前
清水建設株式会社
配筋高さ調整機構
11日前
清水建設株式会社
配筋の千鳥調整機構
11日前
清水建設株式会社
加熱井戸の設置方法
1か月前
清水建設株式会社
ボルトによる接合構造
3日前
清水建設株式会社
コンクリートの施工方法
18日前
清水建設株式会社
建築部材および空調システム
7日前
清水建設株式会社
ケーソンの施工方法および施工補助装置
5日前
清水建設株式会社
低透水層の施工方法および低透水層構造
18日前
清水建設株式会社
木質耐火被覆鉄骨部材およびその施工方法
19日前
清水建設株式会社
角部用タブおよび四面ボックスの溶接方法
1か月前
清水建設株式会社
ガス回収装置、ビル空調システム、ガス回収方法
28日前
清水建設株式会社
鉄筋の放射線漏洩線量減少率評価方法及び解析装置
3日前
清水建設株式会社
施工時CO2排出量の推定方法および推定システム
3日前
公益財団法人鉄道総合技術研究所
樹脂吹付け方法
17日前
清水建設株式会社
地形計測装置、地形計測システム、及び地形計測方法
7日前
清水建設株式会社
トンネル防水シートの施工管理装置及び施工管理方法
1か月前
清水建設株式会社
情報処理システム、情報処理方法、およびプログラム
1か月前
清水建設株式会社
土壌資材、土壌資材の設計方法および土壌資材の製造方法
7日前
清水建設株式会社
鉄筋の突合わせ接合構造及び鉄筋接続用スリーブの圧縮装置
3日前
清水建設株式会社
スリムケーソン工法に用いる揚重構造およびスリムケーソン工法
26日前
清水建設株式会社
陰イオン吸着体、陰イオン吸着体の製造方法、陰イオン吸着方法
3日前
清水建設株式会社
ジオポリマー、ジオポリマーの固化物、放射性廃棄物の処理方法、
11日前
清水建設株式会社
設定データ供給装置、設定データ共有システム、設定データ供給方法
11日前
清水建設株式会社
情報処理システム、情報処理装置、情報処理方法、およびプログラム
18日前
清水建設株式会社
情報処理システム、情報処理装置、情報処理方法、およびプログラム
1か月前
清水建設株式会社
工事支援装置、鉄筋加工支援システム、工事支援方法、および、コンピュータプログラム
11日前
清水建設株式会社
ジオポリマー、ジオポリマーの固化物、ジオポリマーの製造方法、放射性廃棄物の処理方法
11日前
個人
鋼管
18日前
FKS株式会社
擁壁
7日前
続きを見る
他の特許を見る