TOP
|
特許
|
意匠
|
商標
特許ウォッチ
Twitter
他の特許を見る
10個以上の画像は省略されています。
公開番号
2025138455
公報種別
公開特許公報(A)
公開日
2025-09-25
出願番号
2024037560
出願日
2024-03-11
発明の名称
配筋高さ調整機構
出願人
清水建設株式会社
代理人
個人
,
個人
,
個人
主分類
E04G
21/12 20060101AFI20250917BHJP(建築物)
要約
【課題】配筋高さが異なる複数の鉄筋を一定の高さから配筋することができる配筋高さ調整機構を提供する。
【解決手段】配筋高さ調整機構4は、複数の鉄筋を異なる高さに配筋する配筋機構40と、複数の鉄筋を配筋する各々の配筋高さを検出する高さ検出機構50と、高さ検出機構50の検出結果に応じて、配筋機構40を上下方向に移動させる上下移動機構と、配筋高さに対応して配置されたガイド部30と、を備え、高さ検出機構50は、配筋機構40に設けられている。
【選択図】図6
特許請求の範囲
【請求項1】
複数の鉄筋を異なる高さに配筋する配筋機構と、
前記複数の鉄筋を配筋する各々の配筋高さを検出する高さ検出機構と、
前記高さ検出機構の検出結果に応じて、前記配筋機構を上下方向に移動させる上下移動機構と、を備える配筋高さ調整機構。
続きを表示(約 660 文字)
【請求項2】
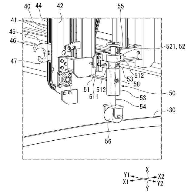
前記高さ検出機構は、前記配筋機構に設けられている請求項1に記載の配筋高さ調整機構。
【請求項3】
前記配筋高さに対応して配置されたガイド部を備え、
前記高さ検出機構は、
前記ガイド部に沿って移動可能なローラー部を有する請求項1または2に記載の配筋高さ調整機構。
【請求項4】
前記高さ検出機構は、
前記ローラー部とともに移動可能な被検出部と、
前記配筋機構に固定され、前記被検出部の高さを検出するセンサーと、を有する請求項3に記載の配筋高さ調整機構。
【請求項5】
前記センサーは、
上側センサーと、
前記上側センサーよりも下方に配置される下側センサーと、を有し、
前記上下移動機構は、前記上側センサー及び前記下側センサーがともに前記被検出部を検出できる高さに、前記配筋機構を上下方向に移動させる請求項4に記載の配筋高さ調整機構。
【請求項6】
前記高さ検出機構は、
前記配筋機構に固定された支持部と、
前記支持部に対して上下方向に摺動可能な摺動部と、を有し、
前記ローラー部及び前記被検出部は、前記摺動部に設けられている請求項4に記載の配筋高さ調整機構。
【請求項7】
前記支持部には、上下方向に貫通する貫通孔が形成され、
前記摺動部は、前記貫通孔に上下方向に摺動可能に挿通されている請求項6に記載の配筋高さ調整機構。
発明の詳細な説明
【技術分野】
【0001】
本発明は、配筋高さ調整機構に関するものである。
続きを表示(約 1,200 文字)
【背景技術】
【0002】
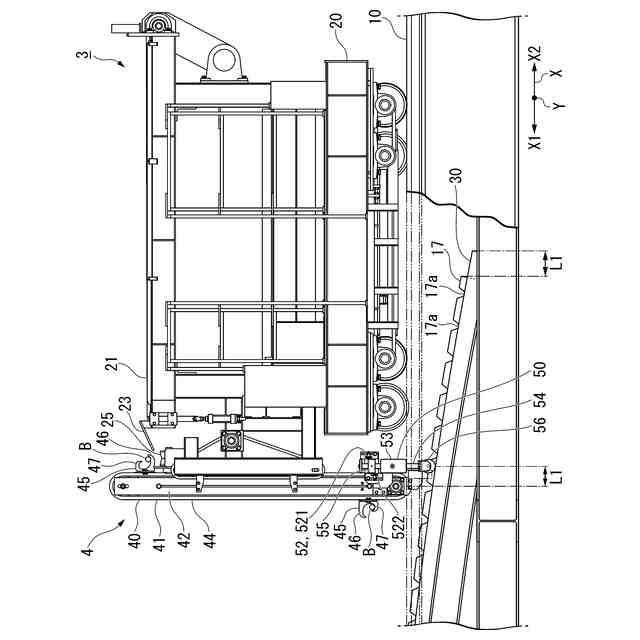
従来から、鉄筋が配置された鉄筋メッシュユニットの製作を行う場合、施工図に基づいて組立作業を行うことが一般的に行われている。主に人力作業によって1本ずつ鉄筋の配筋を行って、鉄筋メッシュユニットを製作している。大型工事等で太径や長尺の鉄筋を扱う場合、鉄筋の種類によっては鉄筋1本あたりの重量が重い場合があり、1本の鉄筋を複数の作業員で所定の場所まで運搬して、配筋作業を行っている。この作業は非常に重労働となるため、一部では配筋装置や配筋ロボットなどを用いて配筋作業を行っている(下記の特許文献1,2,3参照)。
【先行技術文献】
【特許文献】
【0003】
特開平1-75131号公報
特開平1-75132号公報
特開平4-347264号公報
【発明の概要】
【発明が解決しようとする課題】
【0004】
しかしながら、鉄筋を配筋する高さは常に一定の高さとして扱っているため、湾曲筋と直交する直筋を複数配筋する鉄筋ユニットのように、複数の直筋で配筋高さがそれぞれ異なる場合には対応ができないという問題点がある。
【0005】
そこで、本発明は、上記事情に鑑みてなされたものであり、配筋高さが異なる複数の鉄筋を一定の高さから配筋することができる配筋高さ調整機構を提供する。
【課題を解決するための手段】
【0006】
上記目的を達成するために、本発明は以下の手段を採用している。
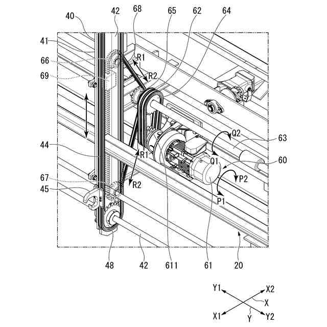
すなわち、本発明に係る配筋高さ調整機構は、複数の鉄筋を異なる高さに配筋する配筋機構と、前記複数の鉄筋を配筋する各々の配筋高さを検出する高さ検出機構と、前記高さ検出機構の検出結果に応じて、前記配筋機構を上下方向に移動させる上下移動機構と、を備える。
【0007】
このように構成された配筋高さ調整機構では、高さ検出機構は、複数の鉄筋を配筋する各々の配筋高さを検出する。上下移動機構は、高さ検出機構の検出結果に応じて、配筋機構を上下方向に移動させる。上下方向に移動した配筋機構は、所定の高さから配筋する。よって、配筋高さが異なる複数の鉄筋を、一定の高さから配筋することができる。
【0008】
また、本発明に係る配筋高さ調整機構では、前記高さ検出機構は、前記配筋機構に設けられていてもよい。
【0009】
このように構成された配筋高さ調整機構では、高さ検出機構は、配筋機構に設けられている。よって、配筋機構が配筋箇所に移動すれば、高さ検出機構もともに移動して配筋高さを検出するため、配筋高さの検出を効率的に行うことができる。
【0010】
また、本発明に係る配筋高さ調整機構は、前記配筋高さに対応して配置されたガイド部を備え、前記高さ検出機構は、前記ガイド部に沿って移動可能なローラー部を有していてもよい。
(【0011】以降は省略されています)
この特許をJ-PlatPat(特許庁公式サイト)で参照する
関連特許
清水建設株式会社
外壁構造
26日前
清水建設株式会社
配筋装置
9日前
清水建設株式会社
化粧カバー
8日前
清水建設株式会社
情報処理装置
15日前
清水建設株式会社
鉄筋把持装置
9日前
清水建設株式会社
製炭炉、製炭方法
8日前
清水建設株式会社
汚染拡散防止構造
1か月前
清水建設株式会社
配筋高さ調整機構
9日前
清水建設株式会社
配筋の千鳥調整機構
9日前
清水建設株式会社
加熱井戸の設置方法
1か月前
清水建設株式会社
ボルトによる接合構造
1日前
清水建設株式会社
コンクリートの施工方法
16日前
清水建設株式会社
建築部材および空調システム
5日前
清水建設株式会社
ケーソンの施工方法および施工補助装置
3日前
清水建設株式会社
低透水層の施工方法および低透水層構造
16日前
清水建設株式会社
木質耐火被覆鉄骨部材およびその施工方法
17日前
清水建設株式会社
角部用タブおよび四面ボックスの溶接方法
1か月前
清水建設株式会社
ガス回収装置、ビル空調システム、ガス回収方法
26日前
清水建設株式会社
鉄筋の放射線漏洩線量減少率評価方法及び解析装置
1日前
清水建設株式会社
施工時CO2排出量の推定方法および推定システム
1日前
公益財団法人鉄道総合技術研究所
樹脂吹付け方法
15日前
清水建設株式会社
地形計測装置、地形計測システム、及び地形計測方法
5日前
清水建設株式会社
トンネル防水シートの施工管理装置及び施工管理方法
1か月前
清水建設株式会社
情報処理システム、情報処理方法、およびプログラム
1か月前
清水建設株式会社
土壌資材、土壌資材の設計方法および土壌資材の製造方法
5日前
清水建設株式会社
鉄筋の突合わせ接合構造及び鉄筋接続用スリーブの圧縮装置
1日前
清水建設株式会社
スリムケーソン工法に用いる揚重構造およびスリムケーソン工法
24日前
清水建設株式会社
陰イオン吸着体、陰イオン吸着体の製造方法、陰イオン吸着方法
1日前
清水建設株式会社
ジオポリマー、ジオポリマーの固化物、放射性廃棄物の処理方法、
9日前
清水建設株式会社
設定データ供給装置、設定データ共有システム、設定データ供給方法
9日前
清水建設株式会社
情報処理システム、情報処理装置、情報処理方法、およびプログラム
16日前
清水建設株式会社
情報処理システム、情報処理装置、情報処理方法、およびプログラム
1か月前
清水建設株式会社
工事支援装置、鉄筋加工支援システム、工事支援方法、および、コンピュータプログラム
9日前
清水建設株式会社
ジオポリマー、ジオポリマーの固化物、ジオポリマーの製造方法、放射性廃棄物の処理方法
9日前
個人
屋台
15日前
個人
野良猫ハウス
1か月前
続きを見る
他の特許を見る