TOP
|
特許
|
意匠
|
商標
特許ウォッチ
Twitter
他の特許を見る
10個以上の画像は省略されています。
公開番号
2025135485
公報種別
公開特許公報(A)
公開日
2025-09-18
出願番号
2024033363
出願日
2024-03-05
発明の名称
低透水層の施工方法および低透水層構造
出願人
清水建設株式会社
代理人
弁理士法人酒井国際特許事務所
主分類
E02D
3/08 20060101AFI20250910BHJP(水工;基礎;土砂の移送)
要約
【課題】施工時間を短縮することができる低透水層の施工方法および低透水層構造を提供する。
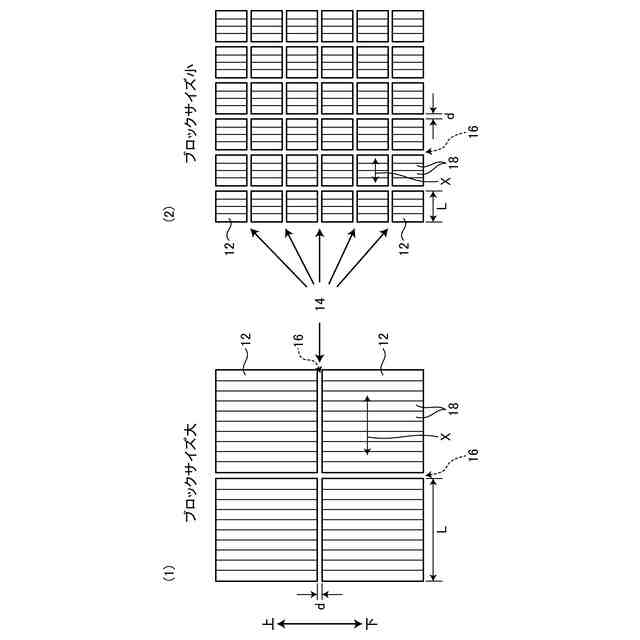
【解決手段】低透水層を施工する方法であって、低透水性の土質材料のまき出しと、まき出した前記土質材料に対する転圧とを層ごとに繰り返すことによって、積層した土層からなるブロック状のプレキャスト土質材料を予め製造するステップS1と、製造した複数の前記プレキャスト土質材料を密集して配置した後、前記プレキャスト土質材料の間の間隙に、密封材料を設けて密封することにより、低透水層を施工するステップS2、S3と、を有するようにする。
【選択図】図1
特許請求の範囲
【請求項1】
低透水層を施工する方法であって、
低透水性の土質材料のまき出しと、まき出した前記土質材料に対する転圧とを層ごとに繰り返すことによって、積層した土層からなるブロック状のプレキャスト土質材料を予め製造するステップと、
製造した複数の前記プレキャスト土質材料を密集して配置した後、前記プレキャスト土質材料の間の間隙に、密封材料を設けて密封することにより、低透水層を施工するステップと、
を有することを特徴とする低透水層の施工方法。
続きを表示(約 560 文字)
【請求項2】
前記プレキャスト土質材料の透水係数の方向依存性に基づいて、前記プレキャスト土質材料の配置向きを設定することを特徴とする請求項1に記載の低透水層の施工方法。
【請求項3】
前記低透水層が施工される領域の周囲において想定される水の流れの向きと、前記プレキャスト土質材料における土層の積層方向とが平行になるように、前記プレキャスト土質材料の配置向きを設定することを特徴とする請求項2に記載の低透水層の施工方法。
【請求項4】
低透水層の構造であって、
密集して配置され、層ごとに転圧された低透水性の土質材料を積層した土層からなるブロック状の複数のプレキャスト土質材料と、前記プレキャスト土質材料の間の間隙に設けられる密封材料とを備えることを特徴とする低透水層構造。
【請求項5】
前記プレキャスト土質材料の配置向きは、前記プレキャスト土質材料の透水係数の方向依存性に基づいて設定されることを特徴とする請求項4に記載の低透水層構造。
【請求項6】
前記低透水層の周囲において想定される水の流れの向きと、前記プレキャスト土質材料における土層の積層方向とが平行になるように設定されることを特徴とする請求項5に記載の低透水層構造。
発明の詳細な説明
【技術分野】
【0001】
本発明は、例えば、低レベル放射性廃棄物処分場のコンクリートピットのような施設の周囲に設けられる低透水層の施工方法および低透水層構造に関するものである。
続きを表示(約 1,300 文字)
【背景技術】
【0002】
従来、低レベル放射性廃棄物処分場のコンクリートピットのように、地下水の浸入をできる限り小さくなるように施工しなければならない施設では、コンクリートピット周囲は透水性の小さなベントナイトで囲われ、その周りは一般的な方法で覆土されている(例えば、特許文献1、非特許文献1を参照)。覆土層は、通常、ローラーや打撃ハンマー等の締固め機械により転圧施工される(例えば、特許文献2、非特許文献2を参照)。
【先行技術文献】
【特許文献】
【0003】
特開2023-48432号公報
特開2023-49301号公報
【非特許文献】
【0004】
「礫-砂-ベントナイト混合土の透水特性と透水係数の評価方法」、田中俊行 他、土木学会論文集C、Vol.64、No.1、pp.101-110、2008年
「地盤統計学を用いたベントナイト系低透水層の空間分布推定」、小野文彦 他、日本原子力学会「2006年秋の大会」講演集、p.105、2006年
【発明の概要】
【発明が解決しようとする課題】
【0005】
ところで、ローラーやハンマー等の締固め機械で覆土層を強く転圧すれば、覆土層の透水性は小さくなるが、覆土層の表面に沿って締固め機械を何度も往復しなければならないため、施工時間が増大するおそれがあった。
【0006】
このような問題を解決するために、本発明者は施工時間を短縮する施工方法について鋭意検討を行った。その結果、転圧により製造したプレキャスト土質材料が透水異方性を持つことを利用した本発明に至った。
【0007】
本発明は、上記に鑑みてなされたものであって、施工時間を短縮することができる低透水層の施工方法および低透水層構造を提供することを目的とする。
【課題を解決するための手段】
【0008】
上記した課題を解決し、目的を達成するために、本発明に係る低透水層の施工方法は、低透水層を施工する方法であって、低透水性の土質材料のまき出しと、まき出した前記土質材料に対する転圧とを層ごとに繰り返すことによって、積層した土層からなるブロック状のプレキャスト土質材料を予め製造するステップと、製造した複数の前記プレキャスト土質材料を密集して配置した後、前記プレキャスト土質材料の間の間隙に、密封材料を設けて密封することにより、低透水層を施工するステップと、を有することを特徴とする。
【0009】
また、本発明に係る他の低透水層の施工方法は、上述した発明において、前記プレキャスト土質材料の透水係数の方向依存性に基づいて、前記プレキャスト土質材料の配置向きを設定することを特徴とする。
【0010】
また、本発明に係る他の低透水層の施工方法は、上述した発明において、前記低透水層が施工される領域の周囲において想定される水の流れの向きと、前記プレキャスト土質材料における土層の積層方向とが平行になるように、前記プレキャスト土質材料の配置向きを設定することを特徴とする。
(【0011】以降は省略されています)
この特許をJ-PlatPat(特許庁公式サイト)で参照する
関連特許
清水建設株式会社
外壁構造
1か月前
清水建設株式会社
配筋装置
16日前
清水建設株式会社
化粧カバー
15日前
清水建設株式会社
鉄筋把持装置
16日前
清水建設株式会社
情報処理装置
22日前
清水建設株式会社
水制御システム
2日前
清水建設株式会社
遮水層の構築方法
1日前
清水建設株式会社
汚染拡散防止構造
1か月前
清水建設株式会社
製炭炉、製炭方法
15日前
清水建設株式会社
配筋高さ調整機構
16日前
清水建設株式会社
配筋の千鳥調整機構
16日前
清水建設株式会社
床吹き出し空調装置
1日前
清水建設株式会社
加熱井戸の設置方法
1か月前
清水建設株式会社
免震装置の基礎構造
2日前
清水建設株式会社
ボルトによる接合構造
8日前
清水建設株式会社
コンクリートの施工方法
23日前
清水建設株式会社
建築部材および空調システム
12日前
清水建設株式会社
中間階免震建物の免震層の構築方法
2日前
清水建設株式会社
低透水層の施工方法および低透水層構造
23日前
清水建設株式会社
ケーソンの施工方法および施工補助装置
10日前
清水建設株式会社
木質耐火被覆鉄骨部材およびその施工方法
24日前
清水建設株式会社
角部用タブおよび四面ボックスの溶接方法
1か月前
清水建設株式会社
出力精度確認システム及び出力精度確認方法
1か月前
清水建設株式会社
ガス回収装置、ビル空調システム、ガス回収方法
1か月前
清水建設株式会社
鉄筋の放射線漏洩線量減少率評価方法及び解析装置
8日前
公益財団法人鉄道総合技術研究所
樹脂吹付け方法
22日前
清水建設株式会社
施工時CO2排出量の推定方法および推定システム
8日前
清水建設株式会社
金属造形物の造形装置および金属造形物の造形方法
3日前
清水建設株式会社
情報処理システム、情報処理方法、およびプログラム
1か月前
清水建設株式会社
トンネル防水シートの施工管理装置及び施工管理方法
1か月前
清水建設株式会社
地形計測装置、地形計測システム、及び地形計測方法
12日前
清水建設株式会社
土壌資材、土壌資材の設計方法および土壌資材の製造方法
12日前
清水建設株式会社
鉄筋の突合わせ接合構造及び鉄筋接続用スリーブの圧縮装置
8日前
清水建設株式会社
陰イオン吸着体、陰イオン吸着体の製造方法、陰イオン吸着方法
8日前
清水建設株式会社
スリムケーソン工法に用いる揚重構造およびスリムケーソン工法
1か月前
清水建設株式会社
ジオポリマー、ジオポリマーの固化物、放射性廃棄物の処理方法、
16日前
続きを見る
他の特許を見る