TOP
|
特許
|
意匠
|
商標
特許ウォッチ
Twitter
他の特許を見る
10個以上の画像は省略されています。
公開番号
2025146354
公報種別
公開特許公報(A)
公開日
2025-10-03
出願番号
2024047082
出願日
2024-03-22
発明の名称
ボルトによる接合構造
出願人
清水建設株式会社
代理人
個人
,
個人
,
個人
主分類
E04B
1/21 20060101AFI20250926BHJP(建築物)
要約
【課題】より高い引張強度で接合することができるボルトによる接合構造を提供する。
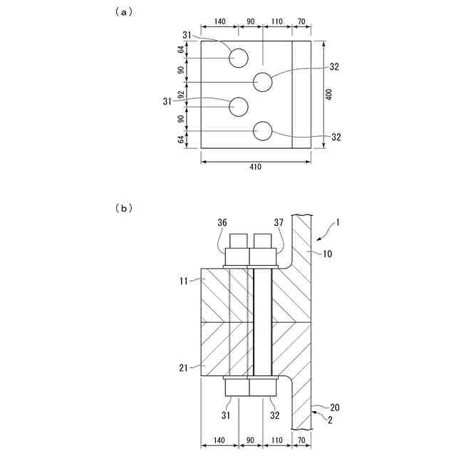
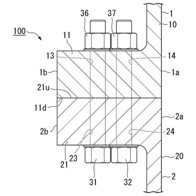
【解決手段】ボルトによる接合構造100は、風力発電支持物に使用される部材どうしのボルトによる接合構造であって、第1方向に延びる第1延在部10と、第1延在部10から第1方向と直交する第2方向に延びる第1フランジ部11と、を有する第1部材1と、第1方向に延びる第2延在部20と、第2延在部20からる第2方向に延び、第1フランジ部11と第1方向に隣り合って配置された第2フランジ部21と、を有する第2部材2と、第1フランジ部11及び第2フランジ部21に第1方向に連通して形成され、第2方向に間隔を空けて配置された第1取付孔13,23及び第2取付孔14,24と、第1取付孔13,23及び第2取付孔14,24にそれぞれ挿通されたボルト31,32と、ボルト31,32に締結されたナット36,37と、を備える。
【選択図】図1
特許請求の範囲
【請求項1】
風力発電支持物に使用される部材どうしのボルトによる接合構造であって、
第1方向に延びる第1延在部と、
前記第1延在部から前記第1方向と直交する第2方向に延びる第1フランジ部と、を有する第1部材と、
前記第1方向に延びる第2延在部と、
前記第2延在部からる第2方向に延び、前記第1フランジ部と前記第1方向に隣り合って配置された第2フランジ部と、を有する第2部材と、
前記第1フランジ部及び第2フランジ部に前記第1方向に連通して形成され、前記第2方向に間隔を空けて配置された第1取付孔及び第2取付孔と、
前記第1取付孔及び前記第2取付孔にそれぞれ挿通されたボルトと、
前記ボルトに締結されたナットと、を備えるボルトによる接合構造。
続きを表示(約 280 文字)
【請求項2】
前記第1フランジ部及び前記第2フランジ部は、前記第1方向から見て環状に形成され、
前記第1取付孔及び前記第2取付孔は、それぞれ前記第1延在部及び前記第2延在部の周方向に間隔を空けて形成されている請求項1に記載のボルトによる接合構造。
【請求項3】
前記第1延在部及び前記第2延在部は、前記第1方向を軸線方向とする筒状に形成され、
前記第1フランジ部は前記第1延在部から径方向の内側に延びるとともに、前記第2フランジ部は前記第2延在部から径方向の内側に延びている請求項1または2に記載のボルトによる接合構造。
発明の詳細な説明
【技術分野】
【0001】
本発明は、ボルトによる接合構造に関するものである。
続きを表示(約 1,400 文字)
【背景技術】
【0002】
従来から、高力ボルトによる接合構造が知られている(下記の特許文献1参照)。風力発電の支持物のタワー接合部や、タワーと基礎接合部との接合部では、L型やT型に形成されたフランジどうしをボルトで接合する方法が採用されることがある。また、洋上風力のトランジッションピース(TP)とモノパイル(MP)との接合部については、グラウト接合が採用されることがある。
【先行技術文献】
【特許文献】
【0003】
特開平7-331756号公報
【発明の概要】
【発明が解決しようとする課題】
【0004】
しかしながら、風力発電支持物に使用する大型フランジおよび大口径ボルトは、経済産業省または国土交通省の認定品を使用する必要がある。この認定品は、サイズに制限があり、荷重が大きくなるとL型フランジどうしをボルト1列で接合する方式では、対応できないことがある。
【0005】
そこで、本発明は、上記事情に鑑みてなされたものであり、より高い引張強度で接合することができるボルトによる接合構造を提供する。
【課題を解決するための手段】
【0006】
上記目的を達成するために、本発明は以下の手段を採用している。
すなわち、本発明に係るボルトによる接合構造は、風力発電支持物に使用される部材どうしのボルトによる接合構造であって、第1方向に延びる第1延在部と、前記第1延在部から前記第1方向と直交する第2方向に延びる第1フランジと、を有する第1部材と、前記第1方向に延びる第2延在部と、前記第2延在部からる第2方向に延び、前記第1フランジと前記第1方向に隣り合って配置された第2フランジと、を有する第2部材と、前記第1フランジ及び第2フランジに前記第1方向に連通して形成され、前記第2方向に間隔を空けて配置された第1取付孔及び第2取付孔と、前記第1取付孔及び前記第2取付孔にそれぞれ挿通されたボルトと、前記ボルトに締結されたナットと、を備える。
【0007】
このように構成されたボルトによる接合構造では、第1部材の第1フランジ部と第2部材の第2フランジ部とは、第2方向に間隔を空けて形成された第1取付孔及び第2取付孔に挿通されたボルト・ナットで2列方式で接合されている。よって、第1部材と第2部材とをより高い引張強度で接合することができる。
【0008】
また、本発明に係るボルトによる接合構造では、前記第1延在部及び前記第2延在部は、前記第1方向から見て環状に形成され、前記第1取付孔及び前記第2取付孔は、それぞれ前記第1延在部及び前記第2延在部の周方向に間隔を空けて形成されていてもよい。
【0009】
このように構成されたボルトによる接合構造では、環状をなす第1フランジ部と第2フランジ部とは、周方向に間隔を空けて配置されたボルト・ナットで接合されている。よって、第1フランジ部と第2フランジ部とを周方向にわたって高い引張強度で接合することができる。
【0010】
また、本発明に係るボルトによる接合構造では、前記第1延在部及び前記第2延在部は、前記第1方向を軸線方向とする筒状に形成され、前記第1フランジ部は前記第1延在部から径方向の内側に延びるとともに、前記第2フランジ部は前記第2延在部から径方向の内側に延びている。
(【0011】以降は省略されています)
この特許をJ-PlatPat(特許庁公式サイト)で参照する
関連特許
清水建設株式会社
外壁構造
1か月前
清水建設株式会社
配筋装置
13日前
清水建設株式会社
化粧カバー
12日前
清水建設株式会社
鉄筋把持装置
13日前
清水建設株式会社
情報処理装置
19日前
清水建設株式会社
導電線の回収方法
1か月前
清水建設株式会社
製炭炉、製炭方法
12日前
清水建設株式会社
配筋高さ調整機構
13日前
清水建設株式会社
汚染拡散防止構造
1か月前
清水建設株式会社
配筋の千鳥調整機構
13日前
清水建設株式会社
加熱井戸の設置方法
1か月前
清水建設株式会社
ボルトによる接合構造
5日前
清水建設株式会社
コンクリートの施工方法
20日前
清水建設株式会社
建築部材および空調システム
9日前
清水建設株式会社
ソイルセメントおよびその製造方法
2か月前
清水建設株式会社
再エネ制御システム、再エネ制御方法
1か月前
清水建設株式会社
ケーソンの施工方法および施工補助装置
7日前
清水建設株式会社
低透水層の施工方法および低透水層構造
20日前
清水建設株式会社
角部用タブおよび四面ボックスの溶接方法
1か月前
清水建設株式会社
木質耐火被覆鉄骨部材およびその施工方法
21日前
清水建設株式会社
出力精度確認システム及び出力精度確認方法
1か月前
清水建設株式会社
床版割付装置、床版割付方法、およびプログラム
2か月前
清水建設株式会社
ガス回収装置、ビル空調システム、ガス回収方法
1か月前
清水建設株式会社
金属造形物の造形装置および金属造形物の造形方法
今日
公益財団法人鉄道総合技術研究所
樹脂吹付け方法
19日前
清水建設株式会社
施工時CO2排出量の推定方法および推定システム
5日前
清水建設株式会社
鉄筋の放射線漏洩線量減少率評価方法及び解析装置
5日前
清水建設株式会社
トンネル防水シートの施工管理装置及び施工管理方法
1か月前
清水建設株式会社
情報処理システム、情報処理方法、およびプログラム
1か月前
清水建設株式会社
情報処理システム、情報処理方法、およびプログラム
1か月前
清水建設株式会社
地形計測装置、地形計測システム、及び地形計測方法
9日前
清水建設株式会社
土壌資材、土壌資材の設計方法および土壌資材の製造方法
9日前
清水建設株式会社
作業板の取付治具、作業板の設置方法及び作業板の安全設備
2か月前
清水建設株式会社
鉄筋の突合わせ接合構造及び鉄筋接続用スリーブの圧縮装置
5日前
清水建設株式会社
スリムケーソン工法に用いる揚重構造およびスリムケーソン工法
28日前
清水建設株式会社
陰イオン吸着体、陰イオン吸着体の製造方法、陰イオン吸着方法
5日前
続きを見る
他の特許を見る