TOP
|
特許
|
意匠
|
商標
特許ウォッチ
Twitter
他の特許を見る
10個以上の画像は省略されています。
公開番号
2025138405
公報種別
公開特許公報(A)
公開日
2025-09-25
出願番号
2024037479
出願日
2024-03-11
発明の名称
設定データ供給装置、設定データ共有システム、設定データ供給方法
出願人
清水建設株式会社
代理人
個人
,
個人
,
個人
主分類
G06Q
50/08 20120101AFI20250917BHJP(計算;計数)
要約
【課題】配筋装置に設定するための、施工図に応じた設定データを、簡単に供給する。
【解決手段】縦筋と横筋をそれぞれ配筋する配筋装置に設定データを供給可能な設定データ供給装置であって、前記配筋をする対象の配筋ユニットを表す配筋図おいて、鉄筋を表す線分ジオメトリ情報に基づいて、前記鉄筋の配置位置とピッチについて解析することによって取得する解析部と、前記取得された鉄筋の配置位置とピッチを含む設定データを出力する出力部と、を有する。
【選択図】図1
特許請求の範囲
【請求項1】
縦筋と横筋をそれぞれ配筋する配筋装置に設定データを供給可能な設定データ供給装置であって、
前記配筋をする対象の配筋ユニットを表す配筋図おいて、鉄筋を表す線分ジオメトリ情報に基づいて、前記鉄筋の配置位置とピッチについて解析することによって取得する解析部と、
前記取得された鉄筋の配置位置とピッチを含む設定データを出力する出力部と、
を有する設定データ供給装置。
続きを表示(約 1,100 文字)
【請求項2】
前記解析部は、
第1方向に間隔を空けて配置される複数の鉄筋について、前記第1方向とは直交する方向である第2方向において前記鉄筋の先端の位置が異なっている第1位置関係、
または、
前記第1方向に間隔を空けて配置される複数の鉄筋のうち最も端部に配置される鉄筋の軸方向における基準位置と、前記第2方向に配置される鉄筋の端部との第2位置関係
の少なくともいずれか一方の位置関係について解析する
請求項1に記載の設定データ供給装置。
【請求項3】
前記解析部は、
前記配筋をする対象の配筋ユニットを表す配筋図おいて、前記線分ジオメトリ情報に基づいて、前記第1位置関係を分析することで前記鉄筋の千鳥量を取得し、
前記出力部は、前記取得された千鳥量を含む設定データを出力する
請求項2に記載の設定データ供給装置。
【請求項4】
前記解析部は、
前記線分ジオメトリ情報に基づいて、前記第2位置関係を分析することで前記鉄筋の出寸法を取得し、
前記出力部は、前記取得された出寸法を含む前記設定データを出力する
請求項2に記載の設定データ供給装置。
【請求項5】
前記配筋図のうち解析対象となる領域を指定する操作入力を受け付ける領域取得部を有し、
前記解析部は、前記領域取得部によって取得された範囲に含まれる図形を対象として前記解析を実行する請求項1から請求項4のうちいずれか1項に記載の設定データ供給装置。
【請求項6】
前記出力部は、
前記設定データを表す二次元バーコードを出力する
請求項5に記載の設定データ供給装置。
【請求項7】
前記出力部は、前記設定データを前記配筋装置に供給可能な端末装置を送信先として、前記設定データを送信する
請求項5に記載の設定データ供給装置。
【請求項8】
請求項1に記載の設定データ供給装置と、端末装置とを含む設定データ共有システムであって、
前記端末装置は、前記設定データ供給装置から取得した前記設定データを、無線によって配筋装置に対して送信する
設定データ共有システム。
【請求項9】
縦筋と横筋をそれぞれ配筋する配筋装置に設定データを供給可能なコンピュータにより実行される設定データ供給補法であって、
前記配筋をする対象の配筋ユニットを表す配筋図おいて、鉄筋を表す線分ジオメトリ情報に基づいて、前記鉄筋の配置位置とピッチについて解析することによって取得し、
前記取得された鉄筋の配置位置とピッチを含む設定データを出力する
ことを含む設定データ供給方法。
発明の詳細な説明
【技術分野】
【0001】
本発明は、設定データ供給装置、設定データ共有システム、設定データ供給方法に関する。
続きを表示(約 2,300 文字)
【背景技術】
【0002】
従来から、鉄筋が配置された鉄筋メッシュユニットの製作を行う場合、CAD(Computer Aided Design)などを用いて鉄筋の配筋作業を行うための施工図を作成する。そして、この施工図に基づいて鉄筋プレハブユニットの組立作業を行うことが一般に行われている。この鉄筋プレハブユニットの組立作業は、主に人力作業によって1本ずつ鉄筋の配筋が行われ、製作される。
大型工事等で太径や長尺の鉄筋を扱う場合、鉄筋の種類によっては鉄筋1本あたりの重量が重い場合があり、このような鉄筋を配筋する場合、1本の鉄筋を複数の作業員で所定の場所まで運搬して、配筋される。この配筋作業は非常に重労働となるため、一部では配筋装置や配筋ロボットなどを用いて配筋作業を行っている(下記の特許文献1参照)。
最近では、CADで作図された配筋図を元に、技術者が配筋装置に必要な情報をCAD図面から読み取り、配筋装置の制御盤(タッチパネルなど)に、操作パネルを介してデータ設定を行っている。
【先行技術文献】
【特許文献】
【0003】
特開平4-347264号公報
【発明の概要】
【発明が解決しようとする課題】
【0004】
しかしながら、配筋装置の制御盤にデータ設定をする場合、技術者は、CAD上の配筋図から正確に各種情報を読み取る知識が必要であり、更に、配筋装置へのデータ設定を正確に出来る知識も必要となる。そのため、簡単に操作が出来るようになるには相当な訓練と技量が必要となる。
また、鉄筋メッシュユニットの種類によっては、鉄筋の端部の出寸法も細かく調整する必要があるものもある。この場合、鉄筋の出寸法についてもCADの施工図から技術者が読み取り、読み取った結果に基づいて、配筋装置の座標系に変換する計算を行った上で、設定データを配筋装置の制御盤から入力する必要があり、人手で行うためには、知識が必要であり、また、データの設定作業の負担が大きい。
【0005】
本発明は、このような事情に鑑みてなされたもので、その目的は、配筋装置に設定するための、施工図に応じた設定データを、簡単に供給することができる設定データ供給装置、設定データ共有システム、設定データ供給方法を提供することにある。
【課題を解決するための手段】
【0006】
上述した課題を解決するために、本発明の一態様は、縦筋と横筋をそれぞれ配筋する配筋装置に設定データを供給可能な設定データ供給装置であって、前記配筋をする対象の配筋ユニットを表す配筋図おいて、鉄筋を表す線分ジオメトリ情報に基づいて、前記鉄筋の配置位置とピッチについて解析することによって取得する解析部と、前記取得された鉄筋の配置位置とピッチを含む設定データを出力する出力部と、を有する設定データ供給装置である。
【0007】
また、本発明の一態様は、上述の設定データ供給装置と、端末装置とを含む設定データ共有システムであって、前記端末装置は、前記設定データ供給装置から取得した前記設定データを、無線によって配筋装置に対して送信する設定データ共有システムである。
【0008】
また、本発明の一態様は、縦筋と横筋をそれぞれ配筋する配筋装置に設定データを供給可能なコンピュータにより実行される設定データ供給補法であって、前記配筋をする対象の配筋ユニットを表す配筋図おいて、鉄筋を表す線分ジオメトリ情報に基づいて、前記鉄筋の配置位置とピッチについて解析することによって取得し、前記取得された鉄筋の配置位置とピッチを含む設定データを出力することを含む設定データ供給方法である。
【発明の効果】
【0009】
以上説明したように、この発明によれば、配筋装置に設定するための、施工図に応じた設定データを、簡単に供給することができる。
【図面の簡単な説明】
【0010】
本発明の一実施形態に係る配筋の千鳥調整機構を備えた配筋装置の斜視図である。
配筋装置によって配置された鉄筋ユニットを示す斜視図である。
配筋装置によって配置された鉄筋ユニットを示す平面図である。
直線筋配筋装置を示す斜視図である。
配筋装置を示す正面図である。
図3のVI部拡大図である。
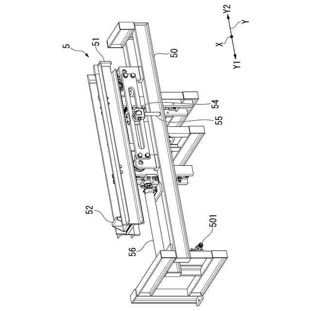
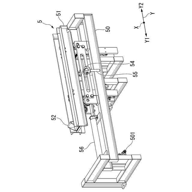
配筋の千鳥調整機構を示す斜視図である。
配筋の千鳥調整機構を示す斜視図である。
配筋の千鳥調整機構を示す斜視図である。
配筋の千鳥調整機構を示す斜視図である。
配筋の千鳥調整機構の第1ストッパ部によって第1鉄筋が位置決めされている状態を示す斜視図である。
配筋の千鳥調整機構の第2ストッパ部によって第2鉄筋が位置決めされている状態を示す斜視図である。
配筋の千鳥調整機構の調整範囲を示す図である。
ストッパ調整量を示す図である。
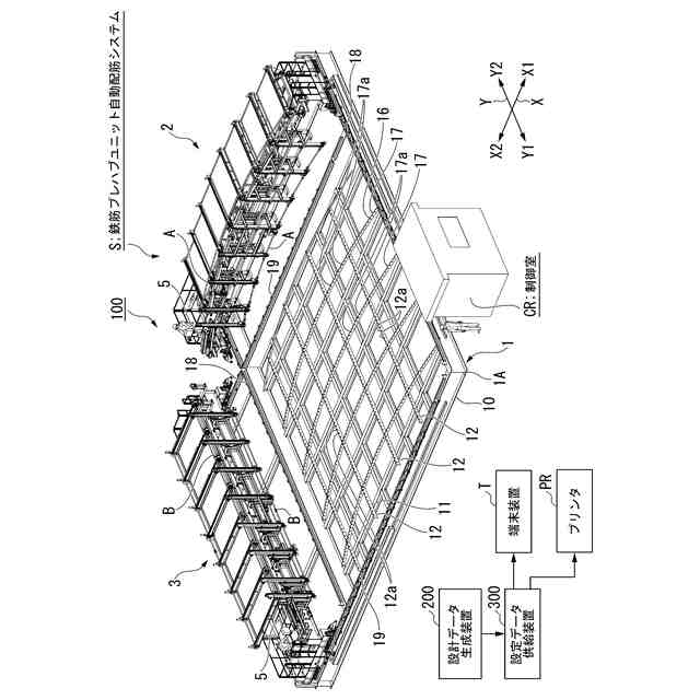
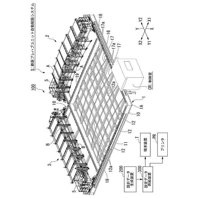
鉄筋プレハブユニット自動配筋システムSの概略のシステム構成を表す概略システム構成図である。
設定データ供給装置300の概略の機能を表す機能ブロック図である。
設定データ供給装置300の動作を説明する流れ図である。
設定データ供給装置300の表示画面に表示される表示内容の一例を示す図である。
出力データ確認画面の一例を示す図である。
【発明を実施するための形態】
(【0011】以降は省略されています)
この特許をJ-PlatPat(特許庁公式サイト)で参照する
関連特許
清水建設株式会社
耐風装置
3か月前
清水建設株式会社
配筋装置
12日前
清水建設株式会社
外壁構造
29日前
清水建設株式会社
制振装置
2か月前
清水建設株式会社
化粧カバー
11日前
清水建設株式会社
情報処理装置
18日前
清水建設株式会社
鉄筋把持装置
12日前
清水建設株式会社
塔体の切断装置
2か月前
清水建設株式会社
機械排煙システム
2か月前
清水建設株式会社
導電線の回収方法
1か月前
清水建設株式会社
汚染拡散防止構造
1か月前
清水建設株式会社
製炭炉、製炭方法
11日前
清水建設株式会社
配筋高さ調整機構
12日前
清水建設株式会社
加熱井戸の設置方法
1か月前
清水建設株式会社
配筋の千鳥調整機構
12日前
清水建設株式会社
ロボット制御システム
2か月前
清水建設株式会社
ボルトによる接合構造
4日前
清水建設株式会社
コンクリートの施工方法
19日前
清水建設株式会社
ブラインド制御システム
2か月前
清水建設株式会社
建築部材および空調システム
8日前
清水建設株式会社
放射線遮蔽構造およびその施工方法
2か月前
清水建設株式会社
ソイルセメントおよびその製造方法
2か月前
清水建設株式会社
再エネ制御システム、再エネ制御方法
1か月前
清水建設株式会社
低透水層の施工方法および低透水層構造
19日前
清水建設株式会社
ケーソンの施工方法および施工補助装置
6日前
清水建設株式会社
補修箇所抽出装置及び補修箇所抽出方法
2か月前
清水建設株式会社
ズレ算出装置、施工方法及びズレ算出方法
2か月前
清水建設株式会社
角部用タブおよび四面ボックスの溶接方法
1か月前
清水建設株式会社
木質耐火被覆鉄骨部材およびその施工方法
20日前
清水建設株式会社
事業継続支援装置及び事業継続支援システム
2か月前
清水建設株式会社
出力精度確認システム及び出力精度確認方法
1か月前
清水建設株式会社
床版割付装置、床版割付方法、およびプログラム
2か月前
清水建設株式会社
ガス回収装置、ビル空調システム、ガス回収方法
29日前
清水建設株式会社
建築物内圧制御システム及び建築物内圧制御方法
2か月前
清水建設株式会社
鉄筋の放射線漏洩線量減少率評価方法及び解析装置
4日前
清水建設株式会社
施工時CO2排出量の推定方法および推定システム
4日前
続きを見る
他の特許を見る