TOP
|
特許
|
意匠
|
商標
特許ウォッチ
Twitter
他の特許を見る
10個以上の画像は省略されています。
公開番号
2025138390
公報種別
公開特許公報(A)
公開日
2025-09-25
出願番号
2024037450
出願日
2024-03-11
発明の名称
配筋の千鳥調整機構
出願人
清水建設株式会社
代理人
個人
,
個人
,
個人
主分類
E04G
21/12 20060101AFI20250917BHJP(建築物)
要約
【課題】千鳥配筋する鉄筋の端部の位置を容易に調整することができる配筋の千鳥調整機構を提供する。
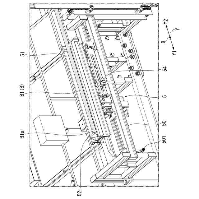
【解決手段】配筋の千鳥調整機構5は、第1鉄筋B1及び第2鉄筋の端部B1aを第1方向に千鳥状に配置する配筋の千鳥調整機構であって、第1鉄筋B1を第1位置に配筋するように、第1鉄筋B1の端部B1aを位置決めする第1ストッパ部52と、第2鉄筋を第2位置に配筋するように、第2鉄筋の端部を位置決めする第2ストッパ部と、第1ストッパ部52及び第2ストッパ部の前記第1方向の位置を調整する位置調整部54と、を備える。
【選択図】図11
特許請求の範囲
【請求項1】
第1鉄筋及び第2鉄筋の端部を第1方向に千鳥状に配置する配筋の千鳥調整機構であって、
前記第1鉄筋を第1位置に配筋するように、前記第1鉄筋の端部を位置決めする第1ストッパ部と、
前記第2鉄筋を第2位置に配筋するように、前記第2鉄筋の端部を位置決めする第2ストッパ部と、
前記第1ストッパ部及び前記第2ストッパ部の前記第1方向の位置を調整する位置調整部と、を備える配筋の千鳥調整機構。
続きを表示(約 380 文字)
【請求項2】
前記第1ストッパ部、前記第2ストッパ部及び前記位置調整部は、千鳥調整装置に搭載され、
前記千鳥調整装置を備える配筋装置は、前記第1方向と直交する第2方向に延びるレールを有する配筋架台の前記レールに沿って前記第2方向に走行可能とされ、
前記位置調整部は、下記の式(1)より算出されるストッパ調整量Cに合わせて、前記位置調整部を調整する請求項1に記載の配筋の千鳥調整機構。
TIFF
2025138390000004.tif
46
170
【請求項3】
前記第1鉄筋及び前記第2鉄筋が載置される載置部を備え、
前記第1ストッパ部は、前記載置部に固定され、
前記第2ストッパ部は、前記載置部に上下方向に出没可能に設けられている請求項1または2に記載の配筋の千鳥調整機構。
発明の詳細な説明
【技術分野】
【0001】
本発明は、配筋の千鳥調整機構に関するものである。
続きを表示(約 1,500 文字)
【背景技術】
【0002】
従来から、鉄筋が配置された鉄筋メッシュユニットの製作を行う場合、施工図に基づいて組立作業を行うことが一般的に行われている。主に人力作業によって1本ずつ鉄筋の配筋を行って、鉄筋メッシュユニットを製作している。大型工事等で太径や長尺の鉄筋を扱う場合、鉄筋の種類によっては鉄筋1本あたりの重量が重い場合があり、1本の鉄筋を複数の作業員で所定の場所まで運搬して、配筋作業を行っている。この作業は非常に重労働となるため、一部では配筋装置や配筋ロボットなどを用いて配筋作業を行っている(下記の特許文献1,2,3参照)。
【0003】
特許文献1,2には、鉄筋を千鳥配筋する方法が開示されている。千鳥配筋する際には、鉄筋を一本おきにローラに係止させて、ローラを回転させることによって、鉄筋を1本おきにスライドする。
【先行技術文献】
【特許文献】
【0004】
特開平1-75131号公報
特開平1-75132号公報
特開平4-347264号公報
【発明の概要】
【発明が解決しようとする課題】
【0005】
しかしながら、特許文献1,2に開示されている方法では、千鳥配筋する鉄筋の端部の位置の微調整をすることが困難であるという問題点がある。
【0006】
そこで、本発明は、上記事情に鑑みてなされたものであり、千鳥配筋する鉄筋の端部の位置を容易に調整することができる配筋の千鳥調整機構を提供する。
【課題を解決するための手段】
【0007】
上記目的を達成するために、本発明は以下の手段を採用している。
すなわち、本発明に係る配筋の千鳥調整機構は、第1鉄筋及び第2鉄筋の端部を第1方向に千鳥状に配置する配筋の千鳥調整機構であって、前記第1鉄筋を第1位置に配筋するように、前記第1鉄筋の端部を位置決めする第1ストッパ部と、前記第2鉄筋を第2位置に配筋するように、前記第2鉄筋の端部を位置決めする第2ストッパ部と、前記第1ストッパ部及び前記第2ストッパ部の前記第1方向の位置を調整する位置調整部と、を備える。
【0008】
このように構成された配筋の千鳥調整機構では、第1鉄筋の端部が第1ストッパ部で位置決めされることによって、第1鉄筋は第1位置に配置される。第2鉄筋の端部が第2ストッパ部で位置決めされることによって、第2鉄筋は第2位置に配置される。位置調整部は、第1ストッパ部及び第2ストッパ部の第1方向の位置を調整する。よって、位置調整部を操作することによって、第1鉄筋及び第2鉄筋の端部の位置を容易に調整することができる。
【0009】
また、本発明に係る配筋の千鳥調整機構は、前記第1ストッパ部、前記第2ストッパ部及び前記位置調整部は、千鳥調整装置に搭載され、前記千鳥調整装置を備える配筋装置は、前記第1方向と直交する第2方向に延びるレールを有する配筋架台の前記レールに沿って前記第2方向に走行可能とされ、前記位置調整部は、下記の式(1)より算出されるストッパ調整量Cに合わせて、前記位置調整部を調整されていてもよい。
TIFF
2025138390000002.tif
46
170
【0010】
このように構成された配筋の千鳥調整機構では、式(1)より算出されるストッパ調整量Cに合わせて、位置調整部を調整することによって、第1鉄筋及び第2鉄筋の端部の位置を容易に調整することができる。
(【0011】以降は省略されています)
この特許をJ-PlatPat(特許庁公式サイト)で参照する
関連特許
清水建設株式会社
外壁構造
24日前
清水建設株式会社
配筋装置
7日前
清水建設株式会社
化粧カバー
6日前
清水建設株式会社
鉄筋把持装置
7日前
清水建設株式会社
情報処理装置
13日前
清水建設株式会社
配筋高さ調整機構
7日前
清水建設株式会社
製炭炉、製炭方法
6日前
清水建設株式会社
導電線の回収方法
1か月前
清水建設株式会社
汚染拡散防止構造
1か月前
清水建設株式会社
加熱井戸の設置方法
1か月前
清水建設株式会社
配筋の千鳥調整機構
7日前
清水建設株式会社
コンクリートの施工方法
14日前
清水建設株式会社
建築部材および空調システム
3日前
清水建設株式会社
放射線遮蔽構造およびその施工方法
1か月前
清水建設株式会社
ソイルセメントおよびその製造方法
1か月前
清水建設株式会社
再エネ制御システム、再エネ制御方法
1か月前
清水建設株式会社
ケーソンの施工方法および施工補助装置
1日前
清水建設株式会社
低透水層の施工方法および低透水層構造
14日前
清水建設株式会社
ズレ算出装置、施工方法及びズレ算出方法
1か月前
清水建設株式会社
角部用タブおよび四面ボックスの溶接方法
1か月前
清水建設株式会社
木質耐火被覆鉄骨部材およびその施工方法
15日前
清水建設株式会社
出力精度確認システム及び出力精度確認方法
1か月前
清水建設株式会社
ガス回収装置、ビル空調システム、ガス回収方法
24日前
清水建設株式会社
床版割付装置、床版割付方法、およびプログラム
1か月前
公益財団法人鉄道総合技術研究所
樹脂吹付け方法
13日前
清水建設株式会社
地形計測装置、地形計測システム、及び地形計測方法
3日前
清水建設株式会社
情報処理システム、情報処理方法、およびプログラム
1か月前
清水建設株式会社
病院
2か月前
清水建設株式会社
情報処理システム、情報処理方法、およびプログラム
1か月前
清水建設株式会社
トンネル防水シートの施工管理装置及び施工管理方法
29日前
清水建設株式会社
土壌資材、土壌資材の設計方法および土壌資材の製造方法
3日前
清水建設株式会社
作業板の取付治具、作業板の設置方法及び作業板の安全設備
1か月前
清水建設株式会社
スリムケーソン工法に用いる揚重構造およびスリムケーソン工法
22日前
清水建設株式会社
ジオポリマー、ジオポリマーの固化物、放射性廃棄物の処理方法、
7日前
清水建設株式会社
情報処理システム、情報処理装置、情報処理方法、およびプログラム
1か月前
清水建設株式会社
設定データ供給装置、設定データ共有システム、設定データ供給方法
7日前
続きを見る
他の特許を見る