TOP
|
特許
|
意匠
|
商標
特許ウォッチ
Twitter
他の特許を見る
10個以上の画像は省略されています。
公開番号
2025143668
公報種別
公開特許公報(A)
公開日
2025-10-02
出願番号
2024043014
出願日
2024-03-19
発明の名称
除湿器、除湿器の製造方法および電気制御機器
出願人
三菱電機株式会社
代理人
弁理士法人ぱるも特許事務所
主分類
B01D
53/26 20060101AFI20250925BHJP(物理的または化学的方法または装置一般)
要約
【課題】ニトロソ化反応の要因となる亜硝酸イオンの電解質膜への付着を抑制し、除湿能力の低下を抑える除湿器、除湿器の製造方法および電気制御機器を提供することを目的とする。
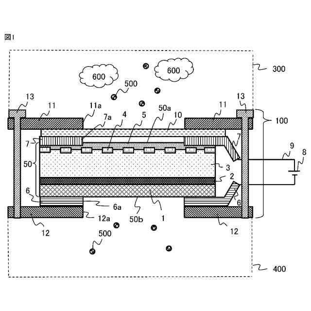
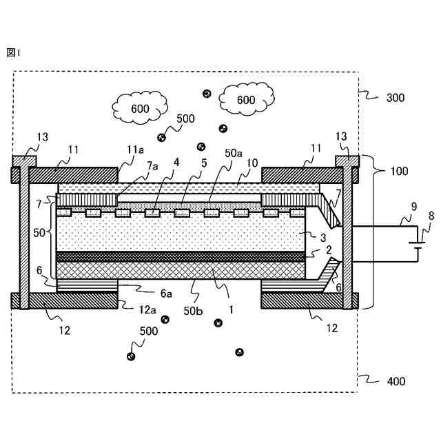
【解決手段】陰極側触媒層2が塗布された陰極多孔質電極1、固体高分子電解質膜3、陽極多孔質電極4が積層され、陽極多孔質電極4に陽極側触媒5が塗布された除湿膜50と、除湿膜50の陰極側表面に対向して開口する開口部を有し陰極多孔質電極1に接続された陰極側給電体6と、除湿膜50の陽極側表面に対向して開口する開口部を有し陽極多孔質電極4に接続された陽極側給電体7と、陽極側給電体7の開口部7aを覆い水分を透過し汚染ガスの透過を阻止するカチオン性多孔質体10とを備える。
【選択図】図1
特許請求の範囲
【請求項1】
陰極側触媒層が塗布された陰極多孔質電極、固体高分子電解質膜、陽極多孔質電極が積層され、前記陽極多孔質電極の表面に陽極側触媒層が塗布されて形成された除湿膜と、
前記除湿膜の陰極側表面に対向して開口する開口部を有し、前記陰極多孔質電極に電気的に接続された陰極側給電体と、
前記除湿膜の陽極側表面に対向して開口する開口部を有し、前記陽極多孔質電極に電気的に接続された陽極側給電体と、
前記陽極側給電体の開口部を覆い、水分を透過するとともに汚染ガスを吸着除去するカチオン性多孔質体と、を備えたことを特徴とする除湿器。
続きを表示(約 710 文字)
【請求項2】
前記カチオン性多孔質体は、母材が、不織布、スポンジ、織物、または多孔質フィルム状であることを特徴とする請求項1に記載の除湿器。
【請求項3】
前記カチオン性多孔質体は、素材が、非水溶性高分子、金属、ガラス、セラミックまたは活性炭であることを特徴とする請求項1に記載の除湿器。
【請求項4】
前記カチオン性多孔質体は、使用されるカチオン性成分が、第4級アンモニウム塩系化合物であることを特徴とする請求項1に記載の除湿器。
【請求項5】
前記カチオン性多孔質体は、厚みが、20μm以上50mm以下であることを特徴とする請求項1に記載の除湿器。
【請求項6】
前記カチオン性多孔質体は、通気度が、500秒/100cc以下であることを特徴とする請求項1に記載の除湿器。
【請求項7】
前記カチオン性多孔質体は、水蒸気透過率が、高分子電解質膜よりも高いことを特徴とする請求項1に記載の除湿器。
【請求項8】
前記高分子電解質膜は、水蒸気透過率が、モコン法での30℃、80%RHにおける数値が6kg/m
2
・day以上であることを特徴とする請求項7に記載の除湿器。
【請求項9】
前記カチオン性多孔質体は、水分を透過する領域の大きさが前記陽極側給電体の開口部よりも大きいことを特徴とする請求項1に記載の除湿器。
【請求項10】
前記カチオン性多孔質体は、裏面に被毒防止膜が設けられたことを特徴とする請求項1に記載の除湿器。
(【請求項11】以降は省略されています)
発明の詳細な説明
【技術分野】
【0001】
本開示は、除湿器、除湿器の製造方法および電気制御機器に関するものである。
続きを表示(約 1,600 文字)
【背景技術】
【0002】
水の電気分解反応を利用した除湿器は、固体高分子電解質膜、電極を積層させた構造のものが用いられており、電極に外部電源を経由して電圧を印加することで除湿器として機能する。
【0003】
水の電気分解反応を利用した従来の除湿器において、外部電源によって陽極と陰極に電圧を印加すると、除湿空間に含まれる水分が陽極において電気分解され、発生した水素イオンが陽極から固体高分子電解質膜を通って陰極に移動し、陰極において加湿空間に含まれる酸素を消費して水を発生する。
【0004】
陽極が面する除湿空間と陰極が面する加湿空間において気体の出入りがないように除湿器を設置すると、陽極が面する除湿空間の水分が減少し陰極が面する加湿空間の水分が増加し、陽極が面する除湿空間の除湿を行うことができる(例えば、特許文献1参照)。
【先行技術文献】
【特許文献】
【0005】
特開2004-351316号
【発明の概要】
【発明が解決しようとする課題】
【0006】
除湿器の電極表面および電解質膜表面に汚染物が付着すると、除湿能力の低下が生じる場合がある。汚染物には、1種類の汚染物で除湿能力の低下を引き起こすものだけではなく、2種類以上の汚染物が反応を起こし、反応によって生じる生成物が除湿能力低下を引き起こす場合もあることが判明した。特に、塩害地域の建築物では、鉄筋コンクリートの防錆成分に亜硝酸リチウムが含まれることが多く、環境中のアミン系化合物の付着汚染が併発することによって、除湿能力低下を引き起こす場合があり、亜硝酸塩およびアミン系化合物が電解質膜表面に付着し、電解質膜の酸触媒能により生じるニトロソ化反応によって、不揮発性のニトロソ化合物が生じ、除湿能力の低下が生じるという課題があった。
【0007】
本開示は、上記のような課題を解決するためになされたものであり、ニトロソ化反応の要因となる亜硝酸イオンの電解質膜への付着を抑制し、除湿能力の低下を抑える除湿器、除湿器の製造方法および電気制御機器を提供することを目的とする。
【課題を解決するための手段】
【0008】
本開示による除湿器は、陰極側触媒層が塗布された陰極多孔質電極、固体高分子電解質膜、陽極多孔質電極が積層され、前記陽極多孔質電極の表面に陽極側触媒層が塗布されて形成された除湿膜と、前記除湿膜の陰極側表面に対向して開口する開口部を有し、前記陰極多孔質電極に電気的に接続された陰極側給電体と、前記除湿膜の陽極側表面に対向して開口する開口部を有し、前記陽極多孔質電極に電気的に接続された陽極側給電体と、前記陽極側給電体の開口部を覆い、水分を透過するとともに汚染ガスを吸着除去するカチオン性多孔質体とを備えたことを特徴とする。
【0009】
本開示による除湿器の製造方法は、陰極多孔質電極の表面に陰極側触媒層を塗布し、前記陰極側触媒層を塗布した前記陰極多孔質電極と固体高分子電解質膜および陽極多孔質電極を積層し、前記陽極多孔質電極の表面に陽極側触媒層を塗布して除湿膜を形成する工程と、前記除湿膜の陰極側表面に対向して開口する開口部を設けた陰極側給電体を前記陰極多孔質電極に電気的に接続する工程と、前記除湿膜の陽極側表面に対向して開口する開口部を設けた陽極側給電体を前記陽極多孔質電極に電気的に接続する工程と、水分を透過するとともに汚染ガスの透過を阻止するカチオン性多孔質体を前記陽極側給電体の開口部を覆うように設ける工程を含むことを特徴とする。
【0010】
本開示による電気制御機器は、上記除湿器を備えたことを特徴とする。
【発明の効果】
(【0011】以降は省略されています)
この特許をJ-PlatPat(特許庁公式サイト)で参照する
関連特許
三菱電機株式会社
冷蔵庫
1か月前
三菱電機株式会社
計測器
1か月前
三菱電機株式会社
回転電機
1か月前
三菱電機株式会社
照明装置
16日前
三菱電機株式会社
照明装置
1か月前
三菱電機株式会社
回転電機
6日前
三菱電機株式会社
照明器具
1か月前
三菱電機株式会社
照明装置
27日前
三菱電機株式会社
照明器具
1か月前
三菱電機株式会社
照明装置
1か月前
三菱電機株式会社
照明装置
1か月前
三菱電機株式会社
回転電機
16日前
三菱電機株式会社
換気装置
1か月前
三菱電機株式会社
照明装置
1か月前
三菱電機株式会社
回転電機
1か月前
三菱電機株式会社
回転電機
1か月前
三菱電機株式会社
電子機器
1か月前
三菱電機株式会社
半導体装置
1か月前
三菱電機株式会社
回路遮断器
1か月前
三菱電機株式会社
加熱調理器
1か月前
三菱電機株式会社
回路遮断器
1か月前
三菱電機株式会社
半導体装置
1か月前
三菱電機株式会社
半導体装置
1か月前
三菱電機株式会社
加熱調理器
1か月前
三菱電機株式会社
半導体装置
26日前
三菱電機株式会社
半導体装置
10日前
三菱電機株式会社
半導体装置
16日前
三菱電機株式会社
半導体装置
1か月前
三菱電機株式会社
加熱調理器
9日前
三菱電機株式会社
半導体装置
1か月前
三菱電機株式会社
電気掃除機
1か月前
三菱電機株式会社
電力変換装置
26日前
三菱電機株式会社
ネジ取出機構
17日前
三菱電機株式会社
電力変換装置
16日前
三菱電機株式会社
電力変換装置
1か月前
三菱電機株式会社
回転電機装置
1か月前
続きを見る
他の特許を見る