TOP
|
特許
|
意匠
|
商標
特許ウォッチ
Twitter
他の特許を見る
10個以上の画像は省略されています。
公開番号
2025147789
公報種別
公開特許公報(A)
公開日
2025-10-07
出願番号
2024048208
出願日
2024-03-25
発明の名称
動作認識装置、動作認識方法、プログラム
出願人
日本電気株式会社
代理人
個人
,
個人
,
個人
,
個人
主分類
G06V
40/20 20220101AFI20250930BHJP(計算;計数)
要約
【課題】人物の動作を適切に認識することができる動作認識装置、動作認識方法及びプログラムを提供する。
【解決手段】動作認識装置100は、時系列の動作データから所定の時間単位毎における動作の特徴を表す動作特徴データを抽出する抽出部121と、所定の時間単位毎の動作特徴データをそれぞれ動作要素データに変換する変換部122と、動作要素データの時系列に沿った配列に基づいて動作要素データを結合した結合データを基本動作データとして生成する結合部123と、を備える。これにより、動作データから基本動作を認識することができ、意思決定の支援に利用することができる。
【選択図】図9
特許請求の範囲
【請求項1】
時系列の動作データから所定の時間単位毎における動作の特徴を表す動作特徴データを抽出する抽出部と、
所定の時間単位毎の前記動作特徴データをそれぞれ動作要素データに変換する変換部と、
前記動作要素データの時系列に沿った配列に基づいて、前記動作要素データを結合した結合データを基本動作データとして生成する結合部と、
を備えた動作認識装置。
続きを表示(約 1,100 文字)
【請求項2】
請求項1に記載の動作認識装置であって、
前記変換部は、前記動作特徴データに基づいて当該動作特徴データをクラスに分類して、当該クラスに対応する予め設定された単位の記号で表した前記動作要素データに変換し、
前記結合部は、前記動作データに対応する時系列に沿った前記記号の配列に基づいて、複数の前記記号の結合からなる記号列にて表される前記結合データを生成する、
動作認識装置。
【請求項3】
請求項2に記載の動作認識装置であって、
前記結合部は、前記記号の配列内における前記記号列の出現状況に基づいて、前記基本動作データとする前記結合データである前記記号列を生成する、
動作認識装置。
【請求項4】
請求項2に記載の動作認識装置であって、
前記結合部は、前記記号の配列内における前記記号列同士の比較に基づいて、所定の前記記号列内の前記記号を変更して複数の前記記号列を統一する、
動作認識装置。
【請求項5】
請求項2に記載の動作認識装置であって、
前記結合部は、前記記号の配列内において所定回数以上連続する前記記号のみを用いて前記記号列を生成する、
動作認識装置。
【請求項6】
請求項2に記載の動作認識装置であって、
前記記号列と共に、当該記号列に対応する前記動作データに基づく映像を出力する出力部を備えた、
動作認識装置。
【請求項7】
請求項6に記載の動作認識装置であって、
前記出力部は、出力された前記記号列及び前記映像に対して、入力された説明情報を関連付ける、
動作認識装置。
【請求項8】
請求項2に記載の動作認識装置であって、
前記変換部は、機械学習モデルを用いて前記動作特徴データをクラスに分類する、
動作認識装置。
【請求項9】
請求項2に記載の動作認識装置であって、
前記記号列の組み合わせに基づいて、上位動作を認識する認識部を備えた、
動作認識装置。
【請求項10】
時系列の動作データから所定の時間単位毎における動作の特徴を表す動作特徴データを抽出し、
所定の時間単位毎の前記動作特徴データをそれぞれ動作要素データに変換し、
前記動作要素データの時系列に沿った配列に基づいて、前記動作要素データを結合した結合データを基本動作データとして生成する、
動作認識方法。
(【請求項11】以降は省略されています)
発明の詳細な説明
【技術分野】
【0001】
本開示は、動作認識装置、動作認識方法、プログラムに関する。
続きを表示(約 1,900 文字)
【背景技術】
【0002】
特許文献1に、映像から人物の動作である行動を認識することが記載されている。具体的に、特許文献1では、映像の各フレームにおける人物の骨格情報から、人物の基本動作を認識し、基本動作の組み合わせからなる上位行動を認識している。このとき、基本動作として、例えば、手を上げる、下を向く、などが挙げられており、上位行動として、作業行動や不審行動などが挙げられている。
【先行技術文献】
【特許文献】
【0003】
特開2022-3434号公報
【発明の概要】
【発明が解決しようとする課題】
【0004】
しかしながら、上述した特許文献1に記載の技術では、予め基本動作が定義されていなければならず、定義されていない場合には動作を認識することができない。その結果、人物の動作を適切に認識することができない、という問題が生じる。
【0005】
このため、本開示の目的の一つは、上述した課題である、人物の動作を適切に認識することができない、ことを解決することにある。
【課題を解決するための手段】
【0006】
本開示の一形態である動作認識装置は、
時系列の動作データから所定の時間単位毎における動作の特徴を表す動作特徴データを抽出する抽出部と、
所定の時間単位毎の前記動作特徴データをそれぞれ動作要素データに変換する変換部と、
前記動作要素データの時系列に沿った配列に基づいて、前記動作要素データを結合した結合データを基本動作データとして生成する結合部と、
を備えた、
という構成をとる。
また、本開示の一形態である動作認識方法は、
時系列の動作データから所定の時間単位毎における動作の特徴を表す動作特徴データを抽出し、
所定の時間単位毎の前記動作特徴データをそれぞれ動作要素データに変換し、
前記動作要素データの時系列に沿った配列に基づいて、前記動作要素データを結合した結合データを基本動作データとして生成する、
という構成をとる。
また、本開示の一形態であるプログラムは、
時系列の動作データから所定の時間単位毎における動作の特徴を表す動作特徴データを抽出し、
所定の時間単位毎の前記動作特徴データをそれぞれ動作要素データに変換し、
前記動作要素データの時系列に沿った配列に基づいて、前記動作要素データを結合した結合データを基本動作データとして生成する、
処理をコンピュータに実行させる、
という構成をとる。
【発明の効果】
【0007】
本開示は、以上のように構成されることにより、人物の動作を適切に認識することができる。
【図面の簡単な説明】
【0008】
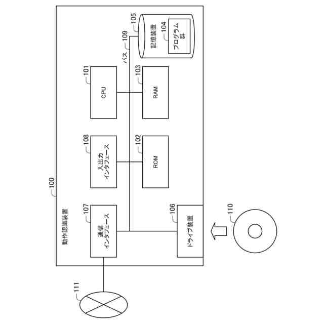
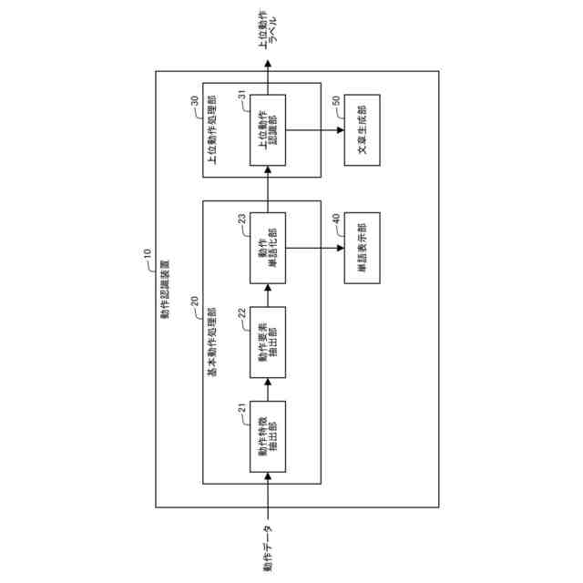
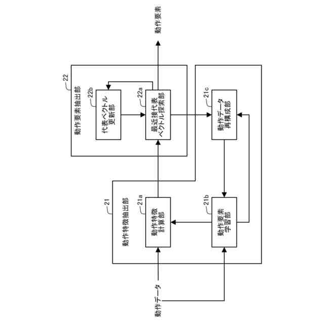
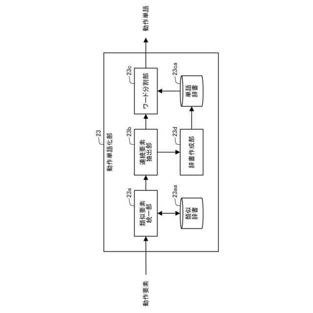
本開示にかかる動作認識装置の構成を示すブロック図である。
本開示にかかる動作認識装置の構成を示すブロック図である。
本開示にかかる動作認識装置の構成を示すブロック図である。
本開示にかかる動作認識装置の構成を示すブロック図である。
本開示にかかる動作認識装置の構成を示すブロック図である。
本開示にかかる動作認識装置の構成を示すブロック図である。
本開示にかかる動作認識装置の処理動作を示すフローチャートである。
本開示にかかる動作認識装置のハードウェア構成を示すブロック図である。
本開示にかかる動作認識装置の構成を示すブロック図である。
【発明を実施するための形態】
【0009】
<第1の実施形態>
本開示の第1の実施形態について、図面を参照して説明する。なお、図面はいずれの実施形態においても関連しうる。
【0010】
[構成]
本実施形態における動作認識装置10は、映像などから取得できる人物の時系列の動作データから、人物の動作を認識するものである。なお、以下では、認識対象となる人物の動作を、上位動作と称することとする。このとき、人物の上位動作は、基本動作の組み合わせから構成されるため、まずは動作データから基本動作を認識する必要があるが、上位動作に含まれる基本動作が不明である場合がある。そこで、本実施形態における動作認識装置10は、人物の動作データから、上位動作を構成する基本動作をまずは特定することとする。
(【0011】以降は省略されています)
この特許をJ-PlatPat(特許庁公式サイト)で参照する
関連特許
日本電気株式会社
学習装置
1か月前
日本電気株式会社
分析装置
10日前
日本電気株式会社
学習装置
1か月前
日本電気株式会社
原子発振器
1か月前
日本電気株式会社
超伝導量子回路
1か月前
日本電気株式会社
マルチバンドバラン
28日前
日本電気株式会社
受信器および通信装置
1日前
日本電気株式会社
量子回路装置と制御方法
10日前
日本電気株式会社
通信装置および通信方法
6日前
日本電気株式会社
量子回路装置と制御方法
10日前
日本電気株式会社
検知装置および検知方法
10日前
日本電気株式会社
送信装置および通信装置
6日前
日本電気株式会社
光伝送システムおよび方法
2日前
日本電気株式会社
移相器およびアンテナ装置
1か月前
日本電気株式会社
移相器およびアンテナ装置
1か月前
日本電気株式会社
移相器およびアンテナ装置
1か月前
日本電気株式会社
端末装置および無線通信方法
21日前
日本電気株式会社
分析方法および分析システム
7日前
日本電気株式会社
機器冷却装置及びその冷却方法
22日前
日本電気株式会社
ケージ、光伝送装置及び挿抜方法
1か月前
日本電気株式会社
処理装置、方法、及びプログラム
1か月前
日本電気株式会社
共振器及びそれを備えた導波回路
8日前
日本電気株式会社
兆候検知装置および兆候検知方法
2日前
日本電気株式会社
演算処理装置および演算処理方法
2日前
日本電気株式会社
プログラム、算出装置、及び方法
22日前
日本電気株式会社
TS合成装置および放送システム
1か月前
日本電気株式会社
リング共振器、およびその製造方法
1か月前
日本電気株式会社
リング共振器、およびその製造方法
1か月前
日本電気株式会社
推定装置、推定方法及びプログラム
13日前
日本電気株式会社
推定装置、推定方法及びプログラム
13日前
日本電気株式会社
放送用システムおよび字幕作成方法
2日前
日本電気株式会社
ピーク抑圧装置及びピーク抑圧方法
20日前
日本電気株式会社
システム及びマイグレーション方法
10日前
日本電気株式会社
画像管理システムおよび画像管理方法
8日前
日本電気株式会社
波長可変レーザ装置及びその構成方法
6日前
日本電気株式会社
処理装置、処理方法、及びプログラム
1か月前
続きを見る
他の特許を見る