TOP
|
特許
|
意匠
|
商標
特許ウォッチ
Twitter
他の特許を見る
公開番号
2025140033
公報種別
公開特許公報(A)
公開日
2025-09-29
出願番号
2024039177
出願日
2024-03-13
発明の名称
エレベータ
出願人
フジテック株式会社
代理人
個人
,
個人
主分類
B66B
1/14 20060101AFI20250919BHJP(巻上装置;揚重装置;牽引装置)
要約
【課題】 利用者の意図しない誤登録を抑制するエレベータを提供する。
【解決手段】 エレベータの登録操作を非接触で検出する複数の距離検出部を有する操作盤と、距離検出部から第1距離以下で遮光を検出したことを判定する、第1判定部と、距離検出部から第1距離より大きく、且つ、第1距離より大きい第2距離以下で遮光を検出したことを判定する、第2判定部と、第1判定部の判定が所定条件を満たすことを条件に、登録操作を登録する制御部と、第2判定部が遮光の検出を判定すると第1報知態様で報知し、制御部が登録操作を登録すると、第1報知態様と異なる第2報知態様で報知する報知部と、を備える。
【選択図】 図4
特許請求の範囲
【請求項1】
エレベータの登録操作を非接触で検出する複数の距離検出部を有する操作盤と、
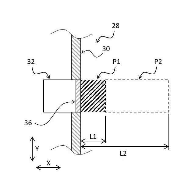
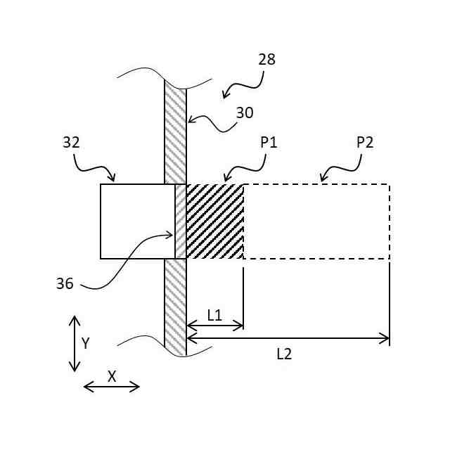
前記距離検出部から第1距離以下で遮光を検出したことを判定する、第1判定部と、
前記距離検出部から前記第1距離より大きく、且つ、前記第1距離より大きい第2距離以下で遮光を検出したことを判定する、第2判定部と、
前記第1判定部の判定が所定条件を満たすことを条件に、前記登録操作を登録する制御部と、
前記第2判定部が遮光の検出を判定すると第1報知態様で報知し、前記制御部が前記登録操作を登録すると、前記第1報知態様と異なる第2報知態様で報知する報知部と、を備える、
エレベータ。
続きを表示(約 940 文字)
【請求項2】
前記制御部は、前記第1判定部の遮光の検出の判定が第1所定時間継続したことを条件に、前記登録操作を登録し、
前記報知部は、前記第1判定部の遮光の検出の判定が開始した時点から前記登録操作が登録されるまでの期間、前記第1報知態様で報知する、
請求項1に記載のエレベータ。
【請求項3】
前記制御部は、前記第1判定部の遮光の検出の判定が開始する直前に第2判定部の遮光の検出が判定されていない場合、前記第1判定部の遮光の検出の判定が前記第1所定時間よりも長い第2所定時間継続したことを条件に、前記登録操作を登録する、
請求項2に記載のエレベータ。
【請求項4】
前記報知部は、複数の前記距離検出部の各々に対応付けて設けられる複数の発光部であって、
前記第2報知態様で報知している前記発光部は、前記第2判定部が遮光の検出を判定しても、前記第1報知態様で報知せず、前記第2報知態様を継続する、
請求項1に記載のエレベータ。
【請求項5】
前記報知部は、複数の前記距離検出部の各々に対応付けて設けられる複数の発光部であって、
前記第1報知態様は、2以上の前記発光部が点灯または点滅する態様であり、
前記第2報知態様は、前記登録操作を検出した前記距離検出部に対応付けられた前記発光部が点灯または点滅する態様である、
請求項1に記載のエレベータ。
【請求項6】
乗りかご内の混雑度を検出する混雑度検出部をさらに備え、
前記報知部は、前記混雑度検出部が所定値以上の混雑度を検出した場合、前記第2判定部が遮光の検出を判定する直前の報知態様を継続する、
請求項1に記載のエレベータ。
【請求項7】
複数の前記距離検出部の各々に対応付けられ、接触操作を検出する複数の接触検出部をさらに備え、
前記接触検出部により前記接触操作が検出された場合、前記制御部は前記登録操作を登録し、前記報知部は、前記第1判定部の判定および前記第2判定部の判定に関わらず、前記第2報知態様で報知する、
請求項1に記載のエレベータ。
発明の詳細な説明
【技術分野】
【0001】
本発明は、エレベータに関し、特に、非接触による操作が可能な操作盤を備えたエレベータに関する。
続きを表示(約 1,400 文字)
【背景技術】
【0002】
従来、例えば、行先階を非接触で登録可能な操作盤を備えるエレベータは、非接触による操作を検知すると発光部を暗点灯させ、行先階が登録されると、発光部を点灯させる(例えば、特許文献1)。ところで、利用者が行先階を登録する意図が無く操作盤に近づいた場合、利用者が暗点灯に気が付いたとしても、気が付くタイミングによっては行先階が誤って登録されてしまう。
【先行技術文献】
【特許文献】
【0003】
特開2022-167699号公報
【発明の概要】
【発明が解決しようとする課題】
【0004】
そこで、課題は、利用者の意図しない誤登録を抑制するエレベータを提供することである。
【課題を解決するための手段】
【0005】
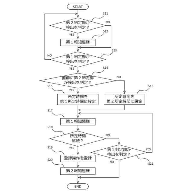
エレベータは、エレベータの登録操作を非接触で検出する複数の距離検出部を有する操作盤と、前記距離検出部から第1距離以下で遮光を検出したことを判定する、第1判定部と、前記距離検出部から前記第1距離より大きく、且つ、前記第1距離より大きい第2距離以下で遮光を検出したことを判定する、第2判定部と、前記第1判定部の判定が所定条件を満たすことを条件に、前記登録操作を登録する制御部と、前記第2判定部が遮光の検出を判定すると第1報知態様で報知し、前記制御部が前記登録操作を登録すると、前記第1報知態様と異なる第2報知態様で報知する報知部と、を備える。
【0006】
また、エレベータは、前記制御部は、前記第1判定部の遮光の検出の判定が第1所定時間継続したことを条件に、前記登録操作を登録し、前記報知部は、前記第1判定部の遮光の検出の判定が開始した時点から前記登録操作が登録されるまでの期間、前記第1報知態様で報知する、という構成でもよい。
【0007】
また、エレベータは、前記制御部は、前記第1判定部の遮光の検出の判定が開始する直前に第2判定部の遮光の検出が判定されていない場合、前記第1判定部の遮光の検出の判定が前記第1所定時間よりも長い第2所定時間継続したことを条件に、前記登録操作を登録する、という構成でもよい。
【0008】
また、エレベータは、前記報知部は、複数の前記距離検出部の各々に対応付けて設けられる複数の発光部であって、前記第2報知態様で報知している前記発光部は、前記第2判定部が遮光の検出を判定しても、前記第1報知態様で報知せず、前記第2報知態様を継続する、という構成でもよい。
【0009】
また、エレベータは、前記報知部は、複数の前記距離検出部の各々に対応付けて設けられる複数の発光部であって、前記第1報知態様は、2以上の前記発光部が点灯または点滅する態様であり、前記第2報知態様は、前記登録操作を検出した前記距離検出部に対応付けられた前記発光部が点灯または点滅する態様である、という構成でもよい。
【0010】
また、エレベータは、乗りかご内の混雑度を検出する混雑度検出部をさらに備え、
前記報知部は、前記混雑度検出部が所定値以上の混雑度を検出した場合、前記第2判定部が遮光の検出を判定する直前の報知態様を継続する、という構成でもよい。
(【0011】以降は省略されています)
この特許をJ-PlatPat(特許庁公式サイト)で参照する
関連特許
フジテック株式会社
エレベータ
16日前
フジテック株式会社
エレベータ
6日前
フジテック株式会社
エレベータ
16日前
フジテック株式会社
マンコンベヤ
10日前
フジテック株式会社
マンコンベヤ
6日前
フジテック株式会社
マンコンベヤ
6日前
フジテック株式会社
行先階登録システム
3日前
フジテック株式会社
エレベータシステム
6日前
フジテック株式会社
データ送信システム
27日前
フジテック株式会社
エレベータの乗場構造
18日前
フジテック株式会社
マンコンベヤシステム
2日前
フジテック株式会社
カスタマイズシステム
2日前
フジテック株式会社
情報処理システム、制御方法
6日前
フジテック株式会社
エレベータの行先階登録装置
26日前
フジテック株式会社
エレベータのかご及びエレベータ
10日前
フジテック株式会社
エレベータ制御システムおよび制御方法
18日前
フジテック株式会社
マンコンベヤ及びマンコンベヤの製造方法
10日前
フジテック株式会社
ロボット管理装置、ロボット、及びプログラム
9日前
フジテック株式会社
ロボット管理装置、ロボット、及びプログラム
9日前
フジテック株式会社
ロボット管理装置、ロボット、及びプログラム
9日前
フジテック株式会社
エレベータのかごドア開閉装置及びエレベータ
9日前
フジテック株式会社
異常通知システム、異常通知システムの制御方法
27日前
フジテック株式会社
マンコンベヤ手摺ベルト用回転体及びマンコンベヤ
16日前
フジテック株式会社
表示装置、表示制御方法、および、表示制御プログラム
2日前
フジテック株式会社
表示装置、表示制御方法、および、表示制御プログラム
2日前
フジテック株式会社
表示装置、表示制御方法、および、表示制御プログラム
2日前
フジテック株式会社
マンコンベヤ
6日前
フジテック株式会社
行先階登録システム
3日前
フジテック株式会社
マンコンベヤシステム
2日前
フジテック株式会社
エレベータ施工方法、表示装置、表示制御方法、および、表示制御プログラム
2日前
フジテック株式会社
エレベータ施工方法、表示装置、表示制御方法、および、表示制御プログラム
2日前
個人
自走手摺
2か月前
ユニパルス株式会社
吊具
4か月前
個人
海上コンテナ昇降装置
9か月前
ユニパルス株式会社
荷役装置
8か月前
ユニパルス株式会社
吊具装置
10か月前
続きを見る
他の特許を見る