TOP
|
特許
|
意匠
|
商標
特許ウォッチ
Twitter
他の特許を見る
10個以上の画像は省略されています。
公開番号
2025144350
公報種別
公開特許公報(A)
公開日
2025-10-02
出願番号
2024044089
出願日
2024-03-19
発明の名称
インクジェット記録装置
出願人
キヤノン株式会社
代理人
弁理士法人近島国際特許事務所
主分類
B41J
2/01 20060101AFI20250925BHJP(印刷;線画機;タイプライター;スタンプ)
要約
【課題】記録部の下流側のデカップリング部3200における搬送力がシートサイズに応じて変化することを抑制できる構成を提供する。
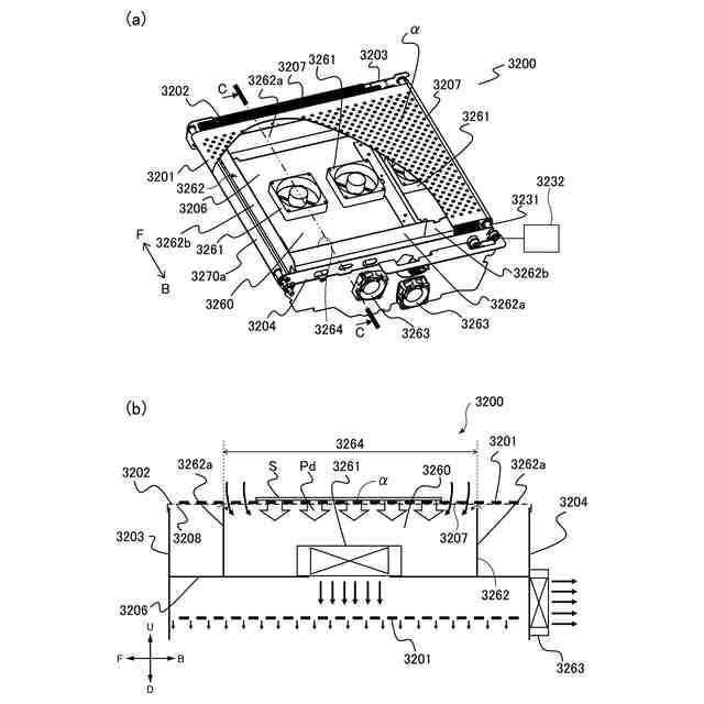
【解決手段】デカップリング部3200は、複数の穴が形成されたベルト3201と、開口部3264がベルト3201のシートの搬送面の裏側に向けて開口するように、ベルト3201の内側に配置されたダクト3262と、ダクト3262内の空気を吸引することで、搬送面にシートを吸着させる吸引ファンとを有する。ベルト3201に複数の穴が形成された範囲と開口部3264とが重なる領域の幅方向の長さである吸引長さをL1とし、最小サイズのシートの前記幅方向の長さをL2、最大サイズのシートの幅方向の長さをL3とした場合に、L2<L1<L3を満たす。
【選択図】図10
特許請求の範囲
【請求項1】
シートを搬送する第1搬送部と、
前記第1搬送部により搬送されるシートに対してインクを吐出して、該シートに画像を形成する画像形成部と、
前記第1搬送部のシートの搬送方向に関して前記画像形成部の下流側に配置され、前記第1搬送部によって搬送されたシートを受け取って、更に前記搬送方向の下流側に搬送する第2搬送部と、を備え、
前記第2搬送部は、
複数の穴が形成された無端状のベルトと、
前記ベルトを張架して、前記ベルトの外周面にシートを搬送する搬送面を形成する複数の張架部材と、
開口部が前記ベルトの前記搬送面の裏側に向けて開口するように、前記ベルトの内側に配置されたダクトと、
前記ダクト内の空気を吸引することで、前記搬送面にシートを吸着させる吸引部と、
前記ベルトを回転駆動することで、前記搬送面に吸着したシートを搬送する駆動部と、を有し、
前記ベルトに前記複数の穴が形成された範囲と前記開口部とが、前記搬送面において前記搬送面と直交する方向から見た場合に重なる領域であって、前記搬送方向に関して前記開口部の上端から所定の長さの範囲における前記搬送方向に交差するシートの幅方向の長さである吸引長さをL1とし、前記画像形成部により画像形成が可能な最小サイズのシートの前記幅方向の長さをL2、前記画像形成部により画像形成が可能な最大サイズのシートの前記幅方向の長さをL3とした場合に、
L2<L1<L3
を満たす
ことを特徴とするインクジェット記録装置。
続きを表示(約 1,700 文字)
【請求項2】
前記ダクトの前記開口部と前記ベルトとの間に配置され、前記ベルトの前記搬送面の裏側を支持する支持部材を更に備え、
前記支持部材は、前記複数の穴を複数の第1の穴とした場合に、複数の第2の穴が形成され、
前記吸引長さは、前記ベルトに前記複数の第1の穴が形成された範囲、前記支持部材に前記複数の第2の穴が形成された範囲、及び、前記開口部が、前記搬送面において前記搬送面と直交する方向から見た場合に重なる領域の前記幅方向の長さである
ことを特徴とする請求項1に記載のインクジェット記録装置。
【請求項3】
前記開口部の前記幅方向の長さは、前記L1である
ことを特徴とする請求項1に記載のインクジェット記録装置。
【請求項4】
前記開口部は、前記搬送方向に関して上端から前記所定の長さの範囲に対応する第1開口部分と、前記搬送方向に関して前記第1開口部よりも下流側に位置し、且つ、前記第1開口部分よりも前記幅方向の長さが短い第2開口部分を有する
ことを特徴とする請求項1に記載のインクジェット記録装置。
【請求項5】
前記第1開口部分の前記幅方向の長さをL1、前記第2開口部分の幅方向の長さをL4とした場合に、
L2<L4<L1<L3
を満たす
ことを特徴とする請求項4に記載のインクジェット記録装置。
【請求項6】
前記吸引部を制御可能な制御部を更に備え、
前記制御部は、シートの前記搬送方向の長さが第1の長さの場合に第1の吸引圧に、シートの前記搬送方向の長さが前記第1の長さよりも長い第2の長さの場合に前記第1の吸引圧よりも小さい第2の吸引圧に、前記吸引部の吸引圧を変更可能である
ことを特徴とする請求項1に記載のインクジェット記録装置。
【請求項7】
前記ベルトの前記搬送面に向けて空気を吹き付けると吹付部を、更に備え、
前記吹付部は、前記搬送面、及び、前記搬送面よりも前記搬送方向の上流側に空気を吹き付ける
ことを特徴とする請求項1に記載のインクジェット記録装置。
【請求項8】
前記搬送方向に関して、前記第1搬送部の下流、且つ、前記第2搬送部の上流に配置され、前記第1搬送部によって搬送されたシートを前記第2搬送部に案内する案内部を、更に備え、
前記吹付部は、前記案内部に空気を吹き付ける吹付圧よりも、前記搬送面に向けて空気を吹き付ける吹付圧の方が大きい
ことを特徴とする請求項7に記載のインクジェット記録装置。
【請求項9】
前記第1搬送部は、
複数の穴が形成された無端状の第1ベルトと、
前記第1ベルトを張架して、前記第1ベルトの外周面にシートを搬送する第1搬送面を形成する複数の第1張架部材と、
第1開口部が前記第1ベルトの前記第1搬送面の裏側に向けて開口するように、前記第1ベルトの内側に配置された第1ダクトと、
前記第1ダクト内の空気を吸引することで、前記第1搬送面にシートを吸着させる第1吸引部と、
前記第1ベルトを回転駆動することで、前記第1搬送面に吸着したシートを搬送する第1駆動部と、を有し、
前記画像形成部は、前記第1搬送面に吸着されたシートに対してインクを吐出し、
前記ベルトは、第2ベルトであり、
前記複数の張架部材は、複数の第2張架部材であり、
前記開口部は、第2開口部であり、
前記ダクトは、第2ダクトであり、
前記搬送面は、第2搬送面であり、
前記吸引部は、第2吸引部であり、
前記駆動部は、第2駆動部である
ことを特徴とする請求項1に記載のインクジェット記録装置。
【請求項10】
前記第2吸引部の吸引圧は、前記第1吸引部の吸引圧よりも小さい
ことを特徴とする請求項9に記載のインクジェット記録装置。
(【請求項11】以降は省略されています)
発明の詳細な説明
【技術分野】
【0001】
本発明は、インクによりシートに対して画像を形成し、画像が形成されたシートを搬送するインクジェット記録装置に関する。
続きを表示(約 2,500 文字)
【背景技術】
【0002】
インクにより画像を形成するインクジェット記録装置として、搬送されるシートに対して画像形成部からインクを吐出して該シートに画像を形成し、該シートを下流側の搬送部に搬送する構成がある(例えば、特許文献1)。特許文献1に記載の構成の場合、搬送部として、空気の吸引によりベルトにシートを吸着させて搬送する構成を採用している。
【先行技術文献】
【特許文献】
【0003】
特開2010-69782号公報
【発明の概要】
【発明が解決しようとする課題】
【0004】
画像形成部の下流側でシートを搬送する搬送部として、空気の吸引によりベルトにシートを吸着させて搬送する構成を採用した場合、ベルトの吸引領域とシートとが重なる面積がシートのサイズに応じて変化するため、ベルトによるシートの搬送力が変化し、上流側の画像形成部で画像形成中に画像が乱れてしまう虞がある。
【0005】
本発明は、画像形成部の下流側の搬送部における搬送力がシートサイズに応じて変化することを抑制できる構成を提供することを目的とする。
【課題を解決するための手段】
【0006】
本発明の一態様は、シートを搬送する第1搬送部と、前記第1搬送部により搬送されるシートに対してインクを吐出して、該シートに画像を形成する画像形成部と、前記第1搬送部のシートの搬送方向に関して前記画像形成部の下流側に配置され、前記第1搬送部によって搬送されたシートを受け取って、更に前記搬送方向の下流側に搬送する第2搬送部と、を備え、前記第2搬送部は、複数の穴が形成された無端状のベルトと、前記ベルトを張架して、前記ベルトの外周面にシートを搬送する搬送面を形成する複数の張架部材と、開口部が前記ベルトの前記搬送面の裏側に向けて開口するように、前記ベルトの内側に配置されたダクトと、前記ダクト内の空気を吸引することで、前記搬送面にシートを吸着させる吸引部と、前記ベルトを回転駆動することで、前記搬送面に吸着したシートを搬送する駆動部と、を有し、前記ベルトに前記複数の穴が形成された範囲と前記開口部とが、前記搬送面において前記搬送面と直交する方向から見た場合に重なる領域であって、前記搬送方向に関して前記開口部の上端から所定の長さの範囲における前記搬送方向に交差するシートの幅方向の長さである吸引長さをL1とし、前記画像形成部により画像形成が可能な最小サイズのシートの前記幅方向の長さをL2、前記画像形成部により画像形成が可能な最大サイズのシートの前記幅方向の長さをL3とした場合に、L2<L1<L3を満たすことを特徴とするインクジェット記録装置である。
【発明の効果】
【0007】
本発明によれば、画像形成部の下流側の搬送部における搬送力がシートサイズに応じて変化することを抑制できる。
【図面の簡単な説明】
【0008】
第1の実施形態の画像形成システムの概略構成断面図。
第1の実施形態に係る乾燥モジュールの概略構成断面図。
(a)第1の実施形態に係るデカップリング部の一部を切断して示す斜視図、(b)(a)のC-C断面図。
第1の実施形態に係るデカップリング部周辺の概略構成断面図。
第1の実施形態に係るプリントモジュールと乾燥モジュールの接続部周辺の概略構成断面図。
第1の実施形態に係るプリントベルトユニットから後ガイドにシートが到達した状態を示すデカップリング部周辺の概略構成断面図。
第1の実施形態に係るプリントベルトユニットからデカップリング部にシートが到達した状態を示すデカップリング部周辺の概略構成断面図。
第1の実施形態に係るプリント吸引ユニットとデカップリング吸引ユニットにシートが跨った状態を示すデカップリング部周辺の概略構成断面図。
第1の実施形態に係るデカップリング部から乾燥ベルトユニットにシートが到達した状態を示すデカップリング部周辺の概略構成断面図。
第1の実施形態に係るデカップリング部により最小サイズのシートが搬送される状態を示す概略構成平面図。
第1の実施形態に係るデカップリング部により最大サイズのシートが搬送される状態を示す概略構成平面図。
第2の実施形態に係るデカップリング部により最大サイズのシートが搬送される状態を示す概略構成平面図。
第2の実施形態に係るプリントモジュールと乾燥モジュールの接続部周辺の概略構成断面図。
第3の実施形態に係る吸引ファンの制御ブロック図。
第3の実施形態に係るデカップリング部により短いシートが搬送される状態を示す概略構成平面図。
第3の実施形態に係るデカップリング部により長いシートが搬送される状態を示す概略構成平面図。
第3の実施形態に係るデカップリング吸引ユニットの吸引圧制御のフローチャート。
【発明を実施するための形態】
【0009】
<第1の実施形態>
第1の実施形態について、図1ないし図11を用いて説明する。まず、本実施形態の画像形成システムの概略構成について、図1を用いて説明する。
【0010】
[画像形成システム]
本実施形態の画像形成システムとしてのインクジェット記録装置100は、インクを吐出してシートに画像を形成するインクジェット記録方式を用いており、反応液とインクとの2液を用いてシートにインク像を形成する、所謂枚葉式のインクジェット記録装置である。シートは、例えば普通紙や厚紙等の紙、オーバーヘッドプロジェクタ用シート等のプラスチックフィルム、封筒やインデックス紙等の特殊形状のシート、並びに布など、インクを受容可能な記録材であればよい。
(【0011】以降は省略されています)
この特許をJ-PlatPat(特許庁公式サイト)で参照する
関連特許
キヤノン株式会社
トナー
2日前
キヤノン株式会社
トナー
2日前
キヤノン株式会社
トナー
7日前
キヤノン株式会社
トナー
2日前
キヤノン株式会社
トナー
1か月前
キヤノン株式会社
定着装置
15日前
キヤノン株式会社
撮像装置
22日前
キヤノン株式会社
撮像装置
1か月前
キヤノン株式会社
電子機器
1か月前
キヤノン株式会社
定着装置
1か月前
キヤノン株式会社
定着装置
1か月前
キヤノン株式会社
定着装置
1か月前
キヤノン株式会社
撮像装置
23日前
キヤノン株式会社
電子機器
23日前
キヤノン株式会社
記録装置
23日前
キヤノン株式会社
撮像装置
21日前
キヤノン株式会社
記録装置
22日前
キヤノン株式会社
撮像装置
1か月前
キヤノン株式会社
定着装置
21日前
キヤノン株式会社
撮像装置
15日前
キヤノン株式会社
電子機器
15日前
キヤノン株式会社
電子機器
15日前
キヤノン株式会社
収容装置
15日前
キヤノン株式会社
撮像装置
3日前
キヤノン株式会社
表示装置
14日前
キヤノン株式会社
発光装置
14日前
キヤノン株式会社
電子機器
11日前
キヤノン株式会社
撮像装置
7日前
キヤノン株式会社
電子機器
9日前
キヤノン株式会社
電子機器
1か月前
キヤノン株式会社
記録装置
7日前
キヤノン株式会社
定着装置
1日前
キヤノン株式会社
光学装置
1か月前
キヤノン株式会社
現像装置
1か月前
キヤノン株式会社
電子機器
1か月前
キヤノン株式会社
電子機器
1か月前
続きを見る
他の特許を見る