TOP
|
特許
|
意匠
|
商標
特許ウォッチ
Twitter
他の特許を見る
10個以上の画像は省略されています。
公開番号
2025144574
公報種別
公開特許公報(A)
公開日
2025-10-03
出願番号
2024044284
出願日
2024-03-20
発明の名称
缶管理装置、缶管理システム、及び、缶管理方法
出願人
東洋製罐株式会社
代理人
個人
,
個人
主分類
B41F
17/00 20060101AFI20250926BHJP(印刷;線画機;タイプライター;スタンプ)
要約
【課題】各缶に対して製品種類を適切に対応付けることを可能とする缶管理装置を提供する。
【解決手段】缶管理装置3は、缶識別子を記憶した缶識別子記憶媒体が付された有底筒状の缶を製造する製缶ラインを管理する。製缶ラインは、缶の製品種類に対応する図柄を缶に印刷する印刷工程を行う印刷装置と、印刷工程の前に印刷前工程を行う前工程製造装置と、印刷工程の後に印刷後工程を行う後工程製造装置と、印刷装置の上流側、下流側又は装置内部に設置されて、缶に付された缶識別子記憶媒体に記憶された缶識別子を取得する印刷工程読取装置とを備える。缶管理装置3は、印刷装置により印刷される図柄に対応する製品種類を示す製品種類識別子の指定を受け付ける製品種類受付部301と、印刷工程読取装置により取得された缶識別子と、製品種類受付部301により受け付けられた製品種類識別子とを対応付けてデータベースに登録するデータベース管理部300とを備える。
【選択図】 図6
特許請求の範囲
【請求項1】
缶識別子を記憶した缶識別子記憶媒体が付された有底筒状の缶を製造する製缶ラインを管理する缶管理装置であって、
前記製缶ラインは、
前記缶の製品種類に対応する図柄を前記缶に印刷する印刷工程を行う印刷装置と、
前記印刷工程の前に行われる印刷前工程として、所定の製造条件に従って前記缶を製造する製造工程を行う前工程製造装置と、
前記印刷工程の後に行われる印刷後工程として、所定の製造条件に従って前記缶を製造する製造工程を行う後工程製造装置と、
前記前工程製造装置、前記印刷装置及び前記後工程製造装置の順に前記缶を搬送する搬送装置と、
前記印刷装置の上流側、下流側又は装置内部に設置されて、前記缶が前記搬送装置により搬送されて前記缶識別子記憶媒体の読取範囲を通過するとき、当該缶に付された前記缶識別子記憶媒体に記憶された前記缶識別子を取得する印刷工程読取装置とを備え、
前記缶管理装置は、
前記印刷装置により印刷される前記図柄に対応する前記製品種類を示す製品種類識別子の指定を受け付ける製品種類受付部と、
前記印刷工程読取装置により取得された前記缶識別子と、前記製品種類受付部により受け付けられた前記製品種類識別子とを対応付けてデータベースに登録するデータベース管理部とを備える、
缶管理装置。
続きを表示(約 3,000 文字)
【請求項2】
前記缶管理装置は、
前記製品種類受付部により受け付けられた前記製品種類識別子により識別される前記製品種類に応じた前記缶を前記後工程製造装置が製造するときに必須の前記製造条件を、前記印刷後工程の必須条件として特定する後工程必須条件特定部と、
前記後工程製造装置に対して設定された前記製造条件を、設定済み条件として取得する設定済み条件取得部と、
前記設定済み条件取得部により取得された前記設定済み条件が、前記後工程必須条件特定部により特定された前記印刷後工程の必須条件を充足するか否かを判定する後工程条件判定部とを備える、
請求項1に記載の缶管理装置。
【請求項3】
前記後工程条件判定部により前記設定済み条件が前記印刷後工程の必須条件を充足していないと判定されたとき、前記後工程製造装置にて警報を発する印刷後警報動作、前記後工程製造装置を停止する印刷後停止動作、及び、前記印刷装置及び前記後工程製造装置の間で前記搬送装置により搬送された前記缶を排斥する印刷後排斥動作のうち少なくとも1つの動作を行う後工程動作部を備える、
請求項2に記載の缶管理装置。
【請求項4】
前記後工程条件判定部により前記設定済み条件が前記印刷後工程の必須条件を充足していないと判定されたとき、前記後工程製造装置に対する前記製造条件を、前記印刷後工程の必須条件に変更するように指示する条件変更指示情報を生成する後工程制御部を備える、
請求項2に記載の缶管理装置。
【請求項5】
前記缶管理装置は、
前記製品種類受付部により受け付けられた前記製品種類識別子により識別される前記製品種類に応じた前記缶を前記前工程製造装置が製造するときに必須の前記製造条件を、
前記印刷前工程の必須条件として特定する前工程必須条件特定部と、
前記前工程製造装置により実施された前記製造条件を、実施済み条件として取得する実施済み条件取得部と、
前記実施済み条件取得部により取得された前記実施済み条件が、前記前工程必須条件特定部により特定された前記印刷前工程の必須条件を充足するか否かを判定する前工程条件判定部とを備える、
請求項1に記載の缶管理装置。
【請求項6】
前記製缶ラインは、
前記前工程製造装置の上流側、下流側又は装置内部に設置されて、前記缶が前記搬送装置により搬送されて前記缶識別子記憶媒体の読取範囲を通過するとき、当該缶に付された前記缶識別子記憶媒体に記憶された前記缶識別子を取得する前工程読取装置を備え、
前記データベース管理部は、
前記前工程読取装置により取得された前記缶識別子と、当該缶識別子により識別される前記缶を製造したときに前記前工程製造装置により実施された前記製造条件とを対応付けて前記データベースに登録し、
前記実施済み条件取得部は、
前記データベースを参照し、前記前工程読取装置により取得された前記缶識別子により識別される前記缶を製造したときに前記前工程製造装置により実施された前記製造条件を、前記実施済み条件として取得する、
請求項5に記載の缶管理装置。
【請求項7】
前記前工程条件判定部により前記実施済み条件が前記印刷前工程の必須条件を充足していないと判定されたとき、前記前工程製造装置又は前記印刷装置にて警報を発する印刷前警報動作、前記前工程製造装置又は前記印刷装置を停止する印刷前停止動作、及び、前記前工程製造装置及び前記印刷装置の間で前記搬送装置により搬送された前記缶を排斥する印刷前排斥動作のうち少なくとも1つの動作を行う前工程動作部を備える、
請求項5に記載の缶管理装置。
【請求項8】
前記前工程条件判定部により前記実施済み条件が前記印刷前工程の必須条件を充足していないと判定されたとき、前記前工程製造装置に対する前記製造条件を、前記印刷前工程の必須条件に変更するように指示する条件変更指示情報を生成する前工程制御部を備える、
請求項5に記載の缶管理装置。
【請求項9】
缶識別子を記憶した缶識別子記憶媒体が付された有底筒状の缶を製造する製缶ラインと、前記製缶ラインを管理する缶管理装置とを備える缶管理システムであって、
前記製缶ラインは、
前記缶の製品種類に対応する図柄を前記缶に印刷する印刷工程を行う印刷装置と、
前記印刷工程の前に行われる印刷前工程として、所定の製造条件に従って前記缶を製造する製造工程を行う前工程製造装置と、
前記印刷工程の後に行われる印刷後工程として、所定の製造条件に従って前記缶を製造する製造工程を行う後工程製造装置と、
前記前工程製造装置、前記印刷装置及び前記後工程製造装置の順に前記缶を搬送する搬送装置と、
前記印刷装置の上流側、下流側又は装置内部に設置されて、前記缶が前記搬送装置により搬送されて前記缶識別子記憶媒体の読取範囲を通過するとき、当該缶に付された前記缶識別子記憶媒体に記憶された前記缶識別子を取得する印刷工程読取装置とを備え、
前記缶管理装置は、
前記印刷装置により印刷される前記図柄に対応する前記製品種類を示す製品種類識別
子の指定を受け付ける製品種類受付部と、
前記印刷工程読取装置により取得された前記缶識別子と、前記製品種類受付部により受け付けられた前記製品種類識別子とを対応付けてデータベースに登録するデータベース管理部とを備える、
缶管理システム。
【請求項10】
コンピュータを用いて、缶識別子を記憶した缶識別子記憶媒体が付された有底筒状の缶を製造する製缶ラインを管理する缶管理方法であって、
前記製缶ラインは、
前記缶の製品種類に対応する図柄を前記缶に印刷する印刷工程を行う印刷装置と、
前記印刷工程の前に行われる印刷前工程として、所定の製造条件に従って前記缶を製造する製造工程を行う前工程製造装置と、
前記印刷工程の後に行われる印刷後工程として、所定の製造条件に従って前記缶を製造する製造工程を行う後工程製造装置と、
前記前工程製造装置、前記印刷装置及び前記後工程製造装置の順に前記缶を搬送する搬送装置と、
前記印刷装置の上流側、下流側又は装置内部に設置されて、前記缶が前記搬送装置により搬送されて前記缶識別子記憶媒体の読取範囲を通過するとき、当該缶に付された前記缶識別子記憶媒体に記憶された前記缶識別子を取得する印刷工程読取装置とを備え、
前記缶管理方法は、
前記印刷装置により印刷される前記図柄に対応する前記製品種類を示す製品種類識別子の指定を受け付ける製品種類受付処理と、
前記印刷工程読取装置により取得された前記缶識別子と、前記製品種類受付処理により受け付けられた前記製品種類識別子とを対応付けてデータベースに登録するデータベース管理処理とを行う、
缶管理方法。
発明の詳細な説明
【技術分野】
【0001】
本発明は、缶管理装置、缶管理システム、及び、缶管理方法に関する。
続きを表示(約 2,600 文字)
【背景技術】
【0002】
従来、缶の製缶ラインにおいて、各缶のロット、製造年月日、原料等を管理するために、缶に識別子を付すことが行われている(例えば、特許文献1参照)。また、缶の製缶ラインにて行われる複数の製造工程のうち一部の製造工程では、複数の缶を多列状態で搬送することが行われている(例えば、特許文献2参照)。
【先行技術文献】
【特許文献】
【0003】
特開平8-175005号公報
特開2002-219538号公報
【発明の概要】
【発明が解決しようとする課題】
【0004】
特許文献1には、各缶のロット、製造年月日、原料等の管理に識別子を用いることが開示されているが、その他の識別子の利用方法については開示されていない。例えば、缶の胴部には、製品種類に対応する図柄が印刷されるが、缶の識別子に製品種類を対応付けて管理することは開示されていない。また、特許文献2に開示されたように、複数の缶が多列状態で搬送された場合、各缶が搬送されるときの搬送順序は不規則に入れ替わる。そのため、缶の識別子に製品種類を対応付けるようにした場合には、各缶の搬送順序が入れ替わっても影響を受けないように工夫する必要がある。さらに、缶の製造工程で用いられる製造装置は、缶の仕様(口径、内径、高さ、板厚、材質等)に応じて各種の設定を切り替える必要があるが、缶10の仕様は、製品種類により異なる場合もあるし、製品種類が異なっていても同一の場合もある。そして、缶の製品種類は、印刷工程にて缶に印刷される図柄が決定されることにより最終的に特定される。そのため、製品種類が最終的に特定されたときに、印刷装置の上流又は下流に設置された製造装置において設定の切り替え作業が必要な場合もあるし、不要な場合もあるため、人為的なミスが発生する可能性があった。
【0005】
本発明は、上記の課題に鑑みてなされたものであり、各缶に対して製品種類を適切に対応付けることを可能とする缶管理装置、缶管理システム、及び、缶管理方法を提供することを目的とする。
【課題を解決するための手段】
【0006】
上記目的を達成するために、本発明の一態様に係る缶管理装置は、
缶識別子を記憶した缶識別子記憶媒体が付された有底筒状の缶を製造する製缶ラインを管理する缶管理装置であって、
前記製缶ラインは、
前記缶の製品種類に対応する図柄を前記缶に印刷する印刷工程を行う印刷装置と、
前記印刷工程の前に行われる印刷前工程として、所定の製造条件に従って前記缶を製造する製造工程を行う前工程製造装置と、
前記印刷工程の後に行われる印刷後工程として、所定の製造条件に従って前記缶を製造する製造工程を行う後工程製造装置と、
前記前工程製造装置、前記印刷装置及び前記後工程製造装置の順に前記缶を搬送する搬送装置と、
前記印刷装置の上流側、下流側又は装置内部に設置されて、前記缶が前記搬送装置により搬送されて缶識別子記憶媒体の読取範囲を通過するとき、当該缶に付された前記缶識別子記憶媒体に記憶された前記缶識別子を取得する印刷工程読取装置とを備え、
前記缶管理装置は、
前記印刷装置により印刷される前記図柄に対応する前記製品種類を示す製品種類識別子の指定を受け付ける製品種類受付部と、
前記印刷工程読取装置により取得された前記缶識別子と、前記製品種類受付部により受け付けられた前記製品種類識別子とを対応付けてデータベースに登録するデータベース管理部とを備える。
【発明の効果】
【0007】
本発明の一態様に係る缶管理装置によれば、缶が印刷装置に搬送されたときに取得された缶識別子と、印刷装置により缶に印刷される図柄に対応する製品種類を示す製品種類識別子とが対応付けられてデータベースに登録される。したがって、各缶が搬送されるときの搬送順序が不規則に入れ替わる場合であっても、各缶に対して製品種類を適切に対応付けることができる。
【0008】
上記以外の課題、構成及び効果は、後述する発明を実施するための形態にて明らかにされる。
【図面の簡単な説明】
【0009】
缶管理システム1の一例を示す全体構成図である。
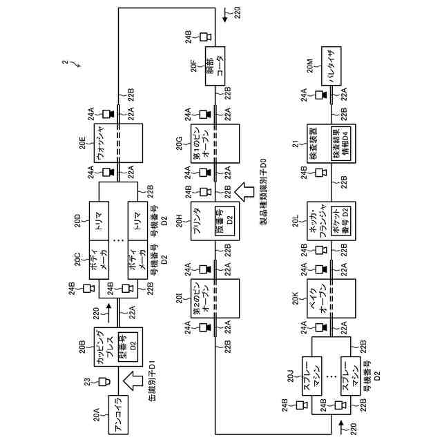
製缶ライン2の一例を示す全体構成図である。
缶10の一例を示す説明図である。
多列搬送装置22A及び多列読取装置24Aの一例を示す概略構成図である。
単列搬送装置22B及び単列読取装置24Bの一例を示す概略構成図である。
缶管理装置3の一例を示すブロック図である。
缶管理データベース11の一例を示すデータ構成図である。
缶管理データベース11の一例を示すデータ構成図である。
装置管理データベース12の一例を示すデータ構成図である。
装置管理データベース12の一例を示すデータ構成図である。
装置管理データベース12の一例を示すデータ構成図である。
装置管理データベース12の一例を示すデータ構成図である。
装置管理データベース12の一例を示すデータ構成図である。
装置管理データベース12の一例を示すデータ構成図である。
製品種類管理データベース13の一例を示すデータ構成図である。
製品種類管理データベース13の一例を示すデータ構成図である。
コンピュータ900の一例を示すハードウエア構成図である。
印刷後工程の製造条件の判定処理の一例を示す機能説明図である。
印刷前工程の製造条件の判定処理の一例を示す機能説明図である。
【発明を実施するための形態】
【0010】
以下、図面を参照して本発明を実施するための実施形態について説明する。以下では、本発明の目的を達成するための説明に必要な範囲を模式的に示し、本発明の該当部分の説明に必要な範囲を主に説明することとし、説明を省略する箇所については公知技術によるものとする。
(【0011】以降は省略されています)
この特許をJ-PlatPat(特許庁公式サイト)で参照する
関連特許
個人
箔熱転写装置
27日前
シヤチハタ株式会社
印判
4か月前
キヤノン株式会社
記録装置
20日前
株式会社リコー
液体吐出装置
5か月前
独立行政法人 国立印刷局
貼付装置
1か月前
株式会社リコー
画像形成装置
4日前
株式会社リコー
液体吐出装置
1か月前
株式会社リコー
画像形成装置
8日前
株式会社リコー
印刷システム
8日前
株式会社リコー
液体吐出装置
3か月前
株式会社リコー
液体吐出装置
4か月前
株式会社リコー
液体吐出装置
5か月前
株式会社リコー
画像形成装置
27日前
独立行政法人 国立印刷局
貼付機構
1か月前
キヤノン株式会社
画像記録装置
20日前
ブラザー工業株式会社
プリンタ
1か月前
キヤノン株式会社
画像形成装置
5か月前
ブラザー工業株式会社
液体吐出ヘッド
20日前
独立行政法人 国立印刷局
潜像形成体
4日前
キヤノン株式会社
画像形成装置
3か月前
ブラザー工業株式会社
プリンタ
6か月前
キヤノン株式会社
画像形成装置
6か月前
キヤノン株式会社
画像処理装置
4か月前
独立行政法人 国立印刷局
潜像印刷物
1か月前
ブラザー工業株式会社
プリンタ
1か月前
ブラザー工業株式会社
プリンタ
3か月前
ブラザー工業株式会社
プリンタ
6か月前
キヤノン株式会社
画像形成装置
1か月前
理想科学工業株式会社
印刷装置
12日前
株式会社リコー
画像形成システム
4日前
キヤノン株式会社
画像形成システム
8日前
独立行政法人 国立印刷局
偽造防止印刷物
5か月前
個人
小型記録媒体への印刷システム
1か月前
独立行政法人 国立印刷局
インキ交換機構
2か月前
株式会社リコー
感熱記録媒体
5日前
キヤノン株式会社
画像形成システム
8日前
続きを見る
他の特許を見る