TOP
|
特許
|
意匠
|
商標
特許ウォッチ
Twitter
他の特許を見る
10個以上の画像は省略されています。
公開番号
2025144620
公報種別
公開特許公報(A)
公開日
2025-10-03
出願番号
2024044356
出願日
2024-03-21
発明の名称
ろう付装置、ろう付方法、溶接物の製造方法、ガス流量の機械学習装置および決定装置、ならびに、センサ位置の機械学習装置および決定装置
出願人
三菱電機株式会社
代理人
弁理士法人深見特許事務所
主分類
B23K
3/04 20060101AFI20250926BHJP(工作機械;他に分類されない金属加工)
要約
【課題】ろう付品質を安定化する。
【解決手段】ろう付装置100は、ろう材を用いて被ろう付部材をろう付けする。ろう付装置100は、ガスを供給するガス供給部1,2と、ガスを燃焼させることにより、ろう材および被ろう付部材を加熱するための火炎を形成するバーナ321~324と、被ろう付部材における監視位置の温度である監視温度を取得する温度センサ4と、監視温度の時系列データに基づいてガス供給部1,2を制御する制御装置5とを備える。
【選択図】図3
特許請求の範囲
【請求項1】
ろう材を用いて被ろう付部材をろう付けするろう付装置であって、
ガスを供給するガス供給部と、
前記ガスを燃焼させることにより、前記ろう材および前記被ろう付部材を加熱するための火炎を形成するバーナと、
前記被ろう付部材における監視位置の温度である監視温度を取得する温度センサと、
前記監視温度の時系列データに基づいて前記ガス供給部を制御する制御装置とを備える、ろう付装置。
続きを表示(約 1,300 文字)
【請求項2】
前記監視位置は、前記バーナの火炎に接触せず、かつ、前記被ろう付部材における接合部に近く、かつ、前記ろう材および前記被ろう付部材の変色が小さく、かつ、加熱中における放射率の変化が小さく、かつ、前記接合部と前記監視位置との間の温度差の変化が小さい位置に定められる、請求項1に記載のろう付装置。
【請求項3】
前記制御装置は、
前記監視温度が目標温度に近付くように前記ガスの流量を制御し、
前記監視温度が前記目標温度に到達した後には、前記監視温度が前記目標温度に維持されるように前記ガスの流量を制御する、請求項1に記載のろう付装置。
【請求項4】
前記監視温度が前記目標温度に到達したことを作業者に報知する報知装置をさらに備える、請求項3に記載のろう付装置。
【請求項5】
前記バーナは、第1のバーナであり、
第2のバーナをさらに備え、
前記第1のバーナと前記第2のバーナとは、火炎が互いに向き合うように配置され、
前記第2のバーナの火炎が前記第1のバーナの火口に接触しないように配置された火炎よけをさらに備える、請求項1~4のいずれか1項に記載のろう付装置。
【請求項6】
前記ろう材の画像を撮影するカメラをさらに備え、
前記制御装置は、前記ろう材の枯渇または溶融が生じたことが前記画像より検知された場合に、前記バーナによる前記被ろう付部材の加熱を終了する、請求項1~4のいずれか1項に記載のろう付装置。
【請求項7】
前記ろう材の変位を検知する変位センサをさらに備え、
前記制御装置は、前記ろう材の枯渇または溶融が生じたことが前記変位により検知された場合に、前記バーナによる前記被ろう付部材の加熱を終了する、請求項1~4のいずれか1項に記載のろう付装置。
【請求項8】
前記バーナにより加熱するための前記被ろう付部材の固定位置における前記被ろう付部材を検知する部材検知センサをさらに備え、
前記制御装置は、前記被ろう付部材が検知されていない場合、前記被ろう付部材が検知されている場合と比べて、前記バーナの火炎を弱くする、請求項1~4のいずれか1項に記載のろう付装置。
【請求項9】
前記バーナにより加熱するための前記被ろう付部材の固定位置における前記被ろう付部材を検知する部材検知センサをさらに備え、
前記制御装置は、前記被ろう付部材が検知されていない時間長が基準時間よりも長い場合、前記時間長が前記基準時間よりも短い場合と比べて、前記バーナの火炎を弱くする、請求項1~4のいずれか1項に記載のろう付装置。
【請求項10】
前記バーナにより加熱するための前記被ろう付部材の固定位置に前記被ろう付部材を移動させる自動搬送装置をさらに備え、
前記自動搬送装置は、テーブル、コンベアおよびレールのうちの少なくとも1つを含む、請求項1~4のいずれか1項に記載のろう付装置。
(【請求項11】以降は省略されています)
発明の詳細な説明
【技術分野】
【0001】
本開示は、ろう付装置、ろう付方法、溶接物の製造方法、ガス流量の機械学習装置および決定装置、ならびに、センサ位置の機械学習装置および決定装置に関する。
続きを表示(約 2,700 文字)
【背景技術】
【0002】
特開2009-148807号公報(特許文献1)および特開2002-45990号公報(特許文献2)は、ガスバーナを用いたろう付装置を開示する。
【先行技術文献】
【特許文献】
【0003】
特開2009-148807号公報
特開2002-45990号公報
【発明の概要】
【発明が解決しようとする課題】
【0004】
ろう付装置およびろう付方法では、バーナによる加熱中に加熱条件(環境温度、火炎の大きさなど)が変化したり、被ろう付部材の幾何学的条件(形状、姿勢、位置など)がばらついたりすることによって、ろう付品質が低下する可能性がある。より具体的には、上記のような様々な要因により、ろう材が十分に溶融しなかったり、ろう材が不均一に溶融したりする可能性がある。ろう付品質を安定化すること、言い換えれば、一定水準のろう付品質を担保することに対する要求が常に存在する。
【0005】
本開示は上記課題を解決するためになされたものであり、本開示の目的の1つは、ろう付装置およびろう付方法において、ろう付品質を安定化することである。本開示の目的の他の1つは、ろう付品質が安定した溶接物を提供することである。本開示の目的のさらに他の1つは、ろう付品質を安定させることが可能なガス流量の機械学習装置および決定装置ならびにセンサ位置の機械学習装置および決定装置を提供することである。
【課題を解決するための手段】
【0006】
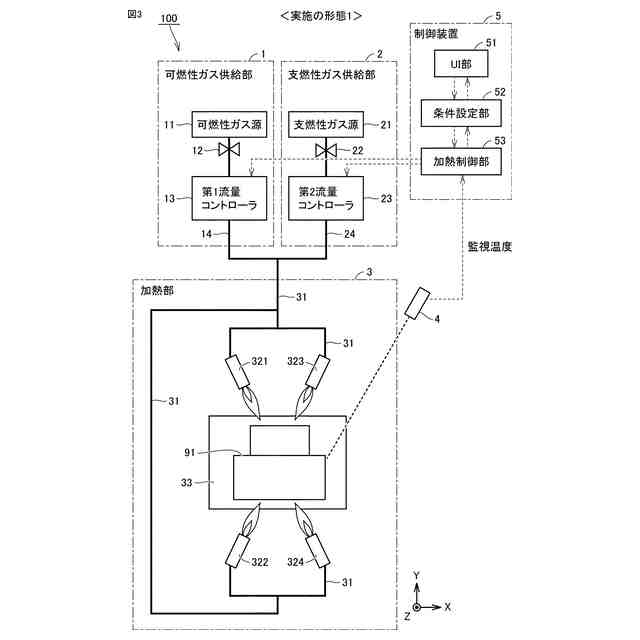
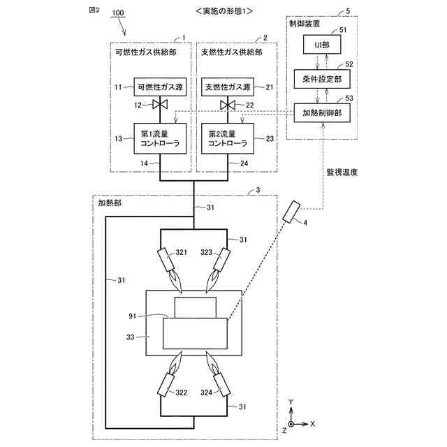
本開示のある局面に係るろう付装置は、ろう材を用いて被ろう付部材をろう付けする。ろう付装置は、ガスを供給するガス供給部と、ガスを燃焼させることにより、ろう材および被ろう付部材を加熱するための火炎を形成するバーナと、被ろう付部材における監視位置の温度である監視温度を取得する温度センサと、監視温度の時系列データに基づいてガス供給部を制御する制御装置とを備える。
【0007】
本開示の他の局面に係るろう付方法は、ろう材を用いて被ろう付部材をろう付けする。ろう付方法は、被ろう付部材における監視位置の温度を取得するステップと、ガスの燃焼により形成されるバーナの火炎により、ろう材および被ろう付部材を加熱するステップとを含む。加熱するステップは、監視位置の温度に基づいてガスの流量を制御するステップを含む。
【発明の効果】
【0008】
本開示によれば、ろう付装置およびろう付方法において、ろう付品質を安定化できる。また、本開示によれば、ろう付品質が安定した溶接物を提供できる。さらに、本開示によれば、ろう付品質を安定させることが可能なガス流量の機械学習装置および決定装置ならびにセンサ位置の機械学習装置および決定装置を提供できる。
【図面の簡単な説明】
【0009】
電気設備の正面透視図である。
電気設備の側面図である。
実施の形態1に係るろう付装置の構成の一例を示す模式図である。
制御装置のハードウェア構成の一例を示す図である。
温度センサによる監視位置を説明するための図である。
実施の形態1に係るろう付装置の構成の第1例を示す上面図である。
実施の形態1に係るろう付装置の構成の第2例を示す上面図である。
実施の形態1に係るろう付装置の構成の第3例を示す上面図である。
実施の形態1におけるろう付方法の処理手順の一例を示すフローチャートである。
実施の形態1におけるろう付方法の処理手順の続きの一例を示すフローチャートである。
監視温度および可燃性ガスの流量の時間変化の一例を示すタイムチャートである。
実施の形態2に係るろう付装置の構成の一例を示す模式図である。
実施の形態2に係るろう付装置における加熱部の構成を説明するための側面図である。
実施の形態3に係るろう付装置の構成の一例を示す模式図である。
実施の形態3におけるろう付方法の処理手順の続きの一例を示すフローチャートである。
実施の形態4に係るろう付装置の構成の一例を示す模式図である。
部材検知センサによる検知位置を説明するための図である。
実施の形態4におけるろう付方法の処理手順の続きの第1例を示すフローチャートである。
実施の形態4におけるろう付方法の処理手順の続きの第2例を示すフローチャートである。
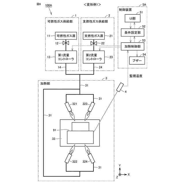
実施の形態5に係るろう付装置の構成の第1例を示す模式図である。
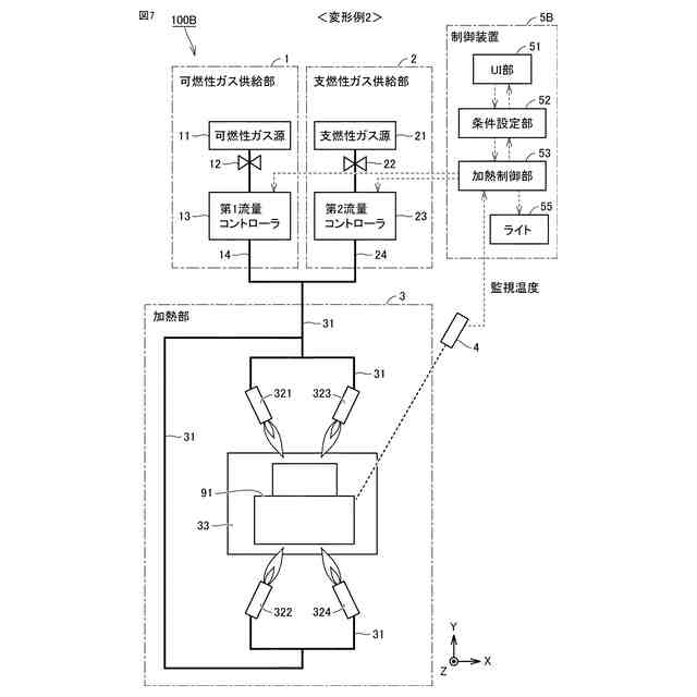
実施の形態5に係るろう付装置の構成の第2例を示す模式図である。
実施の形態6における導体の製造方法の処理手順の一例を示すフローチャートである。
実施の形態6における導体の構成の一例を説明するための上面図である。
実施の形態6における導体の構成の一例を説明するための側面図である。
実施の形態7における導体の構成の一例を説明するための上面図である。
実施の形態7における導体の構成の一例を説明するための側面図である。
実施の形態8におけるガス流量に関する機械学習装置の構成の一例を示す図である。
実施の形態8におけるガス流量の決定方法に関する機械学習方法の処理手順の一例を示す図である。
実施の形態8における流量決定装置の構成の一例を示す図である。
実施の形態8におけるガス流量の決定方法の処理手順の一例を示す図である。
実施の形態9に係るろう付装置の構成の一例を示す模式図である。
実施の形態9における温度センサの位置に関する機械学習装置の構成の一例を示す図である。
実施の形態9における温度センサの位置の決定方法に関する機械学習方法の処理手順の一例を示す図である。
実施の形態9における位置決定装置の構成の一例を示す図である。
実施の形態9におけるセンサ位置の決定方法の処理手順の一例を示す図である。
【発明を実施するための形態】
【0010】
以下、本実施の形態について、図面を参照しながら詳細に説明する。なお、図中同一または相当部分には同一符号を付して、その説明は繰り返さない。
(【0011】以降は省略されています)
この特許をJ-PlatPat(特許庁公式サイト)で参照する
関連特許
三菱電機株式会社
回転電機
4日前
三菱電機株式会社
回転電機
1か月前
三菱電機株式会社
換気装置
1か月前
三菱電機株式会社
照明器具
1か月前
三菱電機株式会社
回転電機
28日前
三菱電機株式会社
照明装置
25日前
三菱電機株式会社
照明装置
14日前
三菱電機株式会社
回転電機
14日前
三菱電機株式会社
電気掃除機
1か月前
三菱電機株式会社
回路遮断器
1か月前
三菱電機株式会社
半導体装置
1か月前
三菱電機株式会社
半導体装置
1か月前
三菱電機株式会社
半導体装置
24日前
三菱電機株式会社
半導体装置
8日前
三菱電機株式会社
加熱調理器
7日前
三菱電機株式会社
半導体装置
14日前
三菱電機株式会社
給湯システム
7日前
三菱電機株式会社
ネジ取出機構
15日前
三菱電機株式会社
空気調和装置
15日前
三菱電機株式会社
電力変換装置
24日前
三菱電機株式会社
貯湯式給湯機
4日前
三菱電機株式会社
車両制御装置
16日前
三菱電機株式会社
電力変換装置
14日前
三菱電機株式会社
回転電機装置
28日前
三菱電機株式会社
送電線保護装置
14日前
三菱電機株式会社
電動機制御装置
今日
三菱電機株式会社
屋外設置用筐体
24日前
三菱電機株式会社
非常用照明装置
7日前
三菱電機株式会社
はんだ処理装置
1か月前
三菱電機株式会社
給湯機システム
28日前
三菱電機株式会社
ウエハテスト装置
14日前
三菱電機株式会社
変圧器の診断方法
22日前
三菱電機株式会社
空気清浄システム
7日前
三菱電機株式会社
照明制御システム
14日前
三菱電機株式会社
情報処理システム
28日前
三菱電機株式会社
照明制御システム
1日前
続きを見る
他の特許を見る