TOP
|
特許
|
意匠
|
商標
特許ウォッチ
Twitter
他の特許を見る
公開番号
2025144246
公報種別
公開特許公報(A)
公開日
2025-10-02
出願番号
2024043932
出願日
2024-03-19
発明の名称
建具
出願人
株式会社LIXIL
代理人
個人
,
個人
,
個人
主分類
E06B
7/14 20060101AFI20250925BHJP(戸,窓,シャッタまたはローラブラインド一般;はしご)
要約
【課題】雨水の屋内への浸入を抑制することができる建具を提供する。
【解決手段】建具は、枠体と、枠体の内側に配置され、左右方向Xに移動して開閉可能とされた内障子2Y及び外障子2Xと、内障子2Yの召合框24Yにおける屋内外方向Yの屋外側Y1を向く面264aの下端部及び外障子2Xの召合框24Xにおける屋内外方向Yの屋内側Y2を向く面の下端部の少なくともいずれか一方に設けられた雨水誘導部材4と、を備え、雨水誘導部材4は、内障子2Y及び外障子2Xが閉じた状態で雨水を屋外側に誘導するように形成されている。
【選択図】図3
特許請求の範囲
【請求項1】
枠体と、
前記枠体の内側に配置され、左右方向に移動して開閉可能とされた内障子及び外障子と、
前記内障子の召合框における屋内外方向の屋外側を向く面の下端部及び前記外障子の召合框における屋内外方向の屋内側を向く面の下端部の少なくともいずれか一方に設けられた雨水誘導部材と、を備え、
前記雨水誘導部材は、前記内障子及び前記外障子が閉じた状態で雨水を屋外側に誘導するように形成されている建具。
続きを表示(約 440 文字)
【請求項2】
前記内障子の召合框及び前記外障子の召合框の少なくとも一方は、前記内障子と前記外障子との間の封止する気密材を有し、
前記雨水誘導部材は、前記内障子及び前記外障子が閉じた状態で、前記気密材よりも屋外側の領域寄りに配置されている請求項1に記載の建具。
【請求項3】
前記雨水誘導部材は、下方に向かうにしたがって次第に前記内障子及び前記外障子が閉じた状態で屋外側の領域に向かうように、鉛直方向に対して傾斜して形成されている傾斜面部を有する請求項1または2に記載の建具。
【請求項4】
前記雨水誘導部材の前記左右方向の端部は、前記内障子の煙返しの屋内外方向の屋外側に延びる折曲壁部に当接または近接している請求項1または2に記載の建具。
【請求項5】
前記枠体の下枠と前記内障子との間の隙間を封止する気密ピースを備え、
前記雨水誘導部材は、前記気密ピースに形成されている請求項1または2に記載の建具。
発明の詳細な説明
【技術分野】
【0001】
本開示は、建具に関するものである。
続きを表示(約 1,300 文字)
【背景技術】
【0002】
従来から、引違い窓等の建具では、屋外からの雨水の浸入を抑制するための構造が知られている。下記の特許文献1には、煙返し部に傾斜部を形成して、雨水を煙返し部の見付面から、傾斜部に沿わせて下方から屋外に案内するようにした構成が開示されている。
【先行技術文献】
【特許文献】
【0003】
特開2019-163660号公報
【発明の概要】
【発明が解決しようとする課題】
【0004】
特許文献1の建具では、水の表面張力を利用して、雨水を煙返し部の傾斜部に沿わせて下方に案内するようにしているが、落下する雨水を屋外に完全に案内することは難しく、長期間の雨水時には雨水が屋内に浸入してしまう虞がある。
【0005】
本開示は、上記事情に鑑みてなされたものであり、雨水の屋内への浸入を抑制することができる建具を提供する。
【課題を解決するための手段】
【0006】
本開示の一態様に係る建具は、枠体と、前記枠体の内側に配置され、左右方向に移動して開閉可能とされた内障子及び外障子と、前記内障子の召合框における屋内外方向の屋外側を向く面の下端部及び前記外障子の召合框における屋内外方向の屋内側を向く面の下端部の少なくともいずれか一方に設けられた雨水誘導部材と、を備え、前記雨水誘導部材は、前記内障子及び前記外障子が閉じた状態で雨水を屋外側に誘導するように形成されている。
【図面の簡単な説明】
【0007】
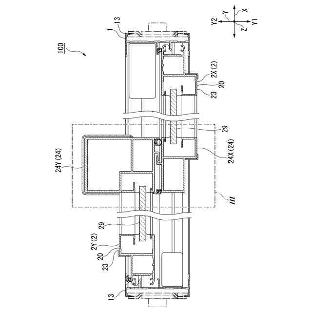
本実施形態に係る建具の鉛直断面図である。
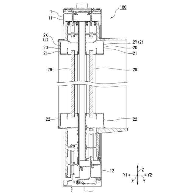
本実施形態に係る建具の水平断面図である。
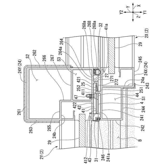
図1にIII部拡大図である。
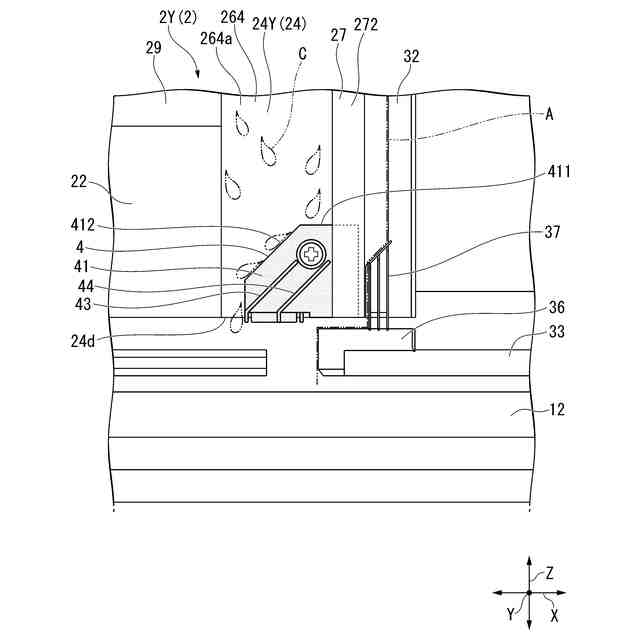
内障子を屋外側から見た図である。
雨水誘導部材の斜視図である。
【発明を実施するための形態】
【0008】
以下、本実施形態に係る建具について、図面に基づいて説明する。以下の実施形態は、本開示の一態様を示すものであり、本開示を限定するものではなく、本開示の技術的思想の範囲内で任意に変更可能である。以下の図面においては、各構成を分かりやすくするために、実際の構造と各構造における縮尺等を異ならせている。
【0009】
以下の説明では、屋外側と屋内側とを結び水平方向に沿う方向を、屋内外方向Yと称する。屋内外方向Yと直交し水平方向に沿う方向を、左右方向Xと称する。屋内外方向Y及び左右方向Xと直交する方向を、上下方向Zと称する。屋内外方向Yのうち、屋外側を屋外側Y1と示し、屋内側を屋内側Y2と示す。各構成部材において、左右方向Xのうち左右方向Xで各障子2の中心から離れる側を外側と称し、各障子2の中心に向かう側を内側と称する場合がある。
【0010】
建物の開口部に設けられる建具の一例として、引違い窓を用いて説明する。図1及び図2に示すように、引違い窓100は、枠体1と、一対の障子2,2と、を備えている。
(【0011】以降は省略されています)
この特許をJ-PlatPat(特許庁公式サイト)で参照する
関連特許
株式会社LIXIL
建具
16日前
株式会社LIXIL
建具
6日前
株式会社LIXIL
建具
3日前
株式会社LIXIL
建具
3日前
株式会社LIXIL
建具
3日前
株式会社LIXIL
建具
3日前
株式会社LIXIL
建具
3日前
株式会社LIXIL
建具
2日前
株式会社LIXIL
建具
3日前
株式会社LIXIL
建具
6日前
株式会社LIXIL
便器装置
4日前
株式会社LIXIL
汚物処理装置
2日前
株式会社LIXIL
宅配ボックス
3日前
株式会社LIXIL
日除けシート
6日前
株式会社LIXIL
太陽電池ガラス
6日前
株式会社LIXIL
洗浄水タンク装置
2日前
株式会社LIXIL
可燃性ガス回収装置
2日前
株式会社LIXIL
窓用ステー及び開き窓
3日前
株式会社LIXIL
窓用ステー及び開き窓
3日前
株式会社LIXIL
建具および建具の改装方法
2日前
株式会社LIXIL
建具および建具の改装方法
2日前
株式会社LIXIL
建具および建具の改装方法
3日前
株式会社LIXIL
建具および建具の改装方法
3日前
株式会社LIXIL
建具および建具の改装方法
2日前
株式会社LIXIL
改装建具及び建具の防火構造
10日前
株式会社LIXIL
トイレ装置及びトイレシステム
2日前
株式会社LIXIL
床タイル及び床タイルの製造方法
3日前
株式会社LIXIL
障子、建具、及び障子の施工方法
3日前
株式会社LIXIL
障子、建具、及び障子の施工方法
3日前
株式会社LIXIL
シャワーヘッド装置及び浴室ユニット
4日前
株式会社LIXIL
宅配ボックス及び宅配ボックスの設置方法
3日前
株式会社LIXIL
トイレ装置、トイレシステム及び排卵推測装置
2日前
株式会社LIXIL
太陽光発電給電シート、建物およびペリカバー
2日前
株式会社LIXIL
洗浄ハンドルユニット、洗浄タンクユニット及び便器装置
3日前
株式会社LIXIL
駆逐装置、駆逐システム、駆逐方法および駆逐プログラム
2日前
株式会社LIXIL
改装サッシ
2日前
続きを見る
他の特許を見る