TOP
|
特許
|
意匠
|
商標
特許ウォッチ
Twitter
他の特許を見る
公開番号
2025144195
公報種別
公開特許公報(A)
公開日
2025-10-02
出願番号
2024043859
出願日
2024-03-19
発明の名称
建具
出願人
株式会社LIXIL
代理人
個人
,
個人
,
個人
主分類
E06B
7/22 20060101AFI20250925BHJP(戸,窓,シャッタまたはローラブラインド一般;はしご)
要約
【課題】水密性能を高めつつ、雨水の浸入を抑制することができる建具を提供する。
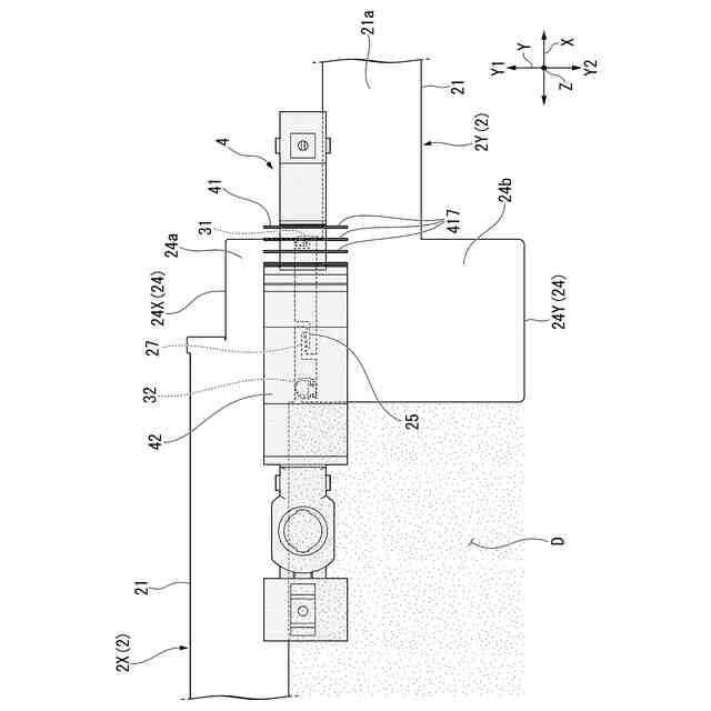
【解決手段】建具は、枠体と、枠体の内側に配置され、左右方向に移動して開閉可能とされた内障子2Y及び外障子2Xと、枠体の上枠11に設けられた風止め部材4と、を備え、風止め部材4は、上枠11と内障子2Yの上部及び外障子2Xの上部との隙間からの雨水の浸入を抑制する雨水抑制部41と、内障子2Y及び外障子2Xが閉じた状態で雨水抑制部41よりも屋内側の領域Bに配置され、上枠11と内障子2Yの上部及び外障子2Xの上部との隙間の封止する気密部42と、を有する。
【選択図】図4
特許請求の範囲
【請求項1】
枠体と、
前記枠体の内側に配置され、左右方向に移動して開閉可能とされた内障子及び外障子と、
前記枠体の上枠に設けられた風止め部材と、を備え、
前記風止め部材は、
前記上枠と前記内障子の上部及び前記外障子の上部との隙間からの雨水の浸入を抑制する雨水抑制部と、
前記内障子及び前記外障子が閉じた状態で前記雨水抑制部よりも屋内側の領域に配置され、前記上枠と前記内障子の上部及び前記外障子の上部との隙間の封止する気密部と、を有する建具。
続きを表示(約 350 文字)
【請求項2】
前記雨水抑制部は、
左右方向に間隔を空けて複数配置されるヒレ部と有し、
前記ヒレ部の下端部は、前記内障子の上面及び前記外障子の上面に当たる請求項1に記載の建具。
【請求項3】
前記気密部は、
下面が水平方向に沿う水平面部を有し、
前記水平面部は、前記内障子の上面及び前記外障子の上面に当たる請求項1または2に記載の建具。
【請求項4】
前記ヒレ部は、軟質樹脂で形成されている請求項2に記載の建具。
【請求項5】
前記気密部は、硬質樹脂で形成されている請求項1または2に記載の建具。
【請求項6】
前記雨水抑制部と前記気密部とは、別部材で構成されている請求項1または2に記載の建具。
発明の詳細な説明
【技術分野】
【0001】
本開示は、建具に関するものである。
続きを表示(約 1,200 文字)
【背景技術】
【0002】
従来から、下記の特許文献1のように、引違い窓等の建具では、上枠に風止め板を設置して、上枠と障子の上部との間から風雨が屋内に浸入するのを抑制する構成が知られている。
【先行技術文献】
【特許文献】
【0003】
特開平11-280354号公報
【発明の概要】
【発明が解決しようとする課題】
【0004】
特許文献1の建具では、風止め板に設けられた複数のヒレ部の下端部が障子の上面に当たる構成であり、十分な水密性能を確保できないという問題点がある。
【0005】
本開示は、上記事情に鑑みてなされたものであり、水密性能を高めつつ、雨水の浸入を抑制することができる建具を提供する。
【課題を解決するための手段】
【0006】
本開示の一態様に係る建具は、枠体と、前記枠体の内側に配置され、左右方向に移動して開閉可能とされた内障子及び外障子と、前記枠体の上枠に設けられた風止め部材と、を備え、前記風止め部材は、前記上枠と前記障子の上部との隙間からの雨水の浸入を抑制する雨水抑制部と、前記内障子及び前記外障子が閉じた状態で前記雨水抑制部よりも屋内側の領域に配置され、前記上枠と前記障子の上部との隙間の封止する気密部と、を有する。
【図面の簡単な説明】
【0007】
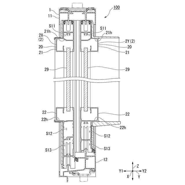
本実施形態に係る建具の鉛直断面図である。
本実施形態に係る建具の水平断面図である。
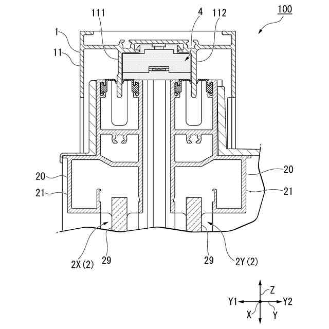
本実施形態に係る建具の上部の鉛直断面図である。
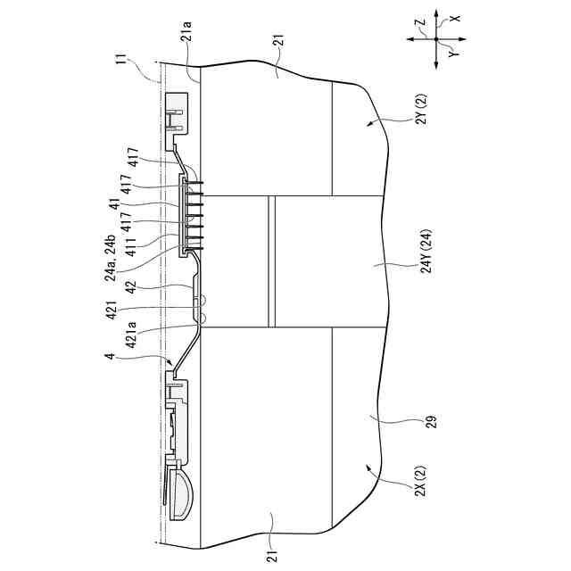
屋内側から建具の上部を見た図である。
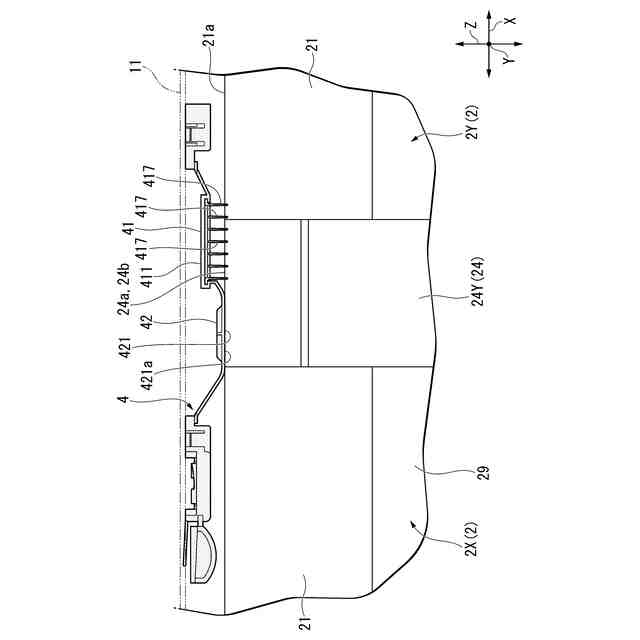
風止め部材の配置を示す図である。
【発明を実施するための形態】
【0008】
以下、本実施形態に係る建具について、図面に基づいて説明する。以下の実施形態は、本開示の一態様を示すものであり、本開示を限定するものではなく、本開示の技術的思想の範囲内で任意に変更可能である。以下の図面においては、各構成を分かりやすくするために、実際の構造と各構造における縮尺等を異ならせている。
【0009】
以下の説明では、屋外側と屋内側とを結び水平方向に沿う方向を、屋内外方向Yと称する。屋内外方向Yと直交し水平方向に沿う方向を、左右方向Xと称する。屋内外方向Y及び左右方向Xと直交する方向を、上下方向Zと称する。屋内外方向Yのうち、屋外側を屋外側Y1と示し、屋内側を屋内側Y2と示す。各構成部材において、左右方向Xのうち左右方向Xで各障子2の中心から離れる側を外側と称し、各障子2の中心に向かう側を内側と称する場合がある。
【0010】
建物の開口部に設けられる建具の一例として、引違い窓を用いて説明する。図1及び図2に示すように、引違い窓100は、枠体1と、一対の障子2,2と、を備えている。
(【0011】以降は省略されています)
この特許をJ-PlatPat(特許庁公式サイト)で参照する
関連特許
株式会社LIXIL
建具
6日前
株式会社LIXIL
建具
9日前
株式会社LIXIL
建具
6日前
株式会社LIXIL
建具
6日前
株式会社LIXIL
建具
6日前
株式会社LIXIL
建具
6日前
株式会社LIXIL
建具
6日前
株式会社LIXIL
建具
5日前
株式会社LIXIL
建具
9日前
株式会社LIXIL
建具
19日前
株式会社LIXIL
建具
19日前
株式会社LIXIL
建具
19日前
株式会社LIXIL
建具
19日前
株式会社LIXIL
便器装置
7日前
株式会社LIXIL
シリンダ錠
1日前
株式会社LIXIL
日除けシート
9日前
株式会社LIXIL
宅配ボックス
6日前
株式会社LIXIL
汚物処理装置
5日前
株式会社LIXIL
太陽電池ガラス
9日前
株式会社LIXIL
洗浄水タンク装置
5日前
株式会社LIXIL
可燃性ガス回収装置
5日前
株式会社LIXIL
窓用ステー及び開き窓
6日前
株式会社LIXIL
窓用ステー及び開き窓
6日前
株式会社LIXIL
建具及び建具の改修方法
20日前
株式会社LIXIL
建具および建具の改装方法
5日前
株式会社LIXIL
建具および建具の改装方法
6日前
株式会社LIXIL
建具および建具の改装方法
5日前
株式会社LIXIL
建具および建具の改装方法
5日前
株式会社LIXIL
建具および建具の改装方法
6日前
株式会社LIXIL
改装建具及び建具の防火構造
13日前
株式会社LIXIL
シリンダ錠及び建物設備機器群
1日前
株式会社LIXIL
トイレ装置及びトイレシステム
5日前
株式会社LIXIL
床タイル及び床タイルの製造方法
6日前
株式会社LIXIL
障子、建具、及び障子の施工方法
6日前
株式会社LIXIL
障子、建具、及び障子の施工方法
6日前
株式会社LIXIL
シャワーヘッド装置及び浴室ユニット
7日前
続きを見る
他の特許を見る