TOP
|
特許
|
意匠
|
商標
特許ウォッチ
Twitter
他の特許を見る
10個以上の画像は省略されています。
公開番号
2025140062
公報種別
公開特許公報(A)
公開日
2025-09-29
出願番号
2024039223
出願日
2024-03-13
発明の名称
ボビン、熱転写シートリボン及び熱転写印画装置
出願人
大日本印刷株式会社
代理人
個人
,
個人
主分類
B41J
17/24 20060101AFI20250919BHJP(印刷;線画機;タイプライター;スタンプ)
要約
【課題】熱転写印画装置で熱転写シートやボビンについての情報を判別可能とするボビン及び熱転写シートリボンを提供する。
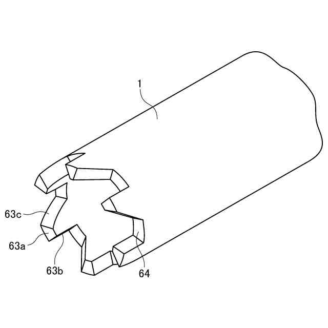
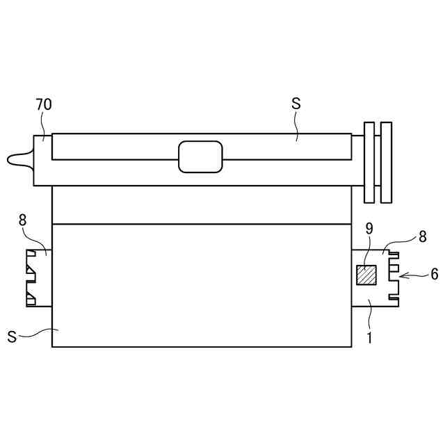
【解決手段】熱転写シートSが巻回されるボビン1は円筒状であり、一端側に、光を通過させる透光部が形成され、他端側に、複数の歯63を含むギア62が形成され、一端側又は他端側の外周面に二次元コード9が設けられている。透光部は、切欠部6又は開口7である。二次元コード9は、ボビン外周面のうち、熱転写シートSで被覆されない露出部8に設けられている。
【選択図】図1
特許請求の範囲
【請求項1】
熱転写シートが巻回される円筒状のボビンであって、
前記ボビンの一端側に、光を通過させる透光部が形成され、
前記ボビンの他端側に、複数の歯を含むギアが形成され、
前記ボビンの一端側又は他端側の外周面にコード部が設けられている、ボビン。
続きを表示(約 1,100 文字)
【請求項2】
前記透光部は切欠部又は開口である、請求項1に記載のボビン。
【請求項3】
熱転写シートが巻回される円筒状のボビンであって、
前記ボビンの一端側の外周面に凹部が形成され、
前記ボビンの他端側に、複数の歯を含むギアが形成され、
前記ボビンの一端側又は他端側の外周面にコード部が設けられている、ボビン。
【請求項4】
前記凹部の底面と、前記凹部以外の前記ボビンの外周面は、光反射率が異なる、請求項3に記載のボビン。
【請求項5】
請求項1又は2に記載のボビンと、
前記ボビンに巻回された熱転写シートと、
を備え、
前記コード部は、前記外周面のうち、前記熱転写シートで被覆されない露出部に設けられている、熱転写シートリボン。
【請求項6】
サーマルヘッド及びプラテンロールを有し、
請求項5に記載の熱転写シートリボンから引き出された熱転写シートと、受像シートとを重ね合わせて、前記サーマルヘッドと前記プラテンロールとの間を搬送させるとともに、前記サーマルヘッドが前記熱転写シートを加熱して色材を転写して画像を印画する熱転写印画装置であって、
前記ボビンの前記コード部を読み取る第1センサと、
前記ボビンに光を投射し、前記透光部を通過した光を受光する第2センサと、
前記第1センサの読み取り結果から前記熱転写シートの品種を判別し、前記第2センサのセンサ出力から前記ボビンの情報を判別する判別部と、
を備える熱転写印画装置。
【請求項7】
請求項3又は4に記載のボビンと、
前記ボビンに巻回された熱転写シートと、
を備え、
前記コード部は、前記外周面のうち、前記熱転写シートで被覆されない露出部に設けられている、熱転写シートリボン。
【請求項8】
サーマルヘッド及びプラテンロールを有し、
請求項7に記載の熱転写シートリボンから引き出された熱転写シートと、受像シートとを重ね合わせて、前記サーマルヘッドと前記プラテンロールとの間を搬送させるとともに、前記サーマルヘッドが前記熱転写シートを加熱して色材を転写して画像を印画する熱転写印画装置であって、
前記ボビンの前記コード部を読み取る第1センサと、
前記凹部を含む前記ボビンの外周面に光を投射し、反射光を受光する第2センサと、
前記第1センサの読み取り結果から前記熱転写シートの品種を判別し、前記第2センサのセンサ出力から前記ボビンの情報を判別する判別部と、
を備える熱転写印画装置。
発明の詳細な説明
【技術分野】
【0001】
本開示は、熱転写シートが巻回されるボビンと、このボビンに熱転写シートを巻回したリボンと、この熱転写シートリボンを判別して印画処理を行う熱転写印画装置に関する。
続きを表示(約 1,400 文字)
【背景技術】
【0002】
熱転写印画装置にあっては、昇華転写用染料を記録材とし、これをポリエステルフィルム等の基材上に適当なバインダーで担持させた染料層を有する熱転写シート(昇華型熱転写シート)から、紙やプラスチックフィルム等に染料受容層を形成した受像シート上に昇華染料を熱転写し、各種のフルカラー画像を形成する。
【0003】
近年、熱転写記録技術の進歩により、熱転写シートは、その種類が多岐にわたるようになっており、これらの多種類の熱転写シートを一機種の熱転写印画装置で使用する場合が増えている。所望の印画性能や耐久性を得るために、熱転写シートの品種を判別し、品種に応じて熱転写シートの加熱エネルギーを制御する必要がある。
【0004】
特許文献1には、熱転写シートを巻き付けたボビンの端部に、熱転写シートの種類を特定するためのRFIDを内蔵したフランジ部を装着する構成が開示されている。しかし、ボビンとは別体のフランジ部やRFIDを準備し、取り付ける必要があり、製造コストが増加していた。
【0005】
また、近年、資源保護対策として、ボビンのリサイクルが検討されている。使用後のボビンを回収し、再利用する場合、使用回数の増加に伴い、ボビンの強度が低下する。そのため、リサイクル回数等のボビンに関する情報を判別できるようにすることが求められている。
【先行技術文献】
【特許文献】
【0006】
特許第6265377号公報
【発明の概要】
【発明が解決しようとする課題】
【0007】
本開示は、上記従来の実状に鑑みてなされたものであり、熱転写印画装置で熱転写シートやボビンについての情報を判別可能とするボビン及び熱転写シートリボンを提供することを課題とする。また、本開示は、装填された熱転写シートリボンを判別して印画処理を行う熱転写印画装置を提供することを課題とする。
【課題を解決するための手段】
【0008】
本開示のボビンは、熱転写シートが巻回される円筒状のボビンであって、前記ボビンの一端側に、光を通過させる透光部が形成され、前記ボビンの他端側に、複数の歯を含むギアが形成され、前記ボビンの一端側又は他端側の外周面にコード部が設けられているものである。
【0009】
本開示の熱転写シートリボンは、上記ボビンと、このボビンに巻回された熱転写シートとを備え、前記コード部は、前記外周面のうち、前記熱転写シートで被覆されない露出部に設けられているものである。
【0010】
本開示の熱転写印画装置は、サーマルヘッド及びプラテンロールを有し、上記熱転写シートリボンから引き出された熱転写シートと、受像シートとを重ね合わせて、前記サーマルヘッドと前記プラテンロールとの間を搬送させるとともに、前記サーマルヘッドが前記熱転写シートを加熱して色材を転写して画像を印画する熱転写印画装置であって、前記ボビンの前記コード部を読み取る第1センサと、前記ボビンに光を投射し、前記透光部を通過した光を受光する第2センサと、前記第1センサの読み取り結果から前記熱転写シートの品種を判別し、前記第2センサのセンサ出力から前記ボビンの情報を判別する判別部と、を備えるものである。
【発明の効果】
(【0011】以降は省略されています)
この特許をJ-PlatPat(特許庁公式サイト)で参照する
関連特許
大日本印刷株式会社
額縁
20日前
大日本印刷株式会社
移動体
11日前
大日本印刷株式会社
移動体
11日前
大日本印刷株式会社
写真撮影装置
12日前
大日本印刷株式会社
反射型マスク
1か月前
大日本印刷株式会社
熱転写システム
21日前
大日本印刷株式会社
熱転写システム
21日前
大日本印刷株式会社
発電モジュール
1日前
大日本印刷株式会社
積層体および包装容器
1日前
大日本印刷株式会社
積層体および包装容器
1日前
大日本印刷株式会社
積層体および包装容器
1日前
大日本印刷株式会社
積層体および包装容器
1日前
大日本印刷株式会社
包装装置および包装方法
13日前
大日本印刷株式会社
成形品及びプリフォーム
1か月前
大日本印刷株式会社
レンズアレイ及び表示装置
21日前
大日本印刷株式会社
シール型熱転写受像シート
19日前
大日本印刷株式会社
シール型熱転写受像シート
19日前
大日本印刷株式会社
シール型熱転写受像シート
19日前
大日本印刷株式会社
情報処理装置及びプログラム
1日前
大日本印刷株式会社
交換部材及び情報取得システム
1か月前
大日本印刷株式会社
撮影システム及び画像提供方法
1か月前
大日本印刷株式会社
リードフレーム及びその製造方法
13日前
大日本印刷株式会社
類似文書検索装置及びプログラム
20日前
大日本印刷株式会社
リードフレーム及びその製造方法
13日前
大日本印刷株式会社
熱転写シートおよび中間転写媒体
19日前
大日本印刷株式会社
フィルム、積層体および包装容器
1か月前
大日本印刷株式会社
ポリエステルフィルム及び積層体
11日前
大日本印刷株式会社
再封機能を有する蓋付き紙カップ
29日前
大日本印刷株式会社
フィルム、積層体および包装容器
1か月前
大日本印刷株式会社
フィルム、積層体および包装容器
1か月前
大日本印刷株式会社
フィルム、積層体および包装容器
1か月前
大日本印刷株式会社
クランプ装置及びウェブ搬送装置
1日前
大日本印刷株式会社
光学部材、ヘッドマウントディスプレイ
20日前
大日本印刷株式会社
電子部品包装用カバーテープおよび包装体
28日前
大日本印刷株式会社
サーバ装置、動画配信方法及びプログラム
1日前
大日本印刷株式会社
バリア性フィルム、積層体および包装容器
1日前
続きを見る
他の特許を見る