TOP
|
特許
|
意匠
|
商標
特許ウォッチ
Twitter
他の特許を見る
10個以上の画像は省略されています。
公開番号
2025120830
公報種別
公開特許公報(A)
公開日
2025-08-18
出願番号
2024015953
出願日
2024-02-05
発明の名称
部品内蔵基板及び部品内蔵基板の製造方法
出願人
イビデン株式会社
代理人
弁理士法人朝日奈特許事務所
主分類
H05K
3/46 20060101AFI20250808BHJP(他に分類されない電気技術)
要約
【課題】部品内蔵基板の品質向上。
【解決手段】実施形態の部品内蔵基板100は、第1面210を有する第1絶縁層21と、第1面210上に形成されていて部品搭載パッド1を含んでいる導体層11と、第1面210及び導体層11の上に積層されていて、部品搭載パッド1を露出させる貫通孔8を有する第2絶縁層22と、貫通孔8内に収容されていて部品搭載パッド1に配置されている部品5と、を備えている。部品5は、電極51を備える表面の反対面である底面5aを部品搭載パッド1に固定されており、平面視で部品搭載パッド1の面積は、部品5の底面5aの面積よりも小さい。
【選択図】図2
特許請求の範囲
【請求項1】
第1面を有する第1絶縁層と、
前記第1面上に形成されていて部品搭載パッドを含んでいる導体層と、
前記第1面及び前記導体層の上に積層されていて、前記部品搭載パッドを露出させる貫通孔を有する第2絶縁層と、
前記貫通孔内に収容されていて前記部品搭載パッドに配置されている部品と、
を備える部品内蔵基板であって、
前記部品は、電極を備える表面の反対面である底面を前記部品搭載パッドに固定されており、
平面視で前記部品搭載パッドの面積は、前記部品の前記底面の面積よりも小さい。
続きを表示(約 1,200 文字)
【請求項2】
請求項1記載の部品内蔵基板であって、平面視で前記部品搭載パッド全体が前記部品の内側に収まっている。
【請求項3】
請求項1記載の部品内蔵基板であって、
前記部品搭載パッド及び前記部品の前記底面は矩形の形状を有し、
平面視で、前記部品搭載パッドの角部と、前記部品の角部のうちの前記部品搭載パッドの前記角部に最も近接する角部との距離は、0.25mm以上、1.5mm以下である。
【請求項4】
請求項1記載の部品内蔵基板であって、さらに、前記部品を覆う第3絶縁層を備えており、
前記部品搭載パッドの周囲の前記部品と前記第1絶縁層の前記第1面との隙間が、前記第3絶縁層の構成材料で充填されている。
【請求項5】
請求項4記載の部品内蔵基板であって、さらに、前記第2絶縁層と前記第3絶縁層との間に積層されている第4絶縁層を備えており、
前記貫通孔は前記第2絶縁層と前記第4絶縁層とを一括して貫通し、
前記第3絶縁層は導体層を介さずに前記第4絶縁層の上に積層されている。
【請求項6】
請求項1記載の部品内蔵基板であって、前記導体層は、前記部品搭載パッドを囲む枠状の導体パターンを含んでおり、
前記部品の前記底面の面積は、前記枠状の導体パターンで囲まれる領域の面積よりも小さい。
【請求項7】
請求項6記載の部品内蔵基板であって、前記部品は、平面視で、前記枠状の導体パターンで囲まれる領域の内側に収まっている。
【請求項8】
請求項6記載の部品内蔵基板であって、前記枠状の導体パターンの外縁が、前記第2絶縁層に覆われている。
【請求項9】
請求項1記載の部品内蔵基板であって、前記部品は、単一の前記部品搭載パッドに配置されている。
【請求項10】
第1面を有する第1絶縁層を用意することと、
導体パッドを含む導体層を前記第1面上に形成することと、
前記第1絶縁層及び前記導体層の上に前記導体パッドを覆う第2絶縁層を形成することと、
前記導体パッドを露出させる貫通孔を含む部品収容部を設けることと、
前記部品収容部の中に部品を配置することと、
前記部品を覆うと共に前記貫通孔を充填する第3絶縁層を形成することと、
を含んでいる、部品内蔵基板の製造方法であって、
前記部品収容部を設けることは、
所定の加工手段を用いて前記第2絶縁層に前記貫通孔を形成することと、
前記導体パッドをパターニングすることによって、前記部品の底面の面積よりも平面視で小さい面積を有する部品搭載パッドを形成することと、を含んでいる。
(【請求項11】以降は省略されています)
発明の詳細な説明
【技術分野】
【0001】
本発明は、部品内蔵基板及び部品内蔵基板の製造方法に関する。
続きを表示(約 2,500 文字)
【背景技術】
【0002】
特許文献1には、部品内蔵用キャビティ内に電子部品を内蔵している電子部品内蔵配線板が開示されている。電子部品は、キャビティの底面全体を構成するプレーン層に接着層を介してマウントされている。
【先行技術文献】
【特許文献】
【0003】
特開2016-39214号公報
【発明の概要】
【発明が解決しようとする課題】
【0004】
特許文献1に開示の電子部品内蔵配線板では、温度変化時の電子部品とプレーン層との間の伸縮量の違いにより生じる応力によって電子部品にストレスが加わり、電子部品にクラックなどの不具合が生じることがある。
【課題を解決するための手段】
【0005】
本発明の部品内蔵基板は、第1面を有する第1絶縁層と、前記第1面上に形成されていて部品搭載パッドを含んでいる導体層と、前記第1面及び前記導体層の上に積層されていて、前記部品搭載パッドを露出させる貫通孔を有する第2絶縁層と、前記貫通孔内に収容されていて前記部品搭載パッドに配置されている部品と、を備えている。そして、前記部品は、電極を備える表面の反対面である底面を前記部品搭載パッドに固定されており、平面視で前記部品搭載パッドの面積は、前記部品の前記底面の面積よりも小さい。
【0006】
本発明の部品内蔵基板の製造方法は、第1面を有する第1絶縁層を用意することと、導体パッドを含む導体層を前記第1面上に形成することと、前記第1絶縁層及び前記導体層の上に前記導体パッドを覆う第2絶縁層を形成することと、前記導体パッドを露出させる貫通孔を含む部品収容部を設けることと、前記部品収容部の中に部品を配置することと、前記部品を覆うと共に前記貫通孔を充填する第3絶縁層を形成することと、を含んでいる。そして、前記部品収容部を設けることは、所定の加工手段を用いて前記第2絶縁層に前記貫通孔を形成することと、前記導体パッドをパターニングすることによって、前記部品の底面の面積よりも平面視で小さい面積を有する部品搭載パッドを形成することと、を含んでいる。
【0007】
本発明の実施形態によれば、部品内蔵基板の内蔵部品へのストレスが軽減されて不具合が抑制されると考えられる。
【図面の簡単な説明】
【0008】
本発明の第1実施形態の部品内蔵基板の一例を示す断面図。
図1のII部の拡大図。
図1の部品内蔵基板の貫通孔及びその周辺部分を示す平面図。
図3に示される部品搭載パッドの変形例を示す平面図。
図3に示される部品搭載パッドの変形例を示す平面図。
図3に示される部品搭載パッドの変形例を示す平面図。
図3に示される部品搭載パッドの変形例を示す平面図。
図3に示される部品搭載パッドの変形例を示す平面図。
本発明の実施形態の部品内蔵基板の製造方法の一例を示す断面図。
本発明の実施形態の部品内蔵基板の製造方法の一例を示す断面図。
本発明の実施形態の部品内蔵基板の製造方法の一例を示す断面図。
本発明の実施形態の部品内蔵基板の製造方法の一例を拡大して示す断面図。
本発明の実施形態の部品内蔵基板の製造方法の一例を示す平面図。
本発明の実施形態の部品内蔵基板の製造方法の一例を拡大して示す断面図。
本発明の実施形態の部品内蔵基板の製造方法の一例を示す平面図。
本発明の実施形態の部品内蔵基板の製造方法の一例を拡大して示す断面図。
本発明の実施形態の部品内蔵基板の製造方法の一例を示す断面図。
本発明の実施形態の部品内蔵基板の製造方法の一例を示す断面図。
本発明の第2実施形態の部品内蔵基板の一例を示す断面図。
本発明の第3実施形態の部品内蔵基板の一例を示す断面図。
【発明を実施するための形態】
【0009】
<実施形態の部品内蔵基板>
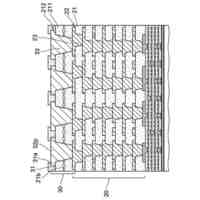
本発明の一実施形態(第1実施形態)の部品内蔵基板が図面を参照しながら説明される。図1には、本実施形態の部品内蔵基板の一例である部品内蔵基板100の断面図が示されており、図2は、図1のII部の拡大図を示している。図3には、図1の部品内蔵基板100における貫通孔8及びその周辺部の平面図が示されている。なお、図1~図3に例示される部品内蔵基板100は実施形態の部品内蔵基板の一例に過ぎない。実施形態の部品内蔵基板の積層構造は、部品内蔵基板100の積層構造に限定されず、実施形態の部品内蔵基板の導体層及び絶縁層それぞれの数は、部品内蔵基板100に含まれる導体層及び絶縁層それぞれの数に限定されない。すなわち、実施形態の部品内蔵基板は、部品内蔵基板100が有する絶縁層及び導体層に加えて、任意の数の絶縁層及び導体層を含んでもよく、部品内蔵基板100が有する絶縁層及び導体層の全てを含まないこともある。なお、以下の説明で参照される各図面では、開示される実施形態が理解され易いように特定の部分が拡大して描かれていることがある。従って、各構成要素が、大きさや長さに関して互いの間の正確な比率で描かれていない場合がある。
【0010】
図1に示されるように、部品内蔵基板100は、コア基板3と、コア基板3におけるその厚さ方向において対向する2つの主面(表面3a及び表面3b)それぞれの上に交互に積層されている絶縁層及び導体層とを含んでいる。コア基板3は、絶縁層32と、絶縁層32の両面それぞれの上に形成されている導体層31とを含んでいる。コア基板3は、さらに、絶縁層32を貫通して絶縁層32の両面の導体層31同士を接続する筒状のスルーホール導体33を含んでいる。筒状のスルーホール導体33の中空部は、一例としてエポキシ樹脂などによって構成される充填材33aで充填されている。
(【0011】以降は省略されています)
この特許をJ-PlatPat(特許庁公式サイト)で参照する
関連特許
イビデン株式会社
配線基板
1か月前
イビデン株式会社
配線基板
3日前
イビデン株式会社
配線基板
1か月前
イビデン株式会社
配線基板
1か月前
イビデン株式会社
配線基板
17日前
イビデン株式会社
部品内蔵配線板
24日前
イビデン株式会社
プリント配線板
23日前
イビデン株式会社
プリント配線板
15日前
イビデン株式会社
ハニカムフィルタ
2日前
イビデン株式会社
配線基板の製造方法
1日前
イビデン株式会社
配線基板の製造方法
1日前
イビデン株式会社
配線基板の製造方法
1日前
イビデン株式会社
配線基板の製造方法
1日前
イビデン株式会社
配線基板の製造方法
1日前
イビデン株式会社
配線基板の製造方法
1か月前
イビデン株式会社
配線基板の製造方法
1か月前
イビデン株式会社
プリント配線板の製造方法
15日前
イビデン株式会社
配線基板及びその製造方法
5日前
イビデン株式会社
配線基板及びその製造方法
1か月前
イビデン株式会社
配線基板及びその製造方法
5日前
イビデン株式会社
部品内蔵配線基板の製造方法
1か月前
イビデン株式会社
熱伝達抑制シート及び組電池
1日前
イビデン株式会社
熱伝達抑制シート及び組電池
25日前
イビデン株式会社
熱伝達抑制シート及び組電池
1か月前
イビデン株式会社
光導波路及び導波路搭載基板
2日前
イビデン株式会社
プリント配線板およびその製造方法
5日前
イビデン株式会社
配線基板および配線基板の製造方法
5日前
イビデン株式会社
ハニカム構造体及び直接空気回収装置
25日前
イビデン株式会社
部品内蔵基板及び部品内蔵基板の製造方法
1か月前
イビデン株式会社
配線基板用の無人搬送車および無人搬送方法
2か月前
イビデン株式会社
防炎シート及びその製造方法、並びに組電池
15日前
イビデン株式会社
防炎シート及びその製造方法、並びに組電池
15日前
イビデン株式会社
防炎シート及びその製造方法、並びに組電池
15日前
イビデン株式会社
部品内蔵配線板及び部品内蔵配線板の製造方法
2か月前
イビデン株式会社
熱伝達抑制シート及びその製造方法、並びに組電池
1か月前
イビデン株式会社
熱伝達抑制シート及びその製造方法、並びに組電池
1か月前
続きを見る
他の特許を見る