TOP
|
特許
|
意匠
|
商標
特許ウォッチ
Twitter
他の特許を見る
10個以上の画像は省略されています。
公開番号
2025145418
公報種別
公開特許公報(A)
公開日
2025-10-03
出願番号
2024045592
出願日
2024-03-21
発明の名称
熱交換器及び熱交換器製造方法
出願人
株式会社豊田中央研究所
代理人
弁理士法人太陽国際特許事務所
主分類
F28D
7/10 20060101AFI20250926BHJP(熱交換一般)
要約
【課題】筒体と伝熱壁との位置ズレによる熱交換器の品質低下を抑制する。
【解決手段】熱交換器は、内筒と外筒とを備え、内筒と外筒の間に空隙が構成されている筒体と、内筒の内部で内筒の軸方向に延在され内筒に接合されている伝熱壁と、外筒と伝熱壁、及び内筒と伝熱壁と、を軸方向の間隙をあけて係止する係止部材と、外筒と伝熱壁、及び内筒と伝熱壁と、を接合するろう材と、を有する。
【選択図】図9
特許請求の範囲
【請求項1】
内筒と外筒とを備え、前記内筒と前記外筒の間に空隙が構成されている筒体と、
前記内筒の内部で前記内筒の軸方向に延在され前記内筒に接合されている伝熱壁と、
前記外筒と前記伝熱壁、及び前記内筒と前記伝熱壁と、を前記軸方向の間隙をあけて係止する係止部材と、
前記外筒と前記伝熱壁、及び前記内筒と前記伝熱壁と、を接合するろう材と、
を有する熱交換器。
続きを表示(約 1,000 文字)
【請求項2】
前記伝熱壁は、
前記軸方向と直交する第一方向にも延在され、互いに平行な複数の第一壁と、
前記軸方向及び前記第一方向と直交する第二方向に延在され、互いに平行で前記第一壁と交差部で交差する複数の第二壁と、
を含む請求項1に記載の熱交換器。
【請求項3】
前記ろう材は、前記第一壁と前記第二壁とを前記交差部で接合している請求項2に記載の熱交換器。
【請求項4】
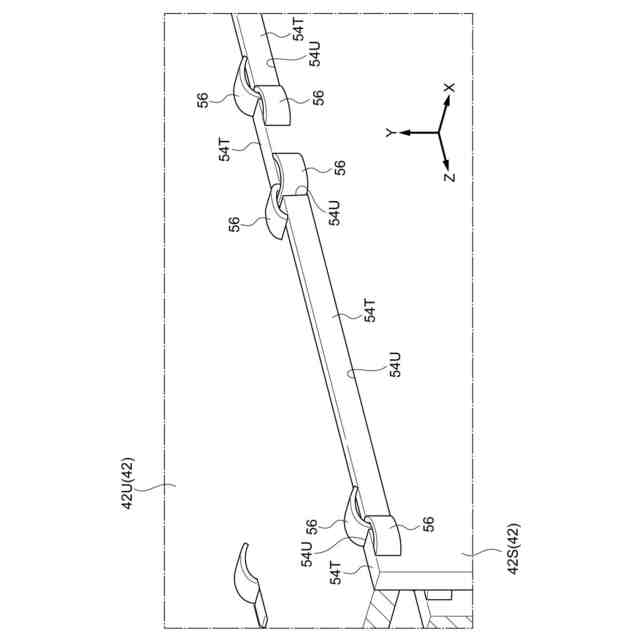
前記係止部材は、
前記外筒及び前記内筒と、前記伝熱壁と、のいずれか一方に形成される係止凹部と、
前記外筒及び前記内筒と、前記伝熱壁と、の他方に形成され前記係止凹部に前記間隙をあけて嵌合される係止凸部と、
を含む請求項3に記載の熱交換器。
【請求項5】
前記係止部材は、前記係止凸部から突出され、突出端側で前記外筒又は前記内筒を、前記係止凸部が形成されている前記外筒、前記内筒及び前記伝熱壁との間で挟持する挟持部材を含む請求項4に記載の熱交換器。
【請求項6】
前記挟持部材は、前記係止凸部からの突出部分が曲げられて前記外筒及び前記内筒と、前記伝熱壁と、の一方に接触する挟持爪である請求項5に記載の熱交換器。
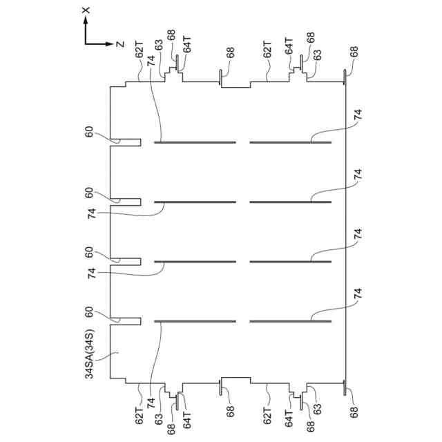
【請求項7】
前記外筒、前記内筒及び前記交差部において、前記ろう材の下方に形成されているスリット、を有する請求項2に記載の熱交換器。
【請求項8】
前記ろう材が前記スリットを閉じている請求項7に記載の熱交換器。
【請求項9】
内筒と外筒とを備え、前記内筒と前記外筒の間に空隙が構成されている筒体に対し、
前記内筒の内部に前記内筒の軸方向に延在される伝熱壁を配置し、
前記外筒と前記伝熱壁、及び前記内筒と前記伝熱壁、を前記軸方向の間隙をあけて係止部材で係止させ、
前記外筒と前記伝熱壁、及び前記内筒と前記伝熱壁、をろう材により接合する、
熱交換器製造方法。
【請求項10】
前記伝熱壁は、
前記軸方向と直交する第一方向にも延在され、互いに平行な複数の第一壁と、
前記軸方向及び前記第一方向と直交する第二方向に延在され、互いに平行で前記第一壁と交差部で交差する複数の第二壁と、を含んでおり、
前記交差部において前記第一壁と前記第二壁とを前記ろう材で接合する、請求項9に記載の熱交換器製造方法。
発明の詳細な説明
【技術分野】
【0001】
本開示は、熱交換器及び熱交換器製造方法に関する。
続きを表示(約 1,200 文字)
【背景技術】
【0002】
特許文献1には、シェル本体の内部に伝熱用チューブが設けられ、伝熱用チューブの内部を第1流体が流れ、シェル本体の内部を第2流体が流れる熱交換器が記載されている。
【0003】
特許文献2には、扁平パイプの一端開口部の長辺の縁部で、側壁と扁平パイプと隣接する扁平パイプ隣接側壁とをかしめ固定するよう側壁から扁平パイプの軸線方向に突出する突出片が形成された熱交換器が記載されている。
【先行技術文献】
【特許文献】
【0004】
特開2023-75838号公報
特開2013-148319号公報
【発明の概要】
【発明が解決しようとする課題】
【0005】
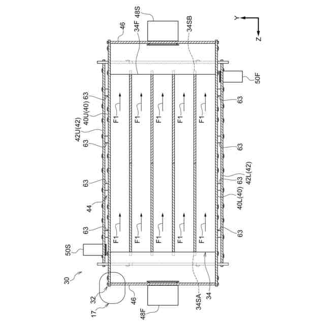
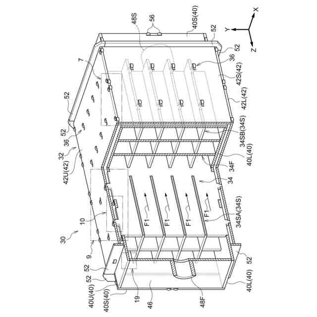
筒体の内部に、この筒体から伝熱する伝熱壁を設けた熱交換器では、たとえば、筒体と伝熱壁とをろう材を用いたろう付けにより接合するようにすれば、熱交換器の全体を炉内で加熱することで、筒体と伝熱壁とを効率的に接合できる。
【0006】
筒体と断熱壁とのろう付けには、ろう付け前に筒体と断熱壁との仮固定を行う。この場合、筒体と断熱壁との熱膨張に時間差があると、ろう付け時の加熱により、筒体と断熱壁との相対的な位置ズレが生じる。
【0007】
本開示の目的は、筒体と伝熱壁との位置ズレによる熱交換器の品質低下を抑制することである。
【課題を解決するための手段】
【0008】
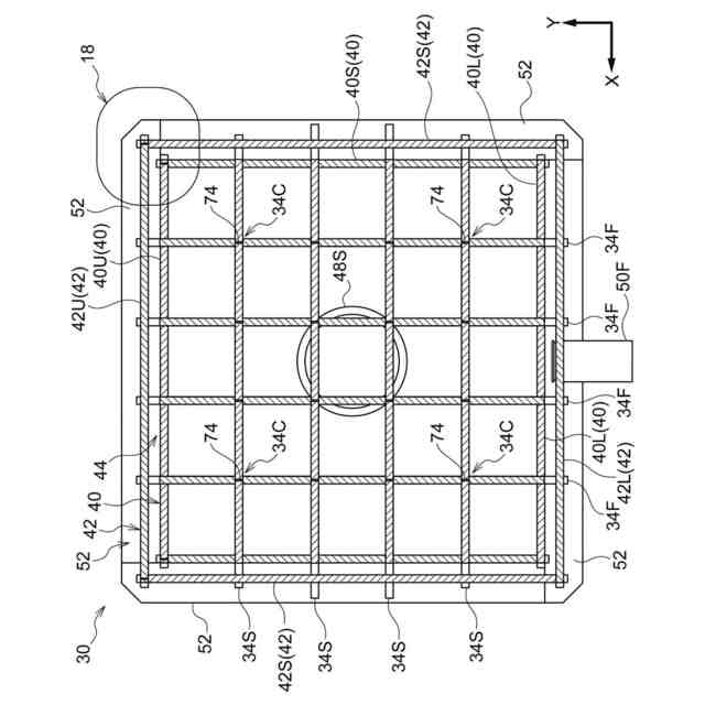
第一態様の熱交換器は、内筒と外筒とを備え、前記内筒と前記外筒の間に空隙が構成されている筒体と、前記内筒の内部で前記内筒の軸方向に延在され前記内筒に接合されている伝熱壁と、前記外筒と前記伝熱壁、及び前記内筒と前記伝熱壁と、を前記軸方向の間隙をあけて係止する係止部材と、前記外筒と前記伝熱壁、及び前記内筒と前記伝熱壁と、を接合するろう材と、を有する。
【0009】
この熱交換器では、内筒の内部を流れる流体(「第一流体」とする)と、内筒と外筒の空隙を流れる流体(「第二流体」とする)と、で熱交換される。内筒の内部では伝熱壁が内筒に接合されているので、伝熱壁により、第二流体の熱を第一流体に伝えることができる。
【0010】
係止部材は、外筒と伝熱壁、及び内筒と伝熱壁と、を内筒の軸方向の間隙をあけて係止している。したがって、熱交換器の製造工程において、ろう付け時、すなわちろう材を加熱して外筒と伝熱壁、及び内筒と伝熱壁と、を接合するときに、外筒と伝熱壁、及び内筒と伝熱壁とはこの間隙の範囲で相対移動が許容される。加熱時の、外筒と伝熱壁、及び内筒と伝熱壁との位置ズレを吸収しつつ、ろう材により、外筒と伝熱壁、及び内筒と伝熱壁と、を接合できるので、外筒、内筒及び伝熱壁の変形や、ろう材の剥離を抑制でき、熱交換器の品質低下を抑制できる。
(【0011】以降は省略されています)
この特許をJ-PlatPat(特許庁公式サイト)で参照する
関連特許
株式会社豊田中央研究所
光合波器
今日
株式会社豊田中央研究所
オイルポンプ
今日
株式会社豊田中央研究所
排ガス浄化触媒
今日
株式会社豊田中央研究所
プラズマCVD装置
今日
株式会社豊田中央研究所
精錬方法および精錬装置
今日
株式会社豊田中央研究所
光フェーズドアレイシステム
今日
株式会社豊田中央研究所
熱交換器及び熱交換器製造方法
今日
株式会社豊田中央研究所
積層造形物および積層造形方法
今日
株式会社豊田中央研究所
積層造形物およびその製造方法
今日
株式会社豊田中央研究所
光検波装置に用いられる光合波器
今日
株式会社豊田中央研究所
半導体装置および半導体装置の製造方法
今日
株式会社豊田中央研究所
分離方法、分離装置及び電極合材の製造方法
今日
株式会社豊田中央研究所
磁性部材とその製造方法および積層造形用粉末
今日
株式会社豊田中央研究所
アクリル酸プラズマ重合膜およびその製造方法
今日
ダイハツ工業株式会社
樹脂製アウタパネル部材
1日前
株式会社豊田中央研究所
地図作成装置、地図作成方法及び地図作成プログラム
1日前
株式会社豊田中央研究所
距離認識制御システム、電磁波信号発振装置、距離認識制御プログラム
今日
株式会社豊田中央研究所
路面画像作成装置、路面画像作成方法、およびコンピュータプログラム
今日
株式会社豊田中央研究所
電力供給システム及び電力供給システム内の燃料電池と二次電池の電力分配制御方法
今日
トヨタ自動車株式会社
空間評価装置
今日
株式会社豊田中央研究所
乳酸溶液の製造方法、乳酸誘導体の製造方法、乳酸溶液の製造システム、及び炭素系吸着剤組成物
今日
株式会社豊田中央研究所
リサイクル可能なポリシリルエーテル樹脂、その製造方法、及び、そのポリシリルエーテル樹脂の分解による原料化合物の製造方法
今日
個人
排熱回収装置
1か月前
個人
熱交換装置
4か月前
ホーコス株式会社
熱交換ユニット
8か月前
三恵技研工業株式会社
熱交換器
6か月前
三恵技研工業株式会社
熱交換器
6か月前
住友精密工業株式会社
熱交換器
11か月前
株式会社パイオラックス
熱交換器
8か月前
アンリツ株式会社
検査装置
5か月前
アンリツ株式会社
検査装置
5か月前
日産自動車株式会社
熱交換器
7か月前
株式会社ティラド
ラジエータ
8か月前
新光電気工業株式会社
蓄熱装置
22日前
個人
熱交換器
10か月前
スズキ株式会社
熱交換器
11か月前
続きを見る
他の特許を見る