TOP
|
特許
|
意匠
|
商標
特許ウォッチ
Twitter
他の特許を見る
公開番号
2025145330
公報種別
公開特許公報(A)
公開日
2025-10-03
出願番号
2024045446
出願日
2024-03-21
発明の名称
分離方法、分離装置及び電極合材の製造方法
出願人
株式会社豊田中央研究所
代理人
弁理士法人アイテック国際特許事務所
主分類
H01M
10/54 20060101AFI20250926BHJP(基本的電気素子)
要約
【課題】集電体と電極合材とを分離する処理を複数の電極に対して同時に行う際の処理効率を高める。
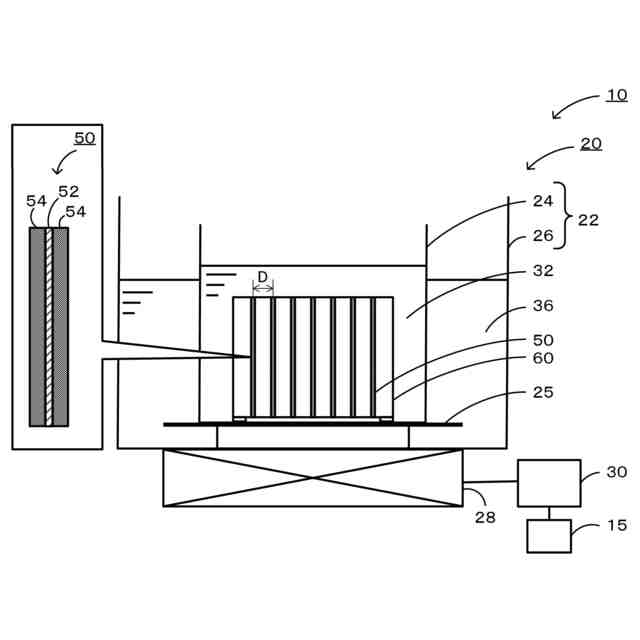
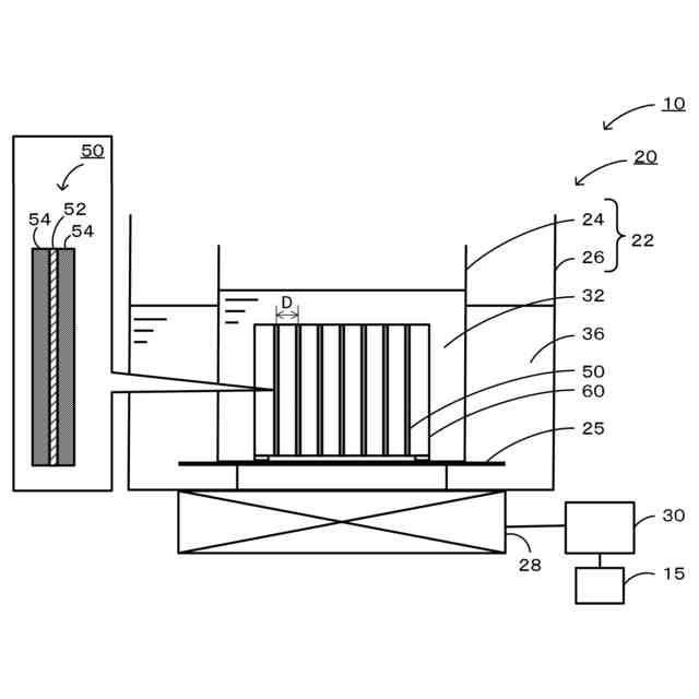
【解決手段】分離方法は、集電体と集電体上に形成された電極合材とを備えた処理対象電極を超音波処理して集電体と電極合材とを分離する分離工程を含み、分離工程では、複数の処理対象電極を処理液に浸漬させた状態で、超音波の周波数をスイープさせ、複数の処理対象電極の電極間隔を超音波の基本周波数における半波長よりも長くなるように保持して超音波処理を行うものである。
【選択図】図4
特許請求の範囲
【請求項1】
集電体と前記集電体上に形成された電極合材とを備えた処理対象電極を超音波処理して前記集電体と前記電極合材とを分離する分離工程を含み、
前記分離工程では、複数の前記処理対象電極を処理液に浸漬させた状態で、超音波の周波数をスイープさせ、前記複数の処理対象電極の電極間隔を超音波の基本周波数における半波長よりも長くなるように保持して前記超音波処理を行う、
分離方法。
続きを表示(約 1,100 文字)
【請求項2】
前記電極間隔をD[mm]とし、前記半波長をH[mm]としたときに、H/Dの値が0.2以上0.9以下である、請求項1に記載の分離方法。
【請求項3】
前記電極間隔は、1mm以上50mm以下である、請求項1又は2に記載の分離方法。
【請求項4】
複数の前記処理対象電極を治具に固定して前記電極間隔を保持する、請求項1又は2に記載の分離方法。
【請求項5】
前記治具を動かしながら前記超音波処理を行う、請求項4に記載の分離方法。
【請求項6】
前記基本周波数を80kHz以上200kHz以下とする、請求項1又は2に記載の分離方法。
【請求項7】
10秒以上10分以内の範囲で前記超音波処理を行う、請求項1又は2に記載の分離方法。
【請求項8】
下記(1)~(6)のいずれか1以上を満たす、請求項1又は2に記載の分離方法。
(1)前記集電体から前記電極合材を除去した除去率が95%以上となるように前記超音波処理を行う。
(2)前記処理液として水系の処理液を用いる。
(3)基本周波数を中心に±3kHz以内のスイープ幅で前記スイープを行う。
(4)500スイープサイクル/秒以上のスイープレートで前記スイープを行う。
(5)前記集電体と前記電極合材との接触面積の合計をA[cm
2
]とし、超音波の出力をB[W]としたときに、B/Aで表される出力密度が10W/cm
2
以下となるように前記超音波処理を行う。
(6)非加熱環境下で前記超音波処理を行う。
【請求項9】
集電体と前記集電体上に形成された電極合材とを備えた処理対象電極を超音波処理して前記集電体と前記電極合材とを分離する分離部と、
複数の前記処理対象電極を処理液に浸漬させた状態で、超音波の周波数をスイープさせ、前記複数の処理対象電極の電極間隔を超音波の基本周波数における半波長よりも長くなるように保持して前記超音波処理を行うように前記分離部を制御する制御部と、
を備えた分離装置。
【請求項10】
集電体と前記集電体上に形成された電極合材とを備えた処理対象電極を超音波処理して前記集電体と前記電極合材とを分離する分離工程を含み、
前記分離工程では、複数の前記処理対象電極を処理液に浸漬させた状態で、超音波の周波数をスイープさせ、前記複数の処理対象電極の電極間隔を超音波の基本周波数における半波長よりも長くなるように保持して前記超音波処理を行い、
前記分離した電極合材を回収して電極合材を得る、
電極合材の製造方法。
発明の詳細な説明
【技術分野】
【0001】
本開示は、分離方法、分離装置及び電極合材の製造方法に関する。
続きを表示(約 2,000 文字)
【背景技術】
【0002】
従来、電池のリサイクルにあたり集電体と電極合材とを分離させる手法として、例えば、水、アルコール、ケトンなどの極性溶媒に電池の小片を浸漬し、撹拌や超音波処理などの機械的かき混ぜを約30分~約5時間行う方法や(特許文献1)、超音波電極の前面における電力密度が50W/cm
2
以上となる条件で電極シートを超音波処理する方法(特許文献2)、正極をNMPで50℃で6時間浸漬した後、超音波処理とスクラッピングを行う方法(非特許文献1)、正極の洗浄液にNMPを用い、70℃、240Wの条件で超音波処理を90分間行う方法(非特許文献2)、電極を2~12mmに破砕し、40Hz、100Wの条件で超音波処理する方法(非特許文献3)、などが提案されている。しかしながら、上述した手法では、集電体から電極合材を除去できたとしても集電体が損傷したり、あるいは、集電体の損傷が抑制されたとしても集電体に電極合材が残存したりすることがあった。これにより、分離後の電極合材に集電体成分が混入したり、分離後の集電体に電極合材成分が混入したりすることがあった。また、長時間の処理が必要であったり、破砕などの前処理が必要であったりするなど、処理効率が低いことがあった。そこで、本発明者らは、これまでに、電極に対して、水中で、超音波の周波数をスイープさせながら超音波処理を行うことを提案している(特許文献3)。この手法では、集電体と電極合材とを、効率よく高精度に分離できる。
【先行技術文献】
【特許文献】
【0003】
特許第6828214号
国際公開第2021/152302号パンフレット
特開2023-102744号公報
【非特許文献】
【0004】
H. Gao et al., ACS Appl. Mater. Interfaces 12, 2020, 51546-51554.
L.-P. He et al., Waste Management 46, 2015, 523-528.
J. Li et al., Chemosphere 77, 2009, 1132-1136.
【発明の概要】
【発明が解決しようとする課題】
【0005】
しかしながら、特許文献3の手法では、集電体と電極合材とを効率よく高精度に分離できるが、複数の電極を同時に処理することは検討されておらず、複数の電極を同時に処理する際の処理効率を高めることが望まれていた。
【0006】
本開示はこのような課題を解決するためになされたものであり、集電体と電極合材とを分離する処理を複数の電極に対して同時に行う際の処理効率を高めることを主目的とする。
【課題を解決するための手段】
【0007】
上述した目的を達成するために鋭意研究したところ、本発明者らは、複数の電極を同時に処理する際、電極どうしの間隔が超音波の半波長よりも長くなる配置で超音波処理を行うと、処理効率をより高められることを見いだし、本開示を完成するに至った。
【0008】
即ち、本開示の分離方法は、
集電体と前記集電体上に形成された電極合材とを備えた処理対象電極を超音波処理して前記集電体と前記電極合材とを分離する分離工程を含み、
前記分離工程では、複数の前記処理対象電極を処理液に浸漬させた状態で、超音波の周波数をスイープさせ、前記複数の処理対象電極の電極間隔を超音波の基本周波数における半波長よりも長くなるように保持して前記超音波処理を行うものである。
【0009】
また、本開示の分離装置は、
集電体と前記集電体上に形成された電極合材とを備えた処理対象電極を超音波処理して前記集電体と前記電極合材とを分離する分離部と、
複数の前記処理対象電極を処理液に浸漬させた状態で、超音波の周波数をスイープさせ、前記複数の処理対象電極の電極間隔を超音波の基本周波数における半波長よりも長くなるように保持して前記超音波処理を行うように前記分離部を制御する制御部と、
を備えたものである。
【0010】
また、本開示の電極合材の製造方法は、
集電体と前記集電体上に形成された電極合材とを備えた処理対象電極を超音波処理して前記集電体と前記電極合材とを分離する分離工程を含み、
前記分離工程では、複数の前記処理対象電極を処理液に浸漬させた状態で、超音波の周波数をスイープさせ、前記複数の処理対象電極の電極間隔を超音波の基本周波数における半波長よりも長くなるように保持して前記超音波処理を行い、
前記分離した電極合材を回収して電極合材を得るものである。
【発明の効果】
(【0011】以降は省略されています)
この特許をJ-PlatPat(特許庁公式サイト)で参照する
関連特許
個人
安全なNAS電池
29日前
日本発條株式会社
積層体
5日前
東レ株式会社
多孔質炭素シート
24日前
個人
フリー型プラグ安全カバー
1か月前
ローム株式会社
半導体装置
24日前
ローム株式会社
半導体装置
3日前
個人
防雪防塵カバー
5日前
エイブリック株式会社
半導体装置
26日前
ローム株式会社
半導体装置
3日前
ローム株式会社
半導体装置
3日前
エイブリック株式会社
半導体装置
26日前
ローム株式会社
半導体装置
1日前
キヤノン株式会社
電子機器
24日前
株式会社GSユアサ
蓄電装置
1か月前
株式会社GSユアサ
蓄電装置
1日前
株式会社ホロン
冷陰極電子源
1日前
沖電気工業株式会社
アンテナ
1か月前
株式会社GSユアサ
蓄電装置
5日前
東レ株式会社
ガス拡散層の製造方法
24日前
個人
半導体パッケージ用ガラス基板
4日前
ニチコン株式会社
コンデンサ
17日前
ニチコン株式会社
コンデンサ
17日前
株式会社ティラド
面接触型熱交換器
16日前
オムロン株式会社
電磁継電器
1か月前
株式会社GSユアサ
蓄電装置
1か月前
太陽誘電株式会社
全固体電池
1日前
株式会社GSユアサ
蓄電装置
1か月前
日本特殊陶業株式会社
保持装置
5日前
日本特殊陶業株式会社
保持装置
3日前
TDK株式会社
電子部品
1日前
日本特殊陶業株式会社
保持装置
1日前
マクセル株式会社
配列用マスク
16日前
トヨタ自動車株式会社
二次電池
5日前
ローム株式会社
電子装置
5日前
日本特殊陶業株式会社
保持装置
1日前
株式会社ヨコオ
コネクタ
26日前
続きを見る
他の特許を見る