TOP
|
特許
|
意匠
|
商標
特許ウォッチ
Twitter
他の特許を見る
10個以上の画像は省略されています。
公開番号
2025135791
公報種別
公開特許公報(A)
公開日
2025-09-19
出願番号
2024033756
出願日
2024-03-06
発明の名称
会計情報解析方法、会計情報解析装置及び会計情報解析プログラム
出願人
国立大学法人 筑波大学
代理人
弁理士法人スズエ国際特許事務所
主分類
G06Q
40/12 20230101AFI20250911BHJP(計算;計数)
要約
【課題】適切に基準化した会計数値に基づいて、会計情報を解析する会計情報解析方法を提供することにある。
【解決手段】会計情報解析方法は、解析対象の会計情報を取得し、取得した解析対象の会計情報に含まれる財務三表に関する情報に基づいて、損益総計上額及び貸借総計上額を演算し、演算した損益総計上額又は貸借総計上額で、財務三表の会計数値を割ることで、会計数値を基準化する演算をし、機械学習モデルを用いて、会計数値が基準化された解析対象の会計情報を解析することを含み、損益総計上額は、当期純利益が0以上の場合、売上高、営業外収益及び特別収益の総和であり、当期純利益が負の場合、売上高、営業外収益、特別収益、及び当期純損失の総和であり、貸借総計上額は、剰余金が正の場合、資産に等しく、剰余金が0以下の場合、資産及び剰余金の絶対値の総和である。
【選択図】図7
特許請求の範囲
【請求項1】
解析対象の会計情報を取得し、
取得した前記解析対象の会計情報に含まれる財務三表に関する情報に基づいて、損益総計上額及び貸借総計上額を演算し、
演算した前記損益総計上額又は前記貸借総計上額で、前記財務三表の会計数値を割ることで、前記会計数値を基準化する演算をし、
機械学習モデルを用いて、前記会計数値が基準化された前記解析対象の会計情報を解析することを含み、
前記損益総計上額は、当期純利益が0以上の場合、売上高、営業外収益及び特別収益の総和であり、当期純利益が負の場合、売上高、営業外収益、特別収益、及び当期純損失の総和であり、
前記貸借総計上額は、剰余金が正の場合、資産に等しく、剰余金が0以下の場合、資産及び剰余金の絶対値の総和であること
を特徴とする会計情報解析方法。
続きを表示(約 1,600 文字)
【請求項2】
前記機械学習モデルは、基準化された前記会計数値を学習データとして、複数の会計情報を利益調整されていない純正会計を含む2つ以上の類型に分類するクラスタリングにより構築されたこと
を特徴とする請求項1に記載の会計情報解析方法。
【請求項3】
前記クラスタリングは、複数の会計情報を3つの類型に分類すること
を特徴とする請求項2に記載の会計情報解析方法。
【請求項4】
前記機械学習モデルは、基準化された前記会計数値を説明変数とし、不正会計であるか否かを目的変数として、教師あり機械学習により構築されたこと
を特徴とする請求項1に記載の会計情報解析方法。
【請求項5】
前記教師あり機械学習は、複数の勘定科目の基準化された前記会計数値の組合せに基づいて数値化した不正会計の違和感を説明変数として用いたこと
を特徴とする請求項4に記載の会計情報解析方法。
【請求項6】
前記不正会計の違和感は、純正会計群の中心からのマハラノビス距離で表したこと
を特徴とする請求項5に記載の会計情報解析方法。
【請求項7】
前記解析対象の会計情報の前記解析は、
前記解析対象の会計情報が不正会計であるとの判定に寄与したと予測される勘定科目の前記会計数値の予測寄与量を演算し、
演算した前記予測寄与量に基づいて、前記解析対象の会計情報の不正会計の類型を判断することを含むこと
を特徴とする請求項4に記載の会計情報解析方法。
【請求項8】
前記解析対象の会計情報の不正会計の類型の判断は、前記予測寄与量を説明変数として複数の不正会計の会計情報を複数の類型に分類するクラスタリングにより構築された機械学習モデルを用いたこと
を特徴とする請求項7に記載の会計情報解析方法。
【請求項9】
解析対象の会計情報を取得する取得部と、
前記取得部により取得された前記解析対象の会計情報に含まれる財務三表に関する情報に基づいて、損益総計上額及び貸借総計上額を演算する基準化基礎演算部と、
前記基準化基礎演算部により演算された前記損益総計上額又は前記貸借総計上額で、前記財務三表の会計数値を割ることで、前記会計数値を基準化する演算をする基準化演算部と、
機械学習モデルを用いて、前記基準化演算部により前記会計数値が基準化された前記解析対象の会計情報を解析する解析部とを備え、
前記損益総計上額は、当期純利益が0以上の場合、売上高、営業外収益及び特別収益の総和であり、当期純利益が負の場合、売上高、営業外収益、特別収益、及び当期純損失の総和であり、
前記貸借総計上額は、剰余金が正の場合、資産に等しく、剰余金が0以下の場合、資産及び剰余金の絶対値の総和であること
を特徴とする会計情報解析装置。
【請求項10】
コンピュータが、解析対象の会計情報を取得し、
前記コンピュータが、取得した前記解析対象の会計情報に含まれる財務三表に関する情報に基づいて、損益総計上額及び貸借総計上額を演算し、
前記コンピュータが、演算した前記損益総計上額又は前記貸借総計上額で、前記財務三表の会計数値を割ることで、前記会計数値を基準化する演算をし、
前記コンピュータが、機械学習モデルを用いて、前記会計数値が基準化された前記解析対象の会計情報を解析することを含むように機能させ、
前記損益総計上額は、当期純利益が0以上の場合、売上高、営業外収益及び特別収益の総和であり、当期純利益が負の場合、売上高、営業外収益、特別収益、及び当期純損失の総和であり、
前記貸借総計上額は、剰余金が正の場合、資産に等しく、剰余金が0以下の場合、資産及び剰余金の絶対値の総和であること
を特徴とする会計情報解析プログラム。
発明の詳細な説明
【技術分野】
【0001】
本発明は、会計情報を解析する会計情報解析方法、会計情報解析装置及び会計情報解析プログラムに関する。
続きを表示(約 2,300 文字)
【背景技術】
【0002】
一般に、会計情報を検出するために、会計数値を基準化することが知られている(特許文献1参照)。例えば、会計数値を基準化し、機械学習により構築されたモデルを用いて、不正会計を検出することが開示されている(特許文献1参照)。
【先行技術文献】
【特許文献】
【0003】
特開2023-044131号公報
【発明の概要】
【発明が解決しようとする課題】
【0004】
しかしながら、既知の会計数値を基準化する方法は、基準化された会計数値が他の会計情報の会計数値と同じ尺度で比較されていないことがある。したがって、このように基準化された会計数値では、会計情報を適切に解析できないことがある。
本発明の目的は、適切に基準化した会計数値に基づいて、会計情報を解析する会計情報解析方法を提供することにある。
【課題を解決するための手段】
【0005】
本発明の観点に従った会計情報解析方法は、解析対象の会計情報を取得し、取得した前記解析対象の会計情報に含まれる財務三表に関する情報に基づいて、損益総計上額及び貸借総計上額を演算し、演算した前記損益総計上額又は前記貸借総計上額で、前記財務三表の会計数値を割ることで、前記会計数値を基準化する演算をし、機械学習モデルを用いて、前記会計数値が基準化された前記解析対象の会計情報を解析することを含み、前記損益総計上額は、当期純利益が0以上の場合、売上高、営業外収益及び特別収益の総和であり、当期純利益が負の場合、売上高、営業外収益、特別収益、及び当期純損失の総和であり、前記貸借総計上額は、剰余金が正の場合、資産に等しく、剰余金が0以下の場合、資産及び剰余金の絶対値の総和である。
【発明の効果】
【0006】
本発明によれば、適切に基準化した会計数値に基づいて、会計情報を解析する会計情報解析方法を提供することができる。
【図面の簡単な説明】
【0007】
本発明の第1実施形態に係る会計情報解析装置の構成を示す構成図。
第1実施形態に係る損益総計上額による基準化を説明するための概念図。
第1実施形態に係る貸借総計上額による基準化を説明するための概念図。
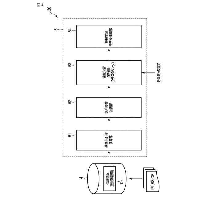
第1実施形態に係る機械学習装置の構成を示す構成図。
第1実施形態に係る利益分布の形状形成を想定したイメージ図。
第1実施形態に係る会計情報の分類を表す概略図。
第1実施形態に係る会計情報解析装置による会計情報を解析する手順を示すフロー図。
第1実施形態に係る会計情報解析装置による解析結果を表示する画面を示すイメージ図。
本発明の第2実施形態に係る会計情報解析装置の構成を示す構成図。
第2実施形態に係る機械学習装置の構成を示す構成図。
第2実施形態に係る会計情報の各類型群のマハラノビス距離を表すイメージ図。
第2実施形態に係る会計情報の各類型群のマハラノビス距離を表すイメージ図。
第2実施形態に係る違和感の演算に用いる勘定科目の組合せを評価するための簡易図。
第2実施形態に係る不正会計検知モデルを用いた解析による各説明変数の推定確率を示す簡易図。
第2実施形態に係る会計情報を解析した解析情報の一例を示す簡易図。
第2実施形態に係る会計情報解析装置による会計情報を解析する手順を示すフロー図。
第2実施形態に係る会計情報解析装置による解析結果を表示する画面を示すイメージ図。
本発明の第3実施形態に係る会計情報解析装置の構成を示す構成図。
第3実施形態に係る会計情報解析装置による会計情報を解析する手順を示すフロー図。
第3実施形態に係る会計情報解析装置による解析結果を表示する画面の一例を示すイメージ図。
【発明を実施するための形態】
【0008】
(第1実施形態)
図1は、本発明の第1実施形態に係る会計情報解析装置10の構成を示す構成図である。なお、図面における同一部分には同一符号を付して、重複する説明を適宜省略する。
【0009】
会計情報解析装置10は、対象の会計情報D1を解析する装置である。ここで、解析とは、分析、評価、検出、又は検知等を含むものとし、以降においても、これらの操作を総称して単に解析ということがある。具体的には、会計情報解析装置10は、対象の会計情報D1が利益調整されているか否か、又は、どのような利益調整がされているかを判断する。会計情報解析装置10は、主にコンピュータで構成される。
【0010】
コンピュータは、1つに限らず、複数でもよいし、ネットワークで構成されてもよい。コンピュータは、プログラムに記載された命令を実行することで、各種機能を実現する。また、コンピュータは、一時的に又は恒久的に情報を記憶する記憶媒体を含めてもよい。記憶媒体は、取り外し可能であってもよいし、携帯型でもよいし、クラウドのようにネットワークを介して記憶媒体が接続されてもよい。また、コンピュータは、データを入力するための入力部を含めてもよい。例えば、入力部は、キーボード、マウス、データの入力が可能なディスプレイ、各種メディアの読取部、又は、ネットワークと接続するためのネットワークインタフェース等である。
(【0011】以降は省略されています)
この特許をJ-PlatPat(特許庁公式サイト)で参照する
関連特許
国立大学法人 筑波大学
制振機構
3日前
国立大学法人 筑波大学
制振機構
3日前
国立大学法人 筑波大学
制振機構
3日前
国立大学法人 筑波大学
表面検査方法
4か月前
国立大学法人 筑波大学
超音波検査装置
29日前
国立大学法人 東京大学
せん妄判定方法
1か月前
国立大学法人 筑波大学
電力平準化装置
4か月前
国立大学法人 筑波大学
麹菌組織物の製造方法
1か月前
国立大学法人 筑波大学
測定装置、観察システム、及び測定方法
2か月前
国立大学法人 筑波大学
測定方法、測定装置、及び観察システム
2か月前
国立大学法人 筑波大学
フィラグリン遺伝子型決定法およびキット
2か月前
国立大学法人 筑波大学
微生物、植物成長補助剤、及び植物の生育方法
3か月前
国立大学法人 筑波大学
振り子装置、制振装置及び制振装置の設計方法
6か月前
国立大学法人 筑波大学
オンサイト参加システム及びオンサイト参加方法
2か月前
国立大学法人 筑波大学
補正装置、撮影装置、補正方法および撮影システム
1か月前
NTT株式会社
映像処理装置、方法及びプログラム
3日前
国立大学法人 筑波大学
紙及びその製造方法並びに紙用改質剤及びその製造方法
5か月前
NTT株式会社
情報処理装置、方法およびプログラム
21日前
NTT株式会社
推論装置、推論方法、及びプログラム
1か月前
NTT株式会社
データ解析装置、方法およびプログラム
21日前
国立大学法人 筑波大学
慣性力設定装置、慣性力設定システム及び慣性力設定方法
1か月前
国立大学法人 筑波大学
表面検査装置
3か月前
三菱重工業株式会社
水素吸蔵材料、水素放出・貯蔵システム
6か月前
NTT株式会社
情報処理装置、情報処理方法及びプログラム
1か月前
国立大学法人 筑波大学
反応性スパッタリング方法及び反応性スパッタリングシステム
22日前
国立大学法人 筑波大学
酸素飽和度イメージング内視鏡を用いた潰瘍性大腸炎活動性評価
5か月前
国立大学法人 筑波大学
会計情報解析方法、会計情報解析装置及び会計情報解析プログラム
13日前
株式会社サンワイズ
生体情報生成方法及び生体情報管理システム
5か月前
国立大学法人 筑波大学
糸状菌のスクリーニング方法及び糸状菌用培養条件のスクリーニング方法
4か月前
国立大学法人 筑波大学
判定装置、選択装置、判定システム、判定方法、選択方法及びプログラム
5か月前
一般財団法人日本気象協会
情報処理装置、情報処理方法、及びプログラム
3か月前
東洋紡株式会社
SARS-CoV-2検出用プローブセット及びその用途
6か月前
国立大学法人 筑波大学
ヒト化抗DNAM-1抗体
1か月前
ヤマト運輸株式会社
情報処理装置、プログラム、情報処理方法及びシステム
3か月前
東洋紡株式会社
マイコバクテリウム属鑑別用オリゴヌクレオチド及びその用途
1か月前
国立大学法人 筑波大学
液体熱電変換素子用電極、液体熱電変換素子、液体熱電変換素子用電極の製造方法
4か月前
続きを見る
他の特許を見る