TOP
|
特許
|
意匠
|
商標
特許ウォッチ
Twitter
他の特許を見る
10個以上の画像は省略されています。
公開番号
2025145764
公報種別
公開特許公報(A)
公開日
2025-10-03
出願番号
2024046136
出願日
2024-03-22
発明の名称
ロボット、発光装置、及び教示方法
出願人
株式会社東芝
代理人
弁理士法人iX
主分類
B25J
9/22 20060101AFI20250926BHJP(手工具;可搬型動力工具;手工具用の柄;作業場設備;マニプレータ)
要約
【課題】エンドエフェクタを、より容易に、より適切な姿勢に設定可能な、ロボット、発光装置、及び教示方法を提供する。
【解決手段】実施形態に係るロボットは、マニピュレータと、第1エンドエフェクタと、第1発光部と、第2発光部と、を備える。前記第1エンドエフェクタは、前記マニピュレータの先端部に取り付けられる。前記第1発光部は、前記先端部に取り付けられ、第1方向に第1ラインレーザを照射する。前記第2発光部は、前記先端部に取り付けられ、第2方向に第2ラインレーザを照射する。前記第1方向は、前記先端部から前記第1エンドエフェクタに向かう方向に平行な第1面において、前記第1エンドエフェクタの向きに対して傾斜している。前記第2方向は、前記第1方向に平行であり且つ前記第1面と交差する第2面において、前記第1エンドエフェクタの前記向きに対して傾斜している。
【選択図】図2
特許請求の範囲
【請求項1】
マニピュレータと、
前記マニピュレータの先端部に取り付けられる第1エンドエフェクタと、
前記先端部に取り付けられ、第1方向に第1ラインレーザを照射する第1発光部と、
前記先端部に取り付けられ、第2方向に第2ラインレーザを照射する第2発光部と、を備え、
前記第1方向は、前記先端部から前記第1エンドエフェクタに向かう方向に平行な第1面において、前記第1エンドエフェクタの向きに対して傾斜し、
前記第2方向は、前記第1方向に平行であり且つ前記第1面と交差する第2面において、前記第1エンドエフェクタの前記向きに対して傾斜している、ロボット。
続きを表示(約 1,500 文字)
【請求項2】
前記第1発光部及び前記第2発光部は、前記第1エンドエフェクタと対象物との位置関係が所定の状態にあるとき、前記第1ラインレーザと前記第2ラインレーザが所定の位置関係となるように、取り付けられる、請求項1に記載のロボット。
【請求項3】
前記第1エンドエフェクタは、撮像装置を含み、
前記第1発光部と前記第2発光部は、前記撮像装置の焦点が前記対象物の表面に位置し且つ前記撮像装置が前記対象物と正対するとき、前記第1ラインレーザと前記第2ラインレーザが重なるように、取り付けられる、請求項1に記載のロボット。
【請求項4】
前記第1発光部及び前記第2発光部は、前記第1エンドエフェクタの姿勢が教示される際、前記第1ラインレーザ及び前記第2ラインレーザを照射する、請求項1に記載のロボット。
【請求項5】
前記先端部に取り付けられる第2エンドエフェクタをさらに備え、
前記第1エンドエフェクタの姿勢が教示された後、前記第1エンドエフェクタと前記第2エンドエフェクタとの間の位置関係に基づいて、前記マニピュレータが動作される、請求項1に記載のロボット。
【請求項6】
前記第2エンドエフェクタは、超音波を送信し且つ反射波を検出可能な検出器を含む、請求項5に記載のロボット。
【請求項7】
前記第2ラインレーザの色は、前記第1ラインレーザの色と異なる、請求項1~6のいずれか1つに記載のロボット。
【請求項8】
マニピュレータの先端部に取り付けられる第1発光部及び第2発光部を備え、
前記第1発光部は、第1方向に第1ラインレーザを照射し、
前記第2発光部は、第2方向に第2ラインレーザを照射し、
前記第1方向は、前記先端部から、前記先端部に取り付けられる第1エンドエフェクタに向かう方向に平行な第1面において、前記第1エンドエフェクタの向きに対して傾斜し、
前記第2方向は、前記方向に平行であり且つ前記第1面と交差する第2面において、前記第1エンドエフェクタの前記向きに対して傾斜し、
前記第1発光部及び前記第2発光部は、前記第1エンドエフェクタと対象物との位置関係が所定の状態にあるとき、前記第1ラインレーザと前記第2ラインレーザが重なるように、取り付けられる、発光装置。
【請求項9】
マニピュレータと、
前記マニピュレータの先端部に取り付けられる第1エンドエフェクタと、
前記先端部に取り付けられ、前記先端部から前記第1エンドエフェクタに向かう方向に平行な第1面において前記第1エンドエフェクタの向きに対して傾斜した第1方向に、第1ラインレーザを照射する第1発光部と、
前記先端部に取り付けられ、前記方向に平行であり且つ前記第1面に垂直な第2面において前記第1エンドエフェクタの前記向きに対して傾斜した第2方向に、第2ラインレーザを照射する第2発光部と、を含むロボットへの教示方法であって、
対象物の表面に、前記第1ラインレーザと前記第2ラインレーザを照射させ、
前記第1ラインレーザと前記第2ラインレーザが所定の位置関係にあるときの前記第1エンドエフェクタの姿勢を、前記ロボットに教示する、教示方法。
【請求項10】
前記第1発光部及び前記第2発光部は、前記第1エンドエフェクタと前記対象物との位置関係が所定の状態にあるとき、前記第1ラインレーザと前記第2ラインレーザが所定の位置関係となるように、取り付けられる、請求項9に記載の教示方法。
(【請求項11】以降は省略されています)
発明の詳細な説明
【技術分野】
【0001】
本発明の実施形態は、ロボット、発光装置、及び教示方法に関する。
続きを表示(約 2,100 文字)
【背景技術】
【0002】
自律的に動作可能なロボットがある。このロボットについて、適切な姿勢を容易に設定できる技術が求められている。
【先行技術文献】
【特許文献】
【0003】
特許第5239100号公報
【発明の概要】
【発明が解決しようとする課題】
【0004】
本発明の実施形態が解決しようとする課題は、エンドエフェクタを、より容易に、より適切な姿勢に設定可能な、ロボット、発光装置、及び教示方法を提供することである。
【課題を解決するための手段】
【0005】
実施形態に係るロボットは、マニピュレータと、第1エンドエフェクタと、第1発光部と、第2発光部と、を備える。前記第1エンドエフェクタは、前記マニピュレータの先端部に取り付けられる。前記第1発光部は、前記先端部に取り付けられ、第1方向に第1ラインレーザを照射する。前記第2発光部は、前記先端部に取り付けられ、第2方向に第2ラインレーザを照射する。前記第1方向は、前記先端部から前記第1エンドエフェクタに向かう方向に平行な第1面において、前記第1エンドエフェクタの向きに対して傾斜している。前記第2方向は、前記第1方向に平行であり且つ前記第1面と交差する第2面において、前記第1エンドエフェクタの前記向きに対して傾斜している。
【図面の簡単な説明】
【0006】
図1は、実施形態に係るロボットシステムを示す模式図である。
図2は、エンドエフェクタを示す斜視図である。
図3は、エンドエフェクタを示す側面図である。
図4は、エンドエフェクタを示す側面図である。
図5は、ラインレーザを示す模式図である。
図6(a)及び図6(b)は、ラインレーザを示す模式図である。
図7(a)及び図7(b)は、ラインレーザを示す模式図である。
図8(a)及び図8(b)は、ラインレーザを示す模式図である。
図9は、実施形態に係る教示方法を示すフローチャートである。
図10は、実施形態に係る教示方法の具体例を示すフローチャートである。
図11は、検出器及び接合体の構造を示す模式図である。
図12(a)~図12(c)は、検出器の動作を説明するための模式図である。
図13は、検出器の姿勢の教示方法を示すフローチャートである。
図14は、探査により得られた強度データを例示する模式図である。
図15(a)~図15(c)は、強度データを処理して得られた反射波の強度分布を示す画像の一例である。
図16は、特定された溶接部を例示する模式図である。
図17(a)~図17(c)は、強度データを処理して得られた反射波の強度分布を示す画像の別の一例である。
図18は、実施形態に係るロボットシステムの動作を示すフローチャートである。
図19は、実施形態に係るロボットシステムによる検査を示すフローチャートである。
図20は、実施形態に係るロボットシステムの動作を示すフローチャートである。
図21は、ハードウェア構成を表す模式図である。
【発明を実施するための形態】
【0007】
以下に、本発明の各実施形態について図面を参照しつつ説明する。図面は模式的または概念的なものであり、各部分の厚みと幅との関係、部分間の大きさの比率などは、必ずしも現実のものと同一とは限らない。また、同じ部分を表す場合であっても、図面により互いの寸法や比率が異なって表される場合もある。本願明細書と各図において、既に説明したものと同様の要素には同一の符号を付して詳細な説明は適宜省略する。
【0008】
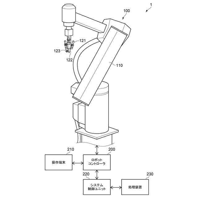
図1は、実施形態に係るロボットシステムを示す模式図である。
図1に示すように、実施形態に係るロボットシステム1は、ロボット100、ロボットコントローラ200、操作端末210、システム制御ユニット220、及び処理装置230を含む。
【0009】
ロボットコントローラ200は、ロボット100の動作を制御する。ロボットコントローラ200は、制御回路やサーボ制御部、電源装置などを含む。ロボットコントローラ200は、予め記憶された動作プログラムに従って、ロボット100を動作させる。
【0010】
操作端末210は、ロボット100を操作するための端末装置である。操作端末210は、いわゆるティーチングペンダントである。操作端末210は、ロボットコントローラ200と接続され、ユーザからの動作プログラムの入力、ロボット100に関する設定の入力などを受け付ける。また、ユーザは、操作端末210を用いて、教示データの変更、修正、又は新規作成などを行える。教示データとは、ロボット100の動作をロボット100に教示するためのデータである。
(【0011】以降は省略されています)
この特許をJ-PlatPat(特許庁公式サイト)で参照する
関連特許
株式会社東芝
固定子
2か月前
株式会社東芝
センサ
2か月前
株式会社東芝
端子台
7日前
株式会社東芝
センサ
1か月前
株式会社東芝
センサ
1か月前
株式会社東芝
モータ
1か月前
株式会社東芝
電子装置
20日前
株式会社東芝
電子回路
16日前
株式会社東芝
電子装置
1か月前
株式会社東芝
金型構造
1か月前
株式会社東芝
除去装置
今日
株式会社東芝
ドア構造
2か月前
株式会社東芝
吸音装置
1か月前
株式会社東芝
半導体装置
20日前
株式会社東芝
半導体装置
1か月前
株式会社東芝
半導体装置
20日前
株式会社東芝
半導体装置
20日前
株式会社東芝
ラック装置
2か月前
株式会社東芝
高周波回路
16日前
株式会社東芝
真空バルブ
15日前
株式会社東芝
半導体装置
16日前
株式会社東芝
半導体装置
16日前
株式会社東芝
半導体装置
1か月前
株式会社東芝
半導体装置
1か月前
株式会社東芝
半導体装置
16日前
株式会社東芝
電動送風機
2か月前
株式会社東芝
半導体装置
1か月前
株式会社東芝
半導体装置
16日前
株式会社東芝
半導体装置
1か月前
株式会社東芝
半導体装置
22日前
株式会社東芝
半導体装置
1か月前
株式会社東芝
粒子加速器
1か月前
株式会社東芝
半導体装置
1か月前
株式会社東芝
半導体装置
23日前
株式会社東芝
半導体装置
21日前
株式会社東芝
半導体装置
22日前
続きを見る
他の特許を見る